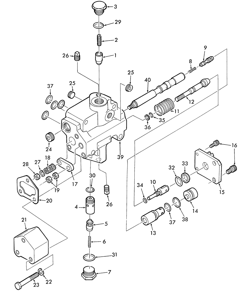
Запчасти Case IH DX23 (07.06) - HPL CONTROL VALVE ASSEMBLY (07) - HYDRAULIC SYSTEM

Схема запчастей Case IH DX23 - (07.06) - HPL CONTROL VALVE ASSEMBLY (07) - HYDRAULIC SYSTEM
39
16
18
23
11
35
14
12
25
37
2
9
1
8
33
13
15
26
36
17
26
22
21
19
20
24
6
28
7
3
40
31
27
34
25
30
37
5
38
29
10
4
32
FIT
1:1
100%

Артикул

Название

Примечание

Количество

1

SBA340015920

CONTROL VALVE

HPL, Controls Rear 3-Point Lift

1шт.

1a

SBA340292470

HYDRAULIC VALVE

Unload

1шт.

2

SBA340293574

SPRING

1шт.

3

SBA340293343

PLUG

1шт.

4

SBA340293344

VALVE SEAT

Check

1шт.

5

SBA340293345

HYDRAULIC VALVE

Check

1шт.

6

SBA340292440

SPRING

1шт.

7

SBA340293346

PLUG

1шт.

8

SBA340293265

SPRING

1шт.

9

SBA340293266

SPOOL

Bypass

1шт.

10

SBA340293347

PISTON SWIVEL HEAD

SWIVEL HEAD PISTON Spool

1шт.

11

SBA340292360

SPRING

1шт.

12

SBA340292350

HYDRAULIC VALVE

Poppet

1шт.

13

SBA340293662

SEAT/SLOT

1шт.

14

SBA340293663

SLEEVE

1шт.

15

SBA340293664

BRACKET

1шт.

16

SBA340293670

SCREW

4шт.

17

SBA340293665

PLATE

1шт.

19

9706690

NUT,M8 x 1.25, Cl 8

2шт.

20

SBA340293666

O-RING

1шт.

21

SBA340293667

DUST CAP

1шт.

23

SBA340293591

BOLT

3шт.

24

SBA064400030

PLUG

1шт.

25

SBA064400020

PLUG

2шт.

26

SBA064500010

PLUG

2шт.

28

SBA340293567

NUT

1шт.

28a

SBA340293669

SEAL KIT

1шт.

29

SBA052110150

O-RING

1шт.

30

SBA052110120

O-RING

1шт.

31

SBA052110200

O-RING,2.4mm Thk x 19.8mm ID, 90 Duro

1шт.

32

9672467

O-RING,0.103" Thk x 0.549" ID, -113, Cl 5, 75 Duro

1шт.

33

SBA340292000

WIPER

Wiper

1шт.

34

86512844

O-RING,0.07" Thk x 0.239" ID, -10, Cl 6, 90 Duro

1шт.

35

SBA052100070

O-RING

1шт.

36

SBA340292340

RING

Back Up

1шт.

37

SBA052110140

O-RING

5шт.

38

SBA052100160

O-RING

1шт.

39

NSS

NOT SOLD SEPARAT

Housing

1шт.

40

NSS

NOT SOLD SEPARAT

Spool

1шт.

Выбрано товаров: 39