Запчасти Case IH DX24 (01.11) - WATER PUMP & FAN (01) - ENGINE

Схема запчастей Case IH DX24 - (01.11) - WATER PUMP & FAN (01) - ENGINE
18
5
7
8
8
19
3
15
13
4
17
11
2
9
16
6
10
14
20
12
15
FIT
1:1
100%

Артикул

Название

Примечание

Количество

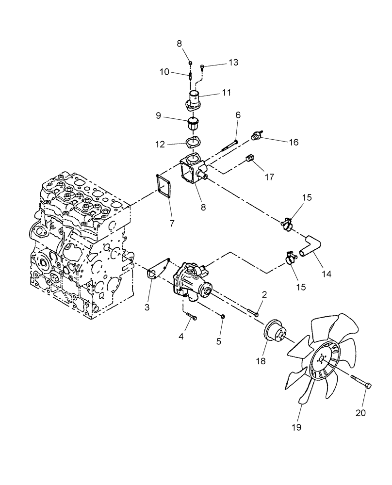
1

SBA145017920

WATER PUMP

1шт.

2

SBA011310630

BOLT

M6 x 30

2шт.

3

SBA145996830

GASKET

1шт.

4

SBA011310635

CAPTIVE WASHER SCREW,Hex, M6 x 35, Cl 8.8

4шт.

5

9804276

FLANGE NUT,Hex, M6 x 1, Cl 8

2шт.

6

SBA011310660

BOLT

M6 x 60

4шт.

7

SBA145996840

GASKET

1шт.

8

SBA145216650

CASE

Thermostat

1шт.

9

SBA145206062

THERMOSTAT

1шт.

10

SBA012110620

STUD

1шт.

11

SBA145226510

COVER

1шт.

12

SBA145996850

GASKET

1шт.

13

120100

BOLT,M6 x 20mm, Cl 8.8

1шт.

14

SBA145536050

HOSE

1шт.

15

SBA067100022

HOSE CLAMP

2шт.

16

SBA385720011

SENSOR

Thermostat

1шт.

17

SBA064500030

PLUG,3/8"

1шт.

18

SBA145336490

PULLEY

Fan

1шт.

NOT INCLUDED IN ENGINE LONG BLOCK

1шт.

19

SBA145306811

FAN

Cooling

1шт.

NOT INCLUDED IN ENGINE LONG BLOCK

1шт.

20

SBA011310616

BOLT,M6 x 1 x 16, Cl 8.8

1шт.

NOT INCLUDED IN ENGINE LONG BLOCK

1шт.

Выбрано товаров: 23