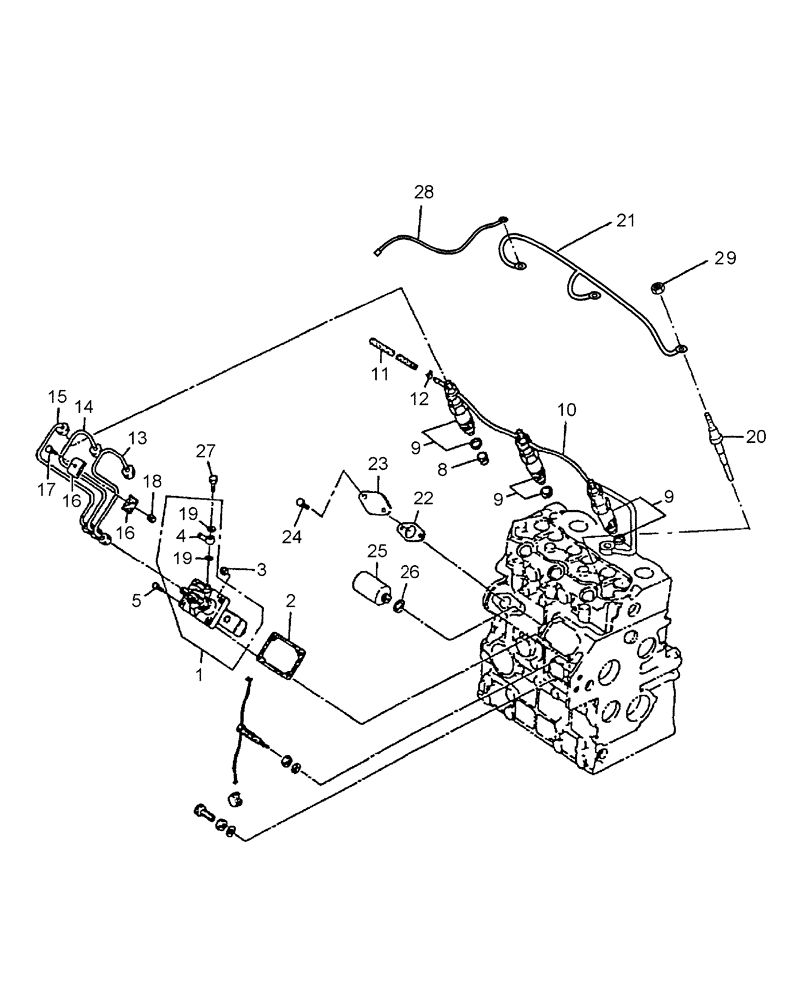
Запчасти Case IH DX24 (01.15) - INJECTION PUMP & LINES (01) - ENGINE

Схема запчастей Case IH DX24 - (01.15) - INJECTION PUMP & LINES (01) - ENGINE
15
24
28
21
19
4
9
10
23
5
17
3
1
9
18
14
26
20
11
27
13
8
22
9
16
12
16
2
25
19
29
FIT
1:1
100%

Артикул

Название

Примечание

Количество

1

SBA131017640

FUEL INJECTION PUMP

ASSY.

1шт.

SBA131017641R

REMAN-FUEL INJ PUMP

DX24 COMPACT TRACTOR (12/03-), Reman For New P/N SBA131017640

1шт.

SBA131017641C

CORE-FUEL INJ PUMP

Return Number

1шт.

2

SBA131426300

SHIM KIT

Shim

1шт.

3

9804276

FLANGE NUT,Hex, M6 x 1, Cl 8

2шт.

4

SBA131246130

HYD CONNECTOR

Nipple

1шт.

5

120100

BOLT,M6 x 20mm, Cl 8.8

2шт.

8

SBA131426200

SEAL

Cap

3шт.

9

SBA131406340

FUEL SYSTEM INJECTOR

3шт.

SBA131406340R

REMAN-INJECT NOZZLE

DX24 (12/03-)

3шт.

SBA131406340C

CORE-NOZZLE, INJECT

Return Number

1шт.

10

SBA131606770

RETURN PIPE

1шт.

11

SBA068209041

INJECTION PIPE

1шт.

12

SBA067200078

HOSE CLAMP

1шт.

13

SBA131507740

INJECTION PIPE

1шт.

14

SBA131507750

INJECTION PIPE

1шт.

15

SBA131507760

INJECTION PIPE

1шт.

16

SBA199106020

CLAMP

4шт.

17

86977786

BOLT,Hex, M6 x 1 x 25mm, Cl 8.8

2шт.

18

9804276

FLANGE NUT,Hex, M6 x 1, Cl 8

2шт.

19

SBA131426180

WASHER

2шт.

20

SBA185366220

GLOW PLUG

3шт.

21

SBA185376370

WIRE HARNESS

Connector

12шт.

22

SBA130996130

GASKET

1шт.

23

SBA165206640

COVER

1шт.

24

SBA011310616

BOLT,M6 x 1 x 16, Cl 8.8

2шт.

25

SBA185206083

SOLENOID

1шт.

26

SBA025100016

WASHER,16.4mm ID x 27mm OD x 2mm Thk

Seal

1шт.

27

SBA131236280

SCREW

M6x10

1шт.

28

SBA185606170

WIRE HARNESS

1шт.

29

SBA023100004

NUT

1шт.

Выбрано товаров: 31