Запчасти Case IH DX24 (03.12) - HYDROSTATIC TRANSMISSION CONTROLS (03) - TRANSMISSION

Схема запчастей Case IH DX24 - (03.12) - HYDROSTATIC TRANSMISSION CONTROLS (03) - TRANSMISSION
36
4
27
7
6
15
25
24
9
10
21
40
5
29
25
38
42
39
4
17
44
32
22
11
44
10
16
20
10
35
31
12
43
41
10
34
33
37
28
20
18
19
45
25
30
3
20
1
10
14
2
23
8
FIT
1:1
100%

Артикул

Название

Примечание

Количество

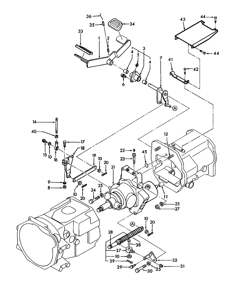
1

SBA358104530

PEDAL

1шт.

2

300868

ROLL PIN,6mm OD x 36mm L, Slotted

M6 x 36

1шт.

3

SBA358020660

SUPPORT

Includes: Ref. 4 & 5

1шт.

4

SBA398511550

DRIVE BUSHING

2шт.

5

SBA060610000

LUBE NIPPLE,M6 x .075

1шт.

6

SBA011510820

CAPTIVE WASHER SCREW,Hex, M8 x 20, G5

3шт.

7

SBA324350160

CONNECTING LINK

Shift

1шт.

8

SBA021500008

NUT,M8

1шт.

9

E630153S71

LOCK WASHER,M8

Spring

1шт.

10

86511315

WASHER,8.4mm ID x 16mm OD x 1.8mm Thk

4шт.

11

SBA322611130

COUPLING

1шт.

12

SBA012111050

STUD

Bolt

2шт.

14

SBA358511130

ROD

1шт.

15

SBA011510825

CAPTIVE WASHER SCREW,Hex, M8 x 25, G5

1шт.

16

SBA334800360

ROD

Tie, End - R

1шт.

17

412479

BOLT,Hex, M8 x 1.25 x 35mm, Cl 8.8

1шт.

18

SBA340103510

LEVER

Control

1шт.

19

SBA324540470

PLATE

Shifter

1шт.

20

SBA030102020

COTTER PIN

3шт.

21

SBA322800171

TRANSMISSION, HYDROS

HST ASSY.

1шт.

22

SBA064500010

PLUG

2шт.

23

SBA340671411

ADAPTER

2шт.

24

SBA011511050

BOLT,M10 x 50

1шт.

25

892-11010

LOCK WASHER,M10

2шт.

26

SBA030501025

BALL STUD,M10 x 25 L

BALL PIN

1шт.

27

SBA021000010

NUT

t

2шт.

28

SBA378910020

DAMPER

1шт.

29

SBA011510816

BOLT

M8 x 16

1шт.

30

SBA011511055

BOLT

1шт.

31

SBA022300008

NUT,M8

U

1шт.

32

SBA385250080

SUPPORT

1шт.

33

SBA398122030

RUBBER PAD

1шт.

33

SBA398122031

RUBBER PAD

1шт.

Used On & ASN or PIN # HDG300074 DX21 & HDG400147 DX24

1шт.

34

SBA398122030

RUBBER PAD

1шт.

34

SBA398122031

RUBBER PAD

1шт.

Used On & ASN or PIN # HDG300074 DX21 & HDG400147 DX24

1шт.

35

SBA030303536

PIN

Spring

1шт.

36

SBA398230020

RETAINING WIRE

1шт.

37

SBA334800370

SILENTBLOC

End

1шт.

38

SBA031310825

PIN

1шт.

39

SBA030102020

COTTER PIN

1шт.

40

9706690

NUT,M8 x 1.25, Cl 8

1шт.

41

SBA350851580

BRACKET

1шт.

42

SBA011510816

BOLT

M8 x 16

2шт.

43

SBA350765220

COVER

1шт.

43

SBA350765420

COVER

1шт.

Used On & ASN or PIN # HDG300075 DX21 & HDG400298 DX24

1шт.

44

SBA010800816

BOLT

M8 x 16

4шт.

45

SBA052100120

O-RING

1шт.

Выбрано товаров: 50