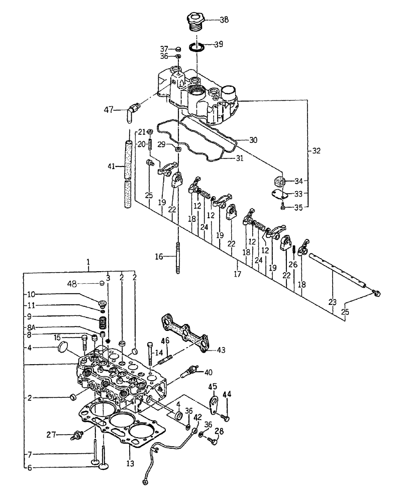
Запчасти Case IH DX24E (01.03) - CYLINDER HEAD (01) - ENGINE

Схема запчастей Case IH DX24E - (01.03) - CYLINDER HEAD (01) - ENGINE
48
20
12
8
12
42
17
2
4
1
31
30
18
36
10
22
22
40
11
15
47
19
12
18
33
2
7
36
3
34
9
18
4
32
14
24
6
2
24
8a
19
23
45
21
46
43
35
26
27
19
39
44
22
13
25
41
29
12
28
36
16
38
37
25
FIT
1:1
100%

Артикул

Название

Примечание

Количество

1

SBA111017730

CYLINDER HEAD

1шт.

1

SBA111017730R

REMAN-CYLINDER HEAD

DX18E PIN # HDG100000 & ABOVE (12/04-4/05), DX24E, PIN # HDG200000 & ABOVE, Both COMPACT TRACTOR

1шт.

1

SBA111017730C

CORE-CYLINDER HEAD

Return Number

1шт.

2

SBA064210018

PLUG

Sealing

6шт.

3

SBA064210015

CAP

Sealing

2шт.

4

SBA064210030

PLUG,30mm

2шт.

6

SBA120166240

STD INLET VALVE

STD ENGINE INLET VALVE

3шт.

7

SBA120176250

STD EXHAUST VALVE

STD ENGINE EXHAUST VALVE

3шт.

8

SBA120406050

SEAL

Exhuast

3шт.

8a

SBA120406070

SEAL

Intake

3шт.

9

SBA198216700

SPRING

6шт.

10

SBA120186080

RETAINER

6шт.

11

SBA120226070

RETAINER

12шт.

12

SBA199280280

CLUTCH

4шт.

13

SBA111147370

CYLINDER HEAD GASKET

0.4T

1шт.

13

SBA111147270

CYLINDER HEAD GASKET

1.2T

1шт.

13

SBA111147280

CYLINDER HEAD GASKET

1.3T

1шт.

14

SBA111136440

BOLT

11шт.

15

SBA111136450

BOLT

3шт.

16

SBA012109177

STUD

Bolt

3шт.

17

SBA120036691

ROCKER ARM

1шт.

18

SBA120356200

ROCKER ARM

Intake

3шт.

19

SBA120356210

ROCKER ARM

Exhaust

3шт.

20

SBA199486220

ADJUSTMENT SCREW

6шт.

21

SBA020109076

NUT

6шт.

22

SBA120346171

BRACKET

3шт.

23

SBA120316171

SHAFT

1шт.

24

SBA198216780

SPRING

2шт.

25

SBA064609006

PLUG

2шт.

26

9511931

ROLL PIN

M3 x 26

1шт.

27

SBA185246060

SENDER UNIT

Engine Oil Pressure

1шт.

28

SBA198486780

BANJO BOLT

2шт.

29

9804277

FLANGE NUT,Hex, M8 x 1.25, Cl 8

3шт.

30

SBA111996271

GASKET

1шт.

31

SBA052109061

O-RING

1шт.

32

SBA111027110

COVER

Head

1шт.

33

SBA110666050

DEFLECTOR

1шт.

34

SBA110666060

FILTER SCREEN

1шт.

35

378056

BOLT,Hex, M6 x 10mm, Cl 8.8

2шт.

36

SBA140996260

SEAL

7шт.

37

SBA024600008

NUT

3шт.

38

SBA198436010

FILLER CAP

1шт.

39

SBA052100400

O-RING,3.5mm Thk x 39.7mm ID, 70 Duro

1шт.

40

SBA385720011

SENSOR

1шт.

41

SBA068122560

TUBE

1шт.

42

SBA140606670

TUBE

1шт.

43

SBA135996541

GASKET

1шт.

44

SBA011510816

BOLT

M8 x 16

2шт.

45

SBA195816540

LIFTING EYE

2шт.

46

SBA012109177

STUD

Bolt

3шт.

47

SBA110986500

RIGID TUBE

1шт.

48

SBA120216040

CAP

6шт.

Выбрано товаров: 52