Запчасти Case IH DX24E (03.01) - FWD, MANUAL (03) - TRANSMISSION

Схема запчастей Case IH DX24E - (03.01) - FWD, MANUAL (03) - TRANSMISSION
2
14
13
17
20
6
21
11
1
10
24
4
15
3
9
19
22
16
18
3
5
23
25
7
12
8
27
26
FIT
1:1
100%

Артикул

Название

Примечание

Количество

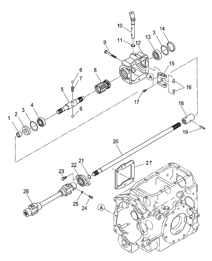
1

SBA511380370

SLEEVE

1шт.

2

SBA050209122

OIL SEAL

1шт.

3

SBA036500047

SNAP RING

2шт.

4

SBA040106204

ROLLER BEARING

1шт.

5

SBA322514260

DRIVE ASSY.

Shaft

1шт.

6

SBA048100011

BALL

2шт.

7

SBA398215990

SPRING

1шт.

8

SBA322342210

GEAR

Slide

1шт.

9

SBA011510870

BOLT,M8 x 70mm

6шт.

10

SBA324203140

SHIFT RAIL

1шт.

11

SBA052100110

O-RING,2.4mm Thk x 10.8mm ID

1шт.

12

SBA322118521

CASE

Transmission

1шт.

13

SBA040106303

BALL BEARING

1шт.

14

SBA398460580

PLUG

1шт.

15

SBA324412290

SHIFT, FORK

1шт.

16

SBA399612130

PIN

2шт.

17

SBA010709043

BOLT

2шт.

18

SBA322610241

COUPLING

1шт.

19

SBA030300632

SLOTTED PIN,M6 x 32

1шт.

20

SBA322514270

DRIVE ASSY.

Shaft

1шт.

21

SBA036100020

SNAP RING

1шт.

22

SBA498560070

CASING, BEARING ROLL

1шт.

23

SBA011510825

CAPTIVE WASHER SCREW,Hex, M8 x 25, G5

2шт.

24

SBA010109265

BOLT

1шт.

25

SBA027100008

WASHER

M8

1шт.

26

SBA398380920

JOINT

13-3/8" Overall Length

1шт.

27

SBA322991270

GASKET

USE LIQUID GASKET

1шт.

Выбрано товаров: 27