Запчасти Case IH DX24E (07.04.02) - CONTROL VALVE (07) - HYDRAULIC SYSTEM

Схема запчастей Case IH DX24E - (07.04.02) - CONTROL VALVE (07) - HYDRAULIC SYSTEM
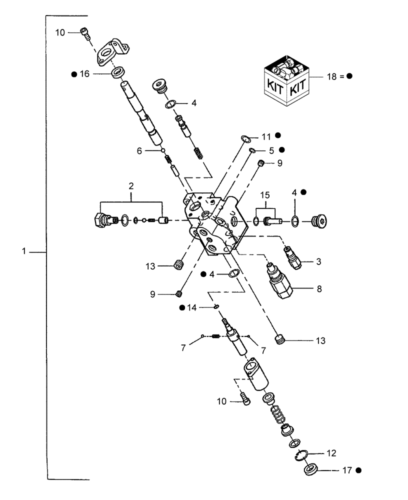
3
7
17
10
11
7
13
9
18
9
6
5
10
4
14
13
15
4
8
4
2
1
16
12
FIT
1:1
100%

Артикул

Название

Примечание

Количество

1

SBA340016502

CONTROL VALVE

Includes: Ref. 2 - 18

1шт.

2

SBA340980150

VALVE, CHECK

1шт.

3

SBA340980140

SAFETY VALVE

1шт.

4

SBA052100140

O-RING

O-Ring

3шт.

5

SBA052110070

O-RING

O-Ring

1шт.

6

SBA048100008

BALL

Steel

1шт.

7

SBA048100007

BALL

Steel

1шт.

8

SBA340980130

VALVE, PRESSURE RELI

EF Refer to Fig. 07.04.02 for Breakdown

1шт.

9

SBA064400010

PLUG

2шт.

10

SBA010700616

BOLT

M6 x 16

5шт.

11

SBA052110120

O-RING

O-Ring

3шт.

12

SBA036500030

SNAP RING

Snap Ring

1шт.

13

SBA064400020

PLUG

2шт.

14

SBA052410060

O-RING

O-Ring

1шт.

15

SBA340980190

REPAIR KIT

Power Beyond Poppet Refer to Figure Note

1шт.

16

SBA340980270

OIL SEAL

Seal, Oil

1шт.

17

SBA340980260

SEAL

Seal, Dust

1шт.

18

SBA340980250

SEAL KIT

Includes: Ref. 4,5,11,14,16 & 17

1шт.

Выбрано товаров: 18