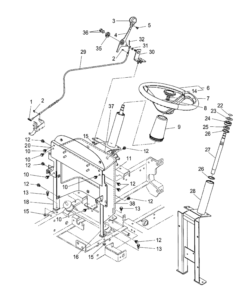
Запчасти Case IH DX25E (04.04.01) - STEERING & STEERING COLUMN USED ON & ABOVE PIN HDG110114 DX18E, HDG710101 DX22E, HDG210548 DX25E (04) - FRONT AXLE & STEERING

Схема запчастей Case IH DX25E - (04.04.01) - STEERING & STEERING COLUMN USED ON & ABOVE PIN HDG110114 DX18E, HDG710101 DX22E, HDG210548 DX25E (04) - FRONT AXLE & STEERING
28
29
10
13
11
23
2
35
10
12
13
9
26
7
15
12
2
8
13
16
3
24
15
18
22
36
10
30
14
37
4
31
1
12
15
10
5
26
10
32
20
38
10
27
12
6
12
25
12
FIT
1:1
100%

Артикул

Название

Примечание

Количество

1

SBA398114451

RUBBER BUSHING

1шт.

2

SBA036800004

SNAP RING

2шт.

3

SBA398181900

GRIP

1шт.

4

SBA312101121

LEVER

1шт.

4

SBA312101122

LEVER

1шт.

USED ON & ABOVE PIN # HDG110114-DX18E, HDG710101-DX22E,HDG210548-DX25E

1шт.

5

SBA015200408

SCREW

1шт.

6

SBA334300191

STEERING WHEEL

1шт.

7

SBA020800012

NUT

M12

1шт.

8

412123

LOCK WASHER,13.1mm ID x 21.1mm OD x 2.55mm Thk

1шт.

9

SBA334220030

STEERING COLUMN

1шт.

10

SBA010800814

BOLT

M8 x 14

4шт.

11

SBA310353420

PLATE

1шт.

12

SBA010800814

BOLT

M8 x 14

12шт.

13

SBA011510820

CAPTIVE WASHER SCREW,Hex, M8 x 20, G5

6шт.

14

SBA334320190

CAP

Cap

1шт.

14

SBA390101470

DECAL

Emblem

1шт.

15

9804277

FLANGE NUT,Hex, M8 x 1.25, Cl 8

4шт.

16

SBA350503140

BRACKET, SUPPORTING

1шт.

17

SBA027100010

WASHER

Spring

4шт.

18

SBA350503160

BRACKET, SUPPORTING

1шт.

20

SBA350851770

BRACKET, SUPPORTING

1шт.

22

370016

SNAP RING,M17, Ext

1шт.

23

SBA399211550

SPACER

1шт.

24

SBA398115510

RUBBER RING

1шт.

25

86629503

BALL BEARING,17mm ID x 35mm OD x 10mm W

1шт.

26

300645

SNAP RING,M42, Int

2шт.

27

SBA334110610

STEERING SHAFT

1шт.

28

SBA334451100

PLATE

Set

1шт.

29

SBA312070220

FLEXIBLE CABLE

Hand Throttle

1шт.

30

SBA312500851

BRACKET, SUPPORTING

1шт.

31

9824259

WASHER,6.4mm ID x 12mm OD x 1.6mm Thk

1шт.

32

SBA030102020

COTTER PIN

1шт.

35

SBA398212210

SPRING-DISC

2шт.

36

89706690

NUT,M8, Cl 8

2шт.

37

SBA398135570

FOAM

1шт.

38

SBA398135560

FOAM

1шт.

39

SBA378460840

COVER PLATE

Dust Control & Water Proof of Wire for Accelerator Lever

1шт.

Not Illustrated

1шт.

Выбрано товаров: 39