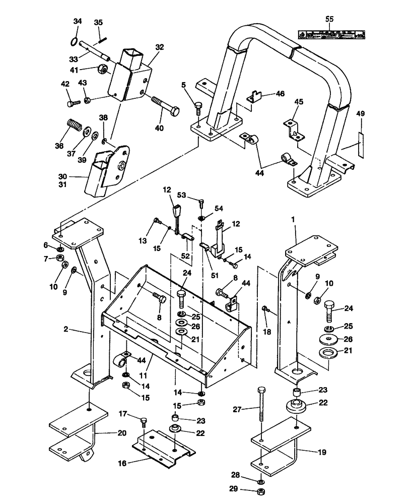
Запчасти Case IH DX26 (10.04) - ROLL BAR & RELATED PARTS (10) - OPERATORS PLATFORM/CAB

Схема запчастей Case IH DX26 - (10.04) - ROLL BAR & RELATED PARTS (10) - OPERATORS PLATFORM/CAB
32
43
12
7
17
10
55
45
16
40
19
23
35
24
20
26
14
5
1
42
34
26
27
38
21
52
24
49
25
41
44
25
38
30
33
46
44
8
51
53
37
21
39
13
28
14
11
6
14
15
12
54
29
15
23
2
15
9
9
31
8
22
10
15
22
18
44
FIT
1:1
100%

Артикул

Название

Примечание

Количество

1

SBA378307090

FRAME

LH

1шт.

2

SBA378307100

FRAME

RH

1шт.

5

86629541

BOLT,Hex, M12 x 1.75 x 40mm, Cl 8.8

8шт.

6

140046

BELLEVILLE WASHER,M12 Bolt Size x 27mm OD x 1.8mm Thk

8шт.

7

9706690

NUT,M8 x 1.25, Cl 8

8шт.

8

300389

BOLT,M12 x 1.75 x 35mm, Cl 8.8

4шт.

9

412123

LOCK WASHER,13.1mm ID x 21.1mm OD x 2.55mm Thk

4шт.

10

9706685

NUT,M12 x 1.75, Cl 8

4шт.

11

SBA378308600

FRAME

Toolbox

1шт.

12

SBA355850030

SEAT BELT

1шт.

13

SBA010311220

BOLT

M12 x 20

2шт.

14

412123

LOCK WASHER,13.1mm ID x 21.1mm OD x 2.55mm Thk

2шт.

15

9706685

NUT,M12 x 1.75, Cl 8

2шт.

16

SBA378350890

BRACKET

1шт.

17

SBA011511025

CAPTIVE WASHER SCREW,Hex, M10 x 25, G5

4шт.

18

SBA010800812

BOLT

M8 x 12

2шт.

19

SBA370601950

BRACKET

Stabilizer LH

1шт.

20

SBA370601960

BRACKET

Stabilizer RH

1шт.

21

SBA398115970

RUBBER RING

4шт.

22

SBA398115960

RUBBER RING

4шт.

23

SBA399234190

RIGID TUBE

4шт.

24

120091

SCREW,Hex, M16 x 60mm, Cl 8.8

4шт.

25

86729275

LOCK WASHER,5/8 0.634 CST ZND

4шт.

26

SBA399340180

WASHER

4шт.

27

15541930

BOLT,Hex, M12 x 1.25 x 130mm, Cl 10.9

2шт.

28

412123

LOCK WASHER,13.1mm ID x 21.1mm OD x 2.55mm Thk

2шт.

29

9706685

NUT,M12 x 1.75, Cl 8

2шт.

30

NS

NOT SERVICED

LH, W/HST

1шт.

31

NS

NOT SERVICED

RH, W/HST

1шт.

32

NS

NOT SERVICED

Upper, W/HST

1шт.

33

SBA399611920

PIN

W/HST

2шт.

34

SBA398214870

SPRING

W/HST

2шт.

35

SBA030309010

ROLL PIN,M5 x 40

W/HST

2шт.

36

SBA398214860

SPRING

W/HST

2шт.

37

SBA026100016

WASHER

M16, W/HST

2шт.

38

SBA036800012

SNAP RING

W/HST

2шт.

40

SBA010109506

BOLT

W/HST

2шт.

41

SBA022409003

NUT,U, M16 x 1.5, Cl 8

W/HST

2шт.

42

300383

BOLT,Hex, M10 x 1.5 x 16mm, Cl 8.8, Full Thd

W/HST

2шт.

43

100016

NUT,M10 x 1.5, Cl 8

w/HST

2шт.

44

SBA399112140

CLAMP

4шт.

45

SBA355761281

BRACKET

LH

1шт.

Use With SP1229985DS Rear Work Light

1шт.

46

SBA355761290

BRACKET

RH

1шт.

47

SP1229985DS

WORK LAMP

Rear, Includes: (1) Male Bullet, (1) 1/4" Ring Terminal & (1) Female Bullet (NOT SHOWN ON ART)

1шт.

48

SP4929405DS

SEALED BEAM UNIT

Light

1шт.

49

SBA385150260

DECAL

Reflector

2шт.

51

SBA399569020

MOUNTING PLATE

Seat Belt, LH

1шт.

52

SBA399569040

MOUNTING PLATE

Seat Belt, RH

1шт.

53

SBA011511025

CAPTIVE WASHER SCREW,Hex, M10 x 25, G5

2шт.

54

SBA026100010

WASHER

M10

2шт.

55

SBA390197531

DECAL

DANGER, TOP OF ROPS

1шт.

Выбрано товаров: 52