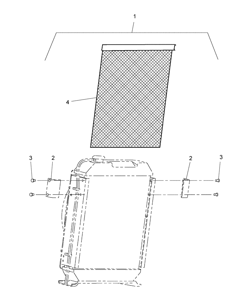
Запчасти Case IH DX29 (02.01.01) - RADIATOR SCREEN KIT - 87317547 (02) - ENGINE EQUIPMENT

Схема запчастей Case IH DX29 - (02.01.01) - RADIATOR SCREEN KIT - 87317547 (02) - ENGINE EQUIPMENT
3
2
3
1
2
4
FIT
1:1
100%

Артикул

Название

Примечание

Количество

1

87317547

KIT

Radiator Screen Includes: Ref. 2-4

1шт.

2

87317549

BRACKET

Mounting

2шт.

3

86977726

BOLT,Hex, M6 x 12mm, Cl 8.8

4шт.

4

86522915

SCREEN

Radiator

1шт.

Выбрано товаров: 4