Запчасти Case IH DX29 (07.09) - HPL CONTROLS (07) - HYDRAULIC SYSTEM

Схема запчастей Case IH DX29 - (07.09) - HPL CONTROLS (07) - HYDRAULIC SYSTEM
5
2
8
3
7
9
14
17
4
6
15
1
5
11
4
17
5
13
10
12
16
FIT
1:1
100%

Артикул

Название

Примечание

Количество

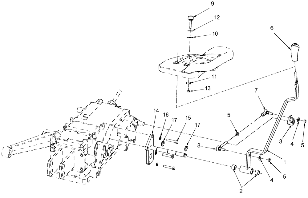
1

86519862

LEVER

HPL. Includes: Ref. 2

1шт.

2

86524680

BUSHING

2шт.

3

SBA340105860

LEVER

Control

1шт.

4

322358

BELLEVILLE WASHER,M8 Bolt Size x 18mm OD x 1.4mm Thk

2шт.

5

87307

JAM NUT,Jam, 5/16"-24, G2

3шт.

6

86524774

KNOB

1шт.

7

86519879

BALL JOINT,5/16" - 24 x 1-3/8" L

End, Female

1шт.

8

86519880

ROD

End, Male

1шт.

9

86506579

KNOB

HPL Stop, Fillister Hd, M6 x 1 x 35

1шт.

10

86508357

WASHER,.28" x .90" x .06" Thk, Nylon

1шт.

11

86532705

STOP

HPL Assy.

1шт.

12

76028

WASHER,9/32" x 1" x .06" Thk

Metal

1шт.

13

353308

NUT,M6 x 1.0, Cl 8

1шт.

14

86540877

LEVER

Pivot, RH

1шт.

15

386045

BOLT,Hex, M8 x 1.25 x 45mm, Cl 8.8

3шт.

16

322358

BELLEVILLE WASHER,M8 Bolt Size x 18mm OD x 1.4mm Thk

3шт.

17

1826919

SNAP RING

2шт.

Выбрано товаров: 17