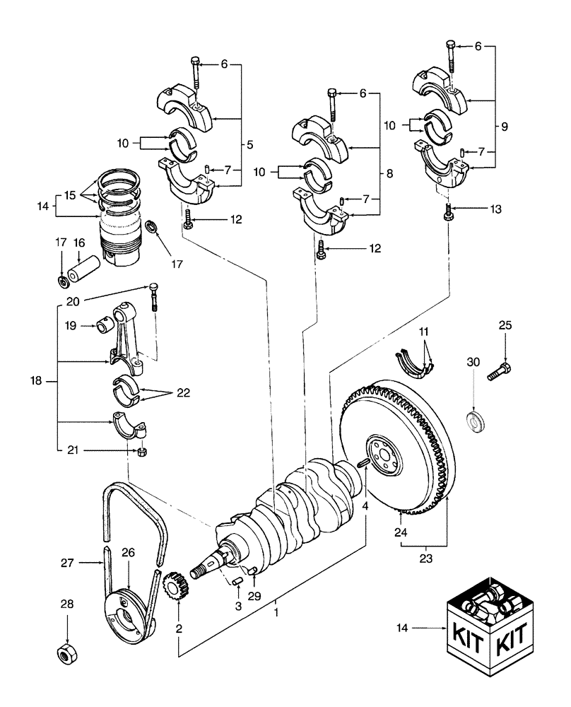
Запчасти Case IH DX29 (06D01) - CRANKSHAFT & PISTONS (01) - ENGINE

Схема запчастей Case IH DX29 - (06D01) - CRANKSHAFT & PISTONS (01) - ENGINE
2
29
27
25
4
7
16
17
10
18
12
13
7
24
14
15
14
26
9
23
30
28
1
17
20
3
6
6
8
12
19
22
6
10
10
11
7
5
21
FIT
1:1
100%

Артикул

Название

Примечание

Количество

1

SBA115256590

CRANKSHAFT

Assy., D25,DX25,D29,DX29 Includes: Ref. 2, 4 & 29

1шт.

1

SBA115256590R

REMAN-CRANKSHAFT

D25, DX25, Both PIN # HBA0001008 & ABOVE, D29 PIN # HBA0001022 & ABOVE, All (2/01-), DX29 HBA0000516 & ABOVE (11/00-), All CASE IH COMPACT TRACTOR, Assy

1шт.

1

SBA115256590C

CORE-CRANKSHAFT

Return Number

1шт.

1

SBA115256580

CRANKSHAFT

Assy., D33,DX33 Includes: Ref. 2, 4, & 29

1шт.

SBA115256950R

REMAN-CRANKSHAFT

D25 PIN # HBA0001008 & ABOVE (2/01-) , D33 PIN # HBA0001020 & ABOVE (2/01-), DX25, DX29 HBA0000516 & ABOVE (11/00-), D29 PIN # HBA0001022 & ABOVE (2/01-), DX33 HBA000501 TO (8/01-), Reman For New P/N SBA115256580

1шт.

SBA115256950C

CORE-CRANKSHAFT

Return Number

1шт.

2

SBA115276200

GEAR

1шт.

3

SBA034100508

KEY

1шт.

4

SBA030300816

PIN

Spring

1шт.

5

SBA110156161

HOLDER

Assy., D25,DX25,D29,DX29 Includes: Ref. 6 thru 7

1шт.

5

SBA110156171

HOLDER

Assy., D33,DX33 Includes: Ref. 6 thru 7

1шт.

6

SBA010109406

BOLT

6шт.

7

SBA030500612

DOWEL

Pin

6шт.

8

SBA110156141

HOLDER

Assy., D25,DX25,D29,DX29 Includes: Ref. 6 thru 7

1шт.

8

SBA110156181

HOLDER

Assy., D33,DX33 Includes: Ref. 6 thru 7

1шт.

9

SBA110156151

HOLDER

D25,DX25,D29,DX29 Includes: Ref. 6 thru 7

1шт.

9

SBA110156191

HOLDER

D33,DX33 Includes: Ref. 6 thru 7

1шт.

10

SBA198586040

BEARING LINER

Kit, STD, Liner, D25,DX25,D29,DX29

1шт.

(1) Includes: (3) Upper & (3) Lower Liner

1шт.

10

SBA198586044

BEARING LINER

Kit, 0.010 U/S, Liner, D25,DX25,D29,DX29

1шт.

(1) Includes: (3) Upper & (3) Lower Liner

1шт.

10

SBA198586047

LINER

Kit, 0.020 U/S, Liner, D25,DX25,D29,DX29

1шт.

(1) Includes: (3) Upper & (3) Lower Liner

1шт.

10

SBA198586050

LINER

Kit, Standard, Liner, D33,DX33

1шт.

(1) Includes: (3) Upper & (3) Lower Liner

1шт.

10

SBA198586054

KIT

0.010 U/S, Liner, D33,DX33

1шт.

(1) Includes: (3) Upper & (3) Lower Liner

1шт.

10

SBA198586057

KIT

0.020 U/S, Liner, D33,DX33

1шт.

(1) Includes: (3) Upper & (3) Lower Liner

1шт.

11

SBA199266190

THRUST WASHER

Washer, Thrust, D25,DX25,D29,DX29

2шт.

11

SBA199266200

THRUST WASHER

Washer, Thrust, D33,DX33

2шт.

12

SBA011511070

BOLT,M10 x 70

2шт.

13

SBA010700865

BOLT,M8 x 65mm

2шт.

14

SBA115017390

PISTON & RINGS KIT

Kit, Piston, Standard, D25,DX25,D29,DX29

3шт.

14

SBA115017400

PISTON & RINGS KIT

Kit, Piston, Standard, D33,DX33

3шт.

15

SBA115104080

SET OF RINGS

Ring Set, Standard

3шт.

16

SBA115326030

PISTON PIN,29mm OD

Pin, Piston, D25,DX25D,D29,DX29

3шт.

16

SBA115326220

PISTON PIN,33mm OD

Pin, Piston, D33,DX33

3шт.

17

SBA036500025

SNAP RING

Ring, Snap, D25,DX25,D29,DX29

6шт.

17

301642

SNAP RING,M28, Int

RING, SNAP, , D33, DX33 M28, Int

6шт.

18

SBA115026212

CONNECTING ROD

Rod Assy., Connecting, D25,D25,D29,DX29

3шт.

18

SBA115026212R

REMAN-CONNECTING ROD

D25 PIN # HBA0001008 & Above, D29 PIN # HBA0001022 & Above, Both (2/01-), DX29 HBA0000516 & Above (11/00-), DX25, All Case IH Compact Tractor, Rod Assy., Connecting

3шт.

18

SBA115026212C

Return Number

3шт.

18

SBA115026251

CONNECTING ROD

Rod Assy., D33,DX33 Includes: Ref. 19 thru 21

3шт.

SBA115026251R

REMAN-CONNECTING ROD

D25 PIN # HBA0001008 & ABOVE,D29 PIN # HBA0001022 & ABOVE,D33 PIN # HBA0001020 & ABOVE All (2/01-),DX29 HBA0000516 & ABOVE (11/00-),DX33 HBA000501 TO (8/01-),DX25

3шт.

SBA115026251C

CORE-ROD CONNECTING

Return Number

1шт.

19

SBA198517050

BUSHING

D25,DX25,D29,DX29

3шт.

19

SBA198517260

BUSHING

D33,DX33

3шт.

20

SBA115176140

BOLT

Connecting Rod

6шт.

21

SBA020109120

NUT

Rod

6шт.

22

SBA198517180

LINER

Standard, D25,DX25,D29,DX29

6шт.

22

SBA198517184

LINER

0.25 mm, D25,DX25,D29,DX29

6шт.

22

SBA198517187

LINER

0.50 mm, D25,DX25,D29,DX29

6шт.

22

SBA198517250

LINER

Standard, D33,DX33

6шт.

22

SBA198517254

LINER

0.25 mm, D33,DX33

6шт.

22

SBA198517257

LINER

0.50 mm, D33,DX33

6шт.

23

SBA115356960

ENGINE FLYWHEEL

Flywheel Assy., W/Single Clutch, D25,DX25,D29,DX29 Includes: Ref. 24

1шт.

23

SBA115356971

ENGINE FLYWHEEL

Flywheel Assy., W/Double Clutch, D25,DX25,D29,DX29 Includes: Ref. 24

1шт.

23

SBA115357071

ENGINE FLYWHEEL

Flywheel Assy., W/Single Clutch, D33,DX33 Includes: Ref. 24

1шт.

24

SBA115376040

RING GEAR

Gear

1шт.

25

SBA010109341

BOLT

6шт.

26

SBA115397780

PULLEY

D25,DX25,D29,DX29

1шт.

26

SBA115397790

PULLEY

D33,DX33

1шт.

27

86517954

V-BELT,0.50" W x 37.54" L

1шт.

28

SBA020109086

NUT

1шт.

29

SBA030509020

PIN

Dowel

1шт.

30

SBA040116001

BALL BEARING

Bearing, Pilot

1шт.

Выбрано товаров: 67