Запчасти Case IH DX29 (09E01) - INJECTION PUMP (02) - FUEL SYSTEM

Схема запчастей Case IH DX29 - (09E01) - INJECTION PUMP (02) - FUEL SYSTEM
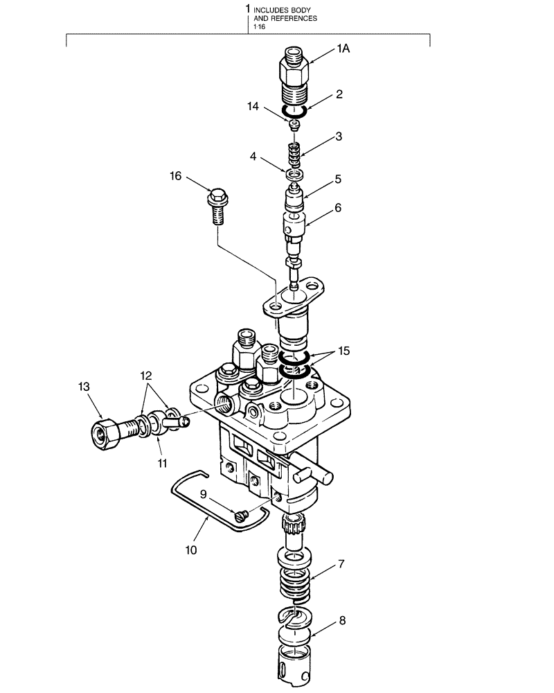
2
15
3
16
11
8
1
9
5
12
6
7
13
10
1a
4
14
FIT
1:1
100%

Артикул

Название

Примечание

Количество

1

SBA131017700

FUEL INJECTION PUMP

Injection Pump Assy. Includes: Body and Ref. 1A thru 16

1шт.

SBA131017701R

REMAN-INJECTION PUMP

D25 PIN # HBA0001008 & ABOVE , D29 PIN # HBA0001022 & ABOVE, D33 PIN # HBA0001020 & ABOVE, ALL (2/01-), DX25, DX29 HBA0000516 & ABOVE (11/00-), DX33 HBA000501 TO (8/03-), Reman for New P/N SBA131017700

1шт.

SBA131017701C

CORE-INJECTION PUMP

Return Number

1шт.

1a

NSS

NOT SOLD SEPARAT

Holder

3шт.

2

NSS

NOT SOLD SEPARAT

O-Ring

3шт.

3

NSS

NOT SOLD SEPARAT

Spring

3шт.

4

NSS

NOT SOLD SEPARAT

Gasket

3шт.

5

NSS

NOT SOLD SEPARAT

Delivery Valve Assy.

3шт.

6

NSS

NOT SOLD SEPARAT

Plunger

3шт.

7

NSS

NOT SOLD SEPARAT

Spring

3шт.

8

NSS

NOT SOLD SEPARAT

Plate Kit

1шт.

9

NSS

NOT SOLD SEPARAT

Pin

3шт.

10

NSS

NOT SOLD SEPARAT

Ring, Snap

1шт.

11

NSS

NOT SOLD SEPARAT

Fitting, Banjo

1шт.

12

NSS

NOT SOLD SEPARAT

Gasket

2шт.

13

NSS

NOT SOLD SEPARAT

Bolt

1шт.

14

NSS

NOT SOLD SEPARAT

Seat, Spring

3шт.

15

NSS

NOT SOLD SEPARAT

O-Ring

6шт.

16

NSS

NOT SOLD SEPARAT

Bolt

6шт.

Выбрано товаров: 19