Запчасти Case IH DX29 (05F02) - HYD. PIPING W/HST (07) - HYDRAULIC SYSTEMS

Схема запчастей Case IH DX29 - (05F02) - HYD. PIPING W/HST (07) - HYDRAULIC SYSTEMS
24
16
1b
12
25
26
25
1
11
1a
21
14
3
22
27
20
5
9
11
25
15
23
13
25
25
8
25
2
17
18
4
28
8
19
10
7
6
24
FIT
1:1
100%

Артикул

Название

Примечание

Количество

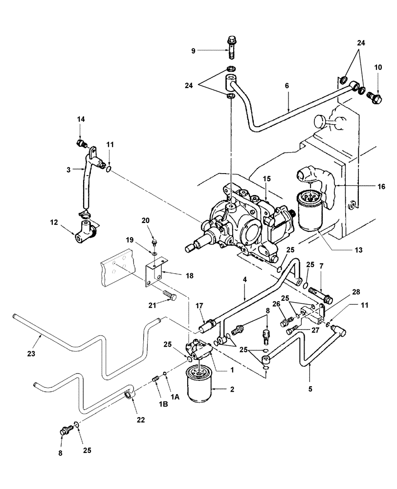
1

SBA340560440

FILTER HEAD

HEAD, FILTER, Flange, When ordering Flange also order Ref. 1A & 1B

1шт.

1a

SBA048100016

BALL

1шт.

1b

SBA398213390

SPRING

1шт.

2

SBA340501030

FILTER

Oil, HST, W/Internal Bypass

1шт.

3

SBA340706620

RIGID TUBE

Pipe

1шт.

4

SBA340706610

RIGID TUBE

Pipe

1шт.

5

SBA340706631

PIPE

1шт.

6

SBA340706640

RIGID TUBE

Pipe

1шт.

7

SBA398481340

EYEBOLT

1шт.

8

SBA398480240

BANJO BOLT,3/8"

BOLT, BANJO, , PF 3/8"

3шт.

9

SBA398481290

EYEBOLT

1шт.

10

SBA398480250

BANJO BOLT,1/2"

BOLT, BANJO, 1/2"

1шт.

11

SBA052100160

O-RING

P16

2шт.

12

SBA398115670

HOSE

Rubber

1шт.

13

SBA340500720

FILTER

Oil, Pump/Transmission

1шт.

14

SBA011510816

BOLT

M8 x 16

8шт.

15

SBA322800120

TRANSMISSION, HYDROS

HST

1шт.

16

SBA340750260

BODY

Oil Filter

1шт.

17

86530711

HYDRAULIC HOSE,15.88 mm ID x 70.00 mm, SAE 30R2 Type 1

- Cooler, HST 15.88 mm ID x 70.00 mm, SAE 30R2 Type 1

1шт.

18

SBA344911550

BRACKET

HST Filter

1шт.

19

322358

BELLEVILLE WASHER,M8 Bolt Size x 18mm OD x 1.4mm Thk

WASHER, BELLEVILLE, M8

2шт.

20

86511841

BOLT,Flng, M8 x 1.25 x 16mm, Full Thd, Cl 8.8

Hex Flg Hd, CL 8.8, M8 x 1.25 x 16

2шт.

21

86526913

BOLT,Hex, M14 x 45.5mm, Cl 10.9

2шт.

22

86524957

TUBE,469, 245.8 mm L

HST Cooler

1шт.

23

86522970

TUBE,15.90 mm ID x 17.00 mm OD

HST Cooler

1шт.

24

SBA052300250

O-RING

4шт.

25

SBA052100200

O-RING,2.4mm Thk x 19.8mm ID, 70 Duro

10шт.

26

SBA398480240

BANJO BOLT,3/8"

BOLT, BANJO, , PF 3/8"

1шт.

27

SBA011511050

BOLT,M10 x 50

1шт.

28

SBA340671400

ADAPTER

1шт.

Выбрано товаров: 30