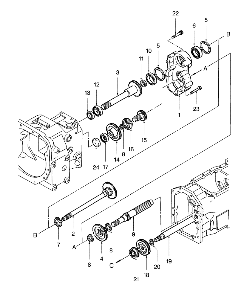
Запчасти Case IH DX31 (03.06) - FRONT TRANSMISSION DUAL CLUTCH IN PUT SHAFT, W/9 X 3 (03) - TRANSMISSION

Схема запчастей Case IH DX31 - (03.06) - FRONT TRANSMISSION DUAL CLUTCH IN PUT SHAFT, W/9 X 3 (03) - TRANSMISSION
16
11
20
24
15
10
2
4
18
21
19
6
14
8
3
8
1
12
17
13
7
22
5
9
23
5
8
FIT
1:1
100%

Артикул

Название

Примечание

Количество

1

SBA322118230

CASE

1шт.

2

SBA322514440

SHAFT

Shaft, Drive

1шт.

3

SBA322514120

CLUTCH INPUT SHAFT

1шт.

4

SBA322326940

GEAR

Gear

1шт.

5

11061376

SNAP RING,M68, Int

2шт.

6

86516078

BALL BEARING,40mm ID x 68mm OD x 15mm W

1шт.

7

370006

SNAP RING,M40, Ext

1шт.

8

370003

SNAP RING,M30, External

3шт.

9

SBA322531040

SHAFT

1шт.

10

SBA040109031

BALL BEARING,45mm ID x 68mm OD x 12mm W

1шт.

11

SBA050203125

SEAL

1шт.

12

SBA040109030

BALL BEARING,35mm ID x 55mm OD x 10mm W

1шт.

13

692325

SEAL

1шт.

14

SBA322326290

GEAR,42 T

1шт.

15

SBA322571530

GEAR SHAFT

1шт.

16

SBA040109087

BEARING

1шт.

17

210041

BALL BEARING,25mm ID x 52mm OD x 15mm W

1шт.

18

SBA322326300

GEAR,41T

1шт.

19

SBA322571480

SHAFT

Counter

1шт.

20

370002

CIRCLIP,M25, External

1шт.

21

SBA040156304

BEARING ASSY

1шт.

22

SBA011510860

CAPTIVE WASHER SCREW,Hex, M8 x 60, G5

5шт.

23

SBA011510850

BOLT,M8 x 50mm

1шт.

24

SBA322140670

COVER

Seal, 40MM

1шт.

Выбрано товаров: 24