Запчасти Case IH DX31 (04.05) - FRONT DIFFERENTIAL GEARS, W/FWD (04) - FRONT AXLE & STEERING

Схема запчастей Case IH DX31 - (04.05) - FRONT DIFFERENTIAL GEARS, W/FWD (04) - FRONT AXLE & STEERING
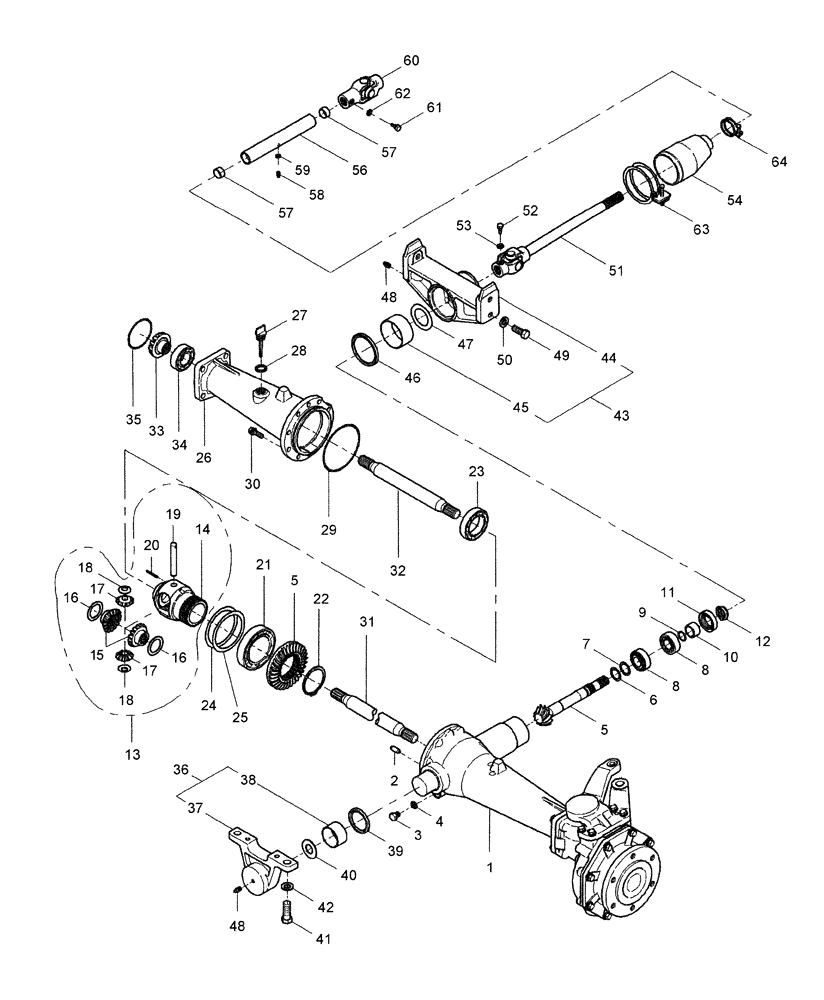
1
27
51
21
46
63
32
22
3
43
18
31
36
9
49
41
37
33
5
10
13
38
48
17
2
54
45
34
20
19
44
58
30
40
59
50
26
5
53
24
48
18
39
11
6
23
61
56
52
47
64
16
57
16
29
8
60
62
28
7
12
15
8
25
14
57
35
4
42
17
FIT
1:1
100%

Артикул

Название

Примечание

Количество

1

SBA326345370

HOUSING

Wheel Shaft, LH

1шт.

2

SBA030501025

BALL STUD,M10 x 25 L

BALL PIN

1шт.

3

SBA010401212

BOLT

1шт.

4

SBA025100012

WASHER,12.4mm ID x 19mm OD x 2mm Thk

Seal

1шт.

5

SBA322051390

SHAFT

1шт.

6

SBA199281240

SHIM,0.1mm Thk

1шт.

7

SBA199281250

SHIM,0.2mm Thk

1шт.

8

SBA042530205

TAPERED BEARING

2шт.

9

SBA052100210

O-RING

P21

1шт.

10

SBA399232470

COLLAR

1шт.

11

SBA050202332

SEAL

1шт.

12

SBA399370740

NUT

1шт.

13

SBA326010450

DIFFERENTIAL ASSY

Includes: Ref. 14 - 20

1шт.

14

SBA326211110

SHAFT

1шт.

15

SBA326140211

GEAR

Diff

2шт.

16

SBA399261080

THRUST WASHER

2шт.

17

SBA326160060

DRIVE PINION

2шт.

18

SBA399261070

THRUST WASHER

2шт.

19

SBA326130620

SHAFT

Pinion

1шт.

20

SBA030300436

COILED PIN

Spring

1шт.

21

SBA040106014

BEARING ASSY

Ball

1шт.

22

SBA036150070

SNAP RING

1шт.

23

SBA040106010

BEARING ASSY

Ball

1шт.

24

SBA199280900

SHIM,0.1mm Thk

1шт.

25

SBA199280910

SHIM,0.2mm Thk

1шт.

26

SBA326345350

AXLE HOUSING

Wheel Shaft, RH

1шт.

27

SBA398400450

DIPSTICK

1шт.

28

SBA025100020

SEALING WASHER,16.4mm ID x 27mm OD x 2mm Thk

1шт.

29

SBA052301200

O-RING

1шт.

30

SBA011511030

CAPTIVE WASHER SCREW,Hex, M10 x 30, G5

10шт.

31

SBA326211730

SHAFT

Diff, LH

1шт.

32

SBA326211740

SHAFT

Diff, RH

1шт.

33

SBA326240750

GEAR

Pinion, Final

2шт.

34

SBA040109034

BALL BEARING,32mm ID x 65mm OD x 17mm W

2шт.

35

SBA052300750

O-RING

2шт.

36

SBA322018070

SUPPORT

Includes: Ref. 37 & 38

1шт.

37

SBA322263190

HOUSING

Bearing Holder

1шт.

38

SBA398510140

BUSHING

1шт.

39

SBA050301150

SEAL

Oil

1шт.

40

SBA399261970

THRUST WASHER

1шт.

41

SBA010311645

BOLT

M6 x 45

2шт.

42

SBA027100016

WASHER

2шт.

43

SBA322018080

SUPPORT

Includes: Ref. 44 & 45

1шт.

44

SBA322263180

HOUSING

1шт.

45

SBA398510990

BUSHING

1шт.

46

SBA050309056

SEAL

Oil

1шт.

47

SBA399261980

THRUST WASHER

1шт.

48

SBA060620000

LUBE NIPPLE

2шт.

49

SBA010411435

BOLT,M14 x 35

4шт.

50

SBA027100014

SPRING

Washer

4шт.

51

SBA398380930

FLEXIBLE JOINT

Front

1шт.

52

SBA010109265

BOLT

1шт.

53

SBA027100008

WASHER

Lock

1шт.

54

SBA398115660

COVER

1шт.

56

SBA320171750

RIGID TUBE

1шт.

57

SBA398512110

BUSHING

2шт.

58

SBA060610000

LUBE NIPPLE,M6 x .075

1шт.

59

SBA026100006

WASHER

M6

1шт.

60

SBA398380940

FLEXIBLE JOINT

Includes: Ref.61 & 62

1шт.

61

SBA010109265

BOLT

1шт.

62

SBA027100008

WASHER

Lock

1шт.

63

SBA067100088

CLAMP

1шт.

64

SBA067100040

CLAMP

1шт.

Выбрано товаров: 63