Запчасти Case IH DX31 (04.10) - PARKING BRAKE, HST (04) - FRONT AXLE & STEERING

Схема запчастей Case IH DX31 - (04.10) - PARKING BRAKE, HST (04) - FRONT AXLE & STEERING
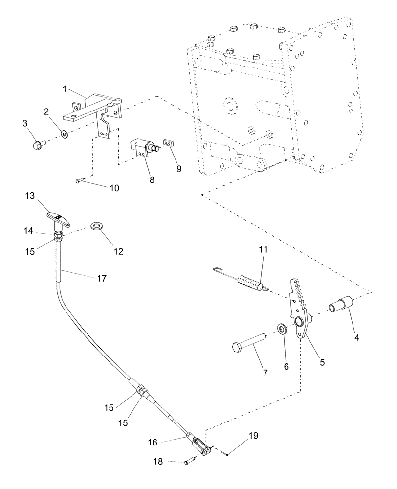
1
4
16
5
11
15
12
17
3
15
7
18
6
14
2
19
13
8
15
10
9
FIT
1:1
100%

Артикул

Название

Примечание

Количество

1

86402614

BRACKET

Spring

1шт.

2

322358

BELLEVILLE WASHER,M8 Bolt Size x 18mm OD x 1.4mm Thk

2шт.

3

9804258

BOLT,Hex, M8 x 1.25 x 20mm, Cl 8.8

2шт.

4

86535794

SPACER

Bushing

1шт.

5

86403940

LOCKING TAB

Catch, Brake Lock

1шт.

6

87301094

WASHER,M10 x 27 x 2.4 Thk

2шт.

7

412085

BOLT,Hex, M12 x 1.75 x 80mm, Cl 10.9

W/HST

1шт.

8

86402702

PARK BRAKE SWITCH

1шт.

9

86403943

NUT

Nut

1шт.

10

412064

BOLT,Hex, M4 x 16mm, Cl 8.8, Full Thd

Cap, HH, CL 8.8, M4 x .7 x 10

2шт.

11

86530816

SPRING

Extension

1шт.

12

86512915

LOCK WASHER,Int Tooth, 7/16"

1шт.

13

84331261

KNOB

T Handle

1шт.

14

86549879

SPECIAL NUT

Special W/Seal

1шт.

15

87017

JAM NUT,Jam, 7/16"-14, G2

3шт.

16

87825

NUT,#10-32

1шт.

17

86549878

CABLE

Cable, Control, Clevis is Part of Cable NSS Includes: Ref. 12-16

1шт.

18

9672307

CLEVIS PIN,1/4" x 3/4"

1шт.

19

280236

COTTER PIN,1/16" x 1/2"

1шт.

Выбрано товаров: 19