Запчасти Case IH DX33 (01.04) - CRANKSHAFT & PISTONS (01) - ENGINE

Схема запчастей Case IH DX33 - (01.04) - CRANKSHAFT & PISTONS (01) - ENGINE
28
22
14
11
8
7
12
7
1
20
14
9
18
3
7
4
21
17
5
23
25
6
10
10
19
13
27
10
16
6
12
24
2
6
17
15
26
29
30
FIT
1:1
100%

Артикул

Название

Примечание

Количество

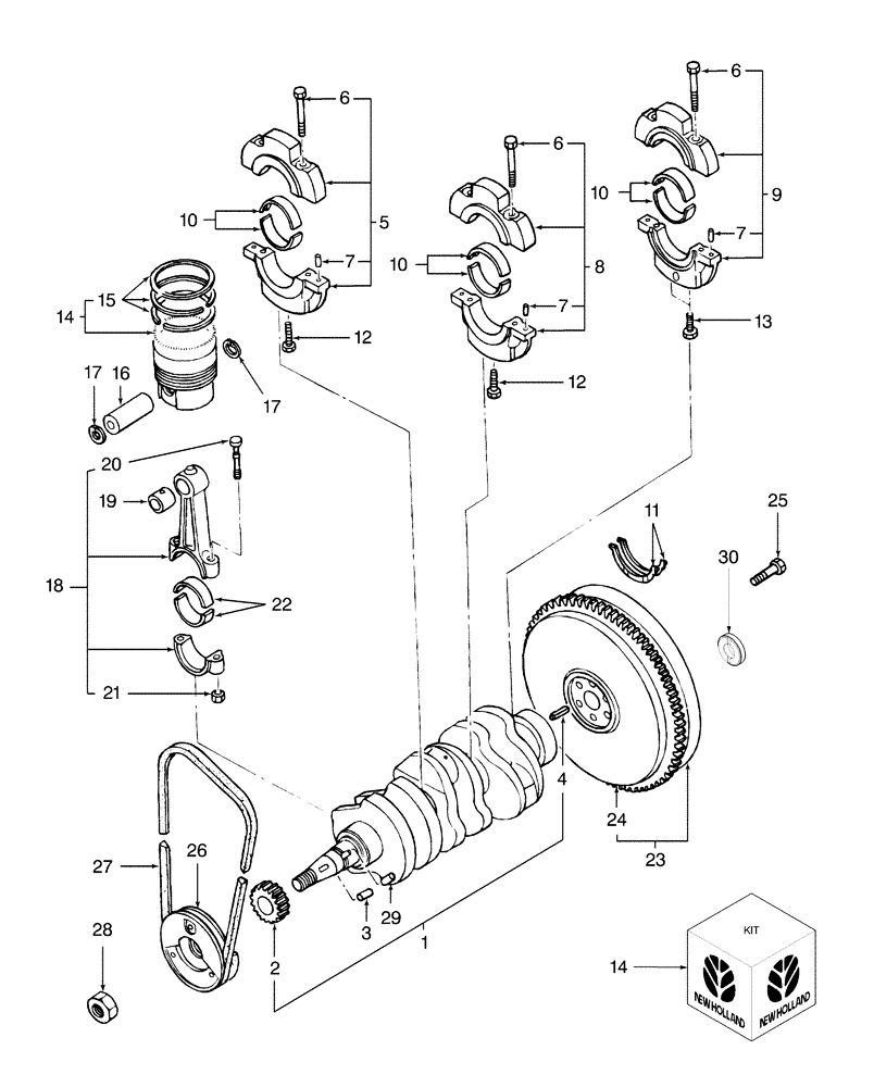
1

SBA115256590

CRANKSHAFT

DX29 Includes: Ref. 2, 4 & 29

1шт.

1

SBA115256590R

REMAN-CRANKSHAFT

DX29 CASE IH 3 CYL COMPACT TRACTOR (S/N HBA010001 & ABOVE) (8/03-)

1шт.

1

SBA115256590C

CORE-CRANKSHAFT

Return Number

1шт.

1

SBA115256580

CRANKSHAFT

DX33 Includes: Ref. 2, 4, & 29

1шт.

SBA115256950R

REMAN-CRANKSHAFT

DX29 PIN # (S/N HBA010001 & ABOVE) , DX33 PIN # (S/N HBA010003 & ABOVE) ALL are in ( 8 /03 - ) , Reman For New P/N SBA115256580

1шт.

SBA115256950C

CORE-CRANKSHAFT

Return Number

1шт.

2

SBA115276200

GEAR

1шт.

3

SBA034100508

KEY

1шт.

4

SBA030300816

PIN

Spring

1шт.

5

SBA110156161

HOLDER

DX29 Includes: Ref. 6 & 7

1шт.

5

SBA110156171

HOLDER

DX33 Includes: Ref. 6 & 7

1шт.

6

SBA010109406

BOLT

6шт.

7

SBA030500612

DOWEL

6шт.

8

SBA110156141

HOLDER

DX29 Includes: Ref. 6 & 7

1шт.

8

SBA110156181

HOLDER

DX33 Includes: Ref. 6 & 7

1шт.

9

SBA110156151

HOLDER

DX29 Includes: Ref. 6 & 7

1шт.

9

SBA110156191

HOLDER

DX33 Includes: Ref. 6 & 7

1шт.

10

SBA198586040

BEARING LINER

Kit, STD, DX29

1шт.

Included in Long Block

1шт.

Includes: (3) Upper & (3) Lower Liner

1шт.

10

SBA198586044

BEARING LINER

Kit, 0.010 U/S, DX29

1шт.

Includes: (3) Upper & (3) Lower Liner

1шт.

Not Included in Long Block

1шт.

10

SBA198586047

LINER

Kit, 0.020 U/S, DX29

1шт.

Includes: (3) Upper & (3) Lower Liner

1шт.

Not Included in Long Block

1шт.

10

SBA198586050

LINER

Kit, Standard, DX33

1шт.

Included in Long Block

1шт.

Includes: (3) Upper & (3) Lower Liner

1шт.

10

SBA198586054

KIT

0.010 U/S, Liner, DX33

1шт.

Includes: (3) Upper & (3) Lower Liner

1шт.

Not Included in Long Block

1шт.

10

SBA198586057

KIT

0.020 U/S, Liner, DX33

1шт.

Includes: (3) Upper & (3) Lower Liner

1шт.

Not Included in Long Block

1шт.

11

SBA199266190

THRUST WASHER

DX29

2шт.

11

SBA199266200

THRUST WASHER

DX33

2шт.

12

SBA011511070

BOLT,M10 x 70

2шт.

13

SBA010700865

BOLT,M8 x 65mm

2шт.

14

SBA115017390

PISTON & RINGS KIT

Standard, DX29

3шт.

14

SBA115017540

PISTON & RINGS KIT

Standard, DX33

3шт.

Included in Long Block

1шт.

15

SBA115107970

SET OF RINGS

Contains a 3 MM width oil ring Standard Used w /SBA115017540 Piston Kit

3шт.

16

SBA115326030

PISTON PIN,29mm OD

DX29

3шт.

16

SBA115326220

PISTON PIN,33mm OD

DX33

3шт.

17

SBA036500025

SNAP RING

DX29

6шт.

17

301642

SNAP RING,M28, Int

DX33

6шт.

18

SBA115026212

CONNECTING ROD

DX29

3шт.

18

SBA115026251

CONNECTING ROD

DX33 Includes: Ref. 19 - 21

3шт.

SBA115026251R

REMAN-CONNECTING ROD

DX29 S/N HBA010001 & ABOVE,DX33 S/N HBA010003 & ABOVE Both (8/03-)

3шт.

SBA115026251C

CORE-ROD CONNECTING

Return Number

1шт.

19

SBA198517050

BUSHING

DX29

3шт.

19

SBA198517260

BUSHING

DX33

3шт.

20

SBA115176140

BOLT

Connecting Rod

6шт.

21

SBA020109120

NUT

Rod

6шт.

22

SBA198517180

LINER

Standard, DX29

6шт.

Included in Long Block

1шт.

22

SBA198517184

LINER

0.25 mm, DX29

6шт.

Not Included in Long Block

1шт.

22

SBA198517187

LINER

0.50 mm, DX29

6шт.

Not Included in Long Block

1шт.

22

SBA198517250

LINER

Standard, DX33

6шт.

Included in Long Block

1шт.

22

SBA198517254

LINER

0.25 mm, DX33

6шт.

Not Included in Long Block

1шт.

22

SBA198517257

LINER

0.50 mm, DX33

6шт.

Not Included in Long Block

1шт.

23

SBA115356960

ENGINE FLYWHEEL

w/Single Clutch, DX29 Includes: Ref. 24

1шт.

Not Included in Long Block

1шт.

23

SBA115356971

ENGINE FLYWHEEL

w/Double Clutch, DX29 Includes: Ref. 24

1шт.

Not Included in Long Block

1шт.

23

SBA115357071

ENGINE FLYWHEEL

w/Single Clutch, DX33 Includes: Ref. 24

1шт.

Not Included in Long Block

1шт.

23

SBA115357900

FLYWHEEL

w/Double Clutch, TC33DA Includes: Ref. 24

1шт.

Not Included in Long Block

1шт.

24

SBA115376040

RING GEAR

1шт.

Not Included in Long Block

1шт.

25

SBA010109341

BOLT

6шт.

Not Included in Long Block

1шт.

26

SBA115397780

PULLEY

DX29

1шт.

26

SBA115397790

PULLEY

DX33

1шт.

27

86517954

V-BELT,0.50" W x 37.54" L

1шт.

Not Included in Long Block

1шт.

28

SBA020109086

NUT

1шт.

29

SBA030509020

PIN

Dowel

1шт.

30

SBA040116001

BALL BEARING

Pilot

1шт.

Not Included in Long Block

1шт.

Выбрано товаров: 87