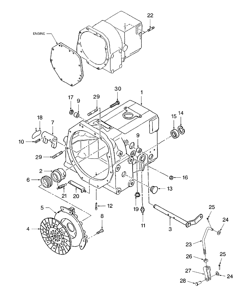
Запчасти Case IH DX33 (03.03) - CLUTCH & CLUTCH CASE, W/HST (03) - TRANSMISSION

Схема запчастей Case IH DX33 - (03.03) - CLUTCH & CLUTCH CASE, W/HST (03) - TRANSMISSION
30
9
19
15
27
23
5
12
24
9
6
20
11
13
17
29
14
2
16
21
29
18
22
28
25
1
3
7
4
24
8
10
26
25
FIT
1:1
100%

Артикул

Название

Примечание

Количество

1

SBA320111115

CLUTCH HOUSING

w/HST

1шт.

2

SBA320310340

HUB

Release, DX29

1шт.

2

SBA320310570

HUB

Release, DX33

1шт.

3

SBA320201010

SHAFT

Clutch

1шт.

4

SBA320400212

DISC

Single Clutch, DX29

1шт.

4

SBA320400212R

REMAN-CLUTCH DISC

Remanufactured, Clutch Plate

1шт.

4

SBA320400212C

CORE-CLUTCH DISC

Return Number, DX29

1шт.

4

SBA320400530

DISC

Single Clutch, DX33

1шт.

4

SBA320400530R

REMAN-CLUTCH DISC

Remanufactured, Clutch Plate

1шт.

4

SBA320400530C

CORE-CLUTCH DISC

Return Number, DX33

1шт.

5

SBA320450011

CLUTCH PLATE

Pressure, DX29

1шт.

5

SBA320450011R

REMAN-CLUTCH PLATE

DX29 PIN # HBA010001 & After

1шт.

5

SBA320450011C

CORE-CLUTCH PLATE

Return Number

1шт.

5

SBA320450230

CLUTCH, PRESSURE PLA

Pressure, DX33

1шт.

5

SBA320450230R

REMAN-CLUTCH PLATE

Remanufactured, Clutch Plate, DX33, 18 Finger Diaphram

1шт.

5

SBA320450230C

CORE-CLUTCH PLATE

Return Number

1шт.

5

SBA320450231R

REMAN-CLUTCH PLATE

DX33 CASE IH 3 Cylinder Compact Tractor (S/N HBA010003 & ABOVE), Pressure (8/03-), 15 Finger Diaphram, Reman for New PN SBA320450230

1шт.

5

SBA320450231C

CORE-CLUTCH PLATE

Return Number

1шт.

6

SBA398560120

BEARING ASSY,45 mm ID x 73 mm OD x 16 mm W

Release, DX29

1шт.

6

SBA398560840

BEARING ASSY

Release, DX33

1шт.

7

SBA320260140

FORK

Clutch

1шт.

8

SBA399430690

BOLT

DX29

3шт.

9

SBA398510010

DRIVE BUSHING

2шт.

10

SBA030300632

SLOTTED PIN,M6 x 32

2шт.

11

SBA060610000

LUBE NIPPLE,M6 x .075

2шт.

12

SBA030104020

PIN

Split, 4 x 20

1шт.

USED BELOW DRIVELINE 2M63841

1шт.

13

SBA398110760

COVER

Rubber, 33MM

1шт.

14

300645

SNAP RING,M42, Int

1шт.

15

86629499

BALL BEARING,20mm ID x 42mm OD x 12mm W

1шт.

16

SBA021500008

NUT,M8

1шт.

17

84021874

SNAP RING,M18, Ext

1шт.

18

SBA398230020

RETAINING WIRE

2шт.

19

SBA398460050

PLUG

Blank

1шт.

20

SBA320160150

HANGER

Spring

1шт.

21

SBA398210070

SPRING

1шт.

22

SBA012111030

STUD,M10 x 30

2шт.

23

86530918

ROD

W/9x3

1шт.

23

86526805

ROD

W/HST

1шт.

24

86511323

WASHER,10.5mm ID x 20mm OD x 2mm Thk

2шт.

25

80756

COTTER PIN,1/8" x 3/4"

2шт.

26

100016

NUT,M10 x 1.5, Cl 8

1шт.

27

86530920

CLEVIS,M10 x 1.5

1шт.

28

510390

CLEVIS PIN,8.33mm OD x 30.66mm L

1шт.

29

86533693

STUD,M10 x 47, Cl 8.8

2шт.

30

SBA010109607

BOLT,Hex, M10 x 1.5 x 35mm

w/HST

2шт.

31

SBA011510816

BOLT

M8 x 16, DX33

6шт.

32

SBA030500820

PIN

DX33

3шт.

33

SBA027100008

WASHER

M8, DX29

3шт.

34

SBA011510816

BOLT

M8 x 16, DX29

3шт.

Выбрано товаров: 50