Запчасти Case IH DX33 (06.01) - BATTERY (06) - ELECTRICAL SYSTEMS

Схема запчастей Case IH DX33 - (06.01) - BATTERY (06) - ELECTRICAL SYSTEMS
5
14
6
4
10
13
7
16
1
3
17
9
12
2
11
15
8
FIT
1:1
100%

Артикул

Название

Примечание

Количество

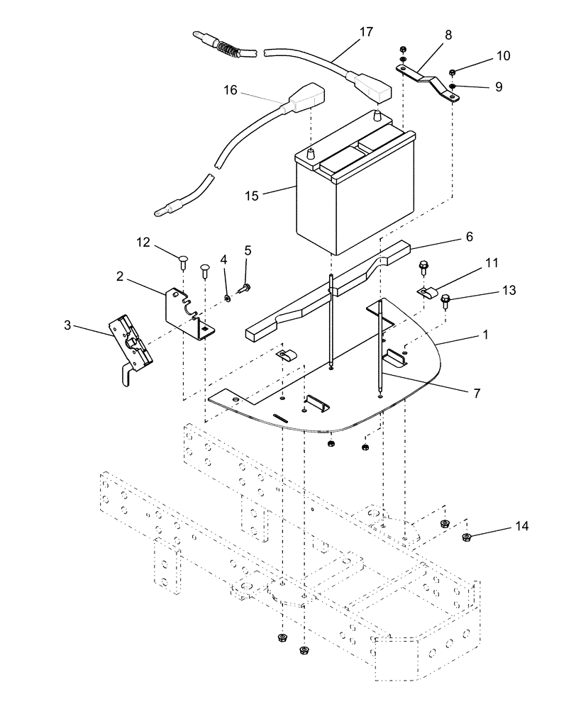
1

87300999

PLATE

PLATE, BATTERY

1шт.

2

87301000

BRACKET

Latch

1шт.

3

86403766

BRACKET

Hood Latch

1шт.

4

322357

BELLEVILLE WASHER,M6 Bolt Size x 14mm OD x 1.3mm Thk

3шт.

5

9804256

BOLT,Hex, M6 x 1 x 20mm, Full Thd, Cl 8.8

3шт.

6

87300927

SEAL

1шт.

7

87300237

THREADED ROD,M6 x 230 L

Battery Holder

2шт.

8

86405750

BRACKET

Battery Hold Down

1шт.

9

9824259

WASHER,6.4mm ID x 12mm OD x 1.6mm Thk

2шт.

10

353308

NUT,M6 x 1.0, Cl 8

2шт.

11

134579

WIRE CLAMP,J

2шт.

12

308761

CARRIAGE BOLT,M8 x 1.25 x 25mm, Cl 8.8

2шт.

13

9804258

BOLT,Hex, M8 x 1.25 x 20mm, Cl 8.8

2шт.

14

9804277

FLANGE NUT,Hex, M8 x 1.25, Cl 8

4шт.

15

B5150W

WET BATTERY

United States

1шт.

15

CB51435W

BATTERY, WET

BATTERY WET Canada

1шт.

16

86528253

NEG BATTERY CABLE

A

1шт.

17

86533167

CABLE

Positive A

1шт.

17

87302269

POS BATTERY CABLE

Positive A

1шт.

Used On & Above PIN HBA011341

1шт.

Выбрано товаров: 20