Запчасти Case IH DX33 (14C01) - RIGID ROLL BAR & RELATED PARTS (08) - SHEET METAL

Схема запчастей Case IH DX33 - (14C01) - RIGID ROLL BAR & RELATED PARTS (08) - SHEET METAL
14
6
14
15
7
8
7
1
10
11
6
9
8
8
9
5
7
16
3
8
2
13
7
5
9
16
12
15
4
8
3
13
9
FIT
1:1
100%

Артикул

Название

Примечание

Количество

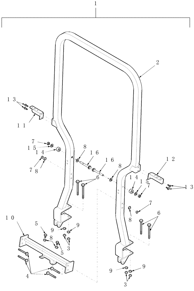
1

710861026

FIELD ATTACHMENT

Kit, Rigid Rollbar Includes: Ref. 2 thru 10

1шт.

2

NSS

NOT SOLD SEPARAT

ROPS Assy.

1шт.

3

832-46412

NUT,M12 x 1.75, Cl 8

NUT, LOCK, M12 X 1.75, Cl8

4шт.

4

86507311

BOLT,Hex, M10 x 80mm, Cl 8.8

Flg Hd, CL 8.8, M10 x 1.5 x 80

4шт.

5

844-10020

BOLT,Hvy Hex, M10 x 20mm, Cl 8.8

Screw, Cap, Flg Hd, CL 8.8, M10 x 1.5 x 20

2шт.

6

86505749

BOLT,Hex, M12 x 130mm, Cl 8.8

Flg Hd, CL 8.8, M12 x 1.75 x 130

4шт.

7

829-1410

NUT,M10 x 1.5, Cl 10.9

4шт.

8

140045

BELLEVILLE WASHER,M10 Bolt Size x 22mm OD x 1.6mm Thk

WASHER, BELLEVILLE, M10

6шт.

9

140046

BELLEVILLE WASHER,M12 Bolt Size x 27mm OD x 1.8mm Thk

Washer, Spring, Belleville, M12

4шт.

10

NSS

NOT SOLD SEPARAT

Cross Tube

1шт.

11

86571610

BRACKET

Flasher Support, L.H.

1шт.

11

86403065

BRACKET

Flasher Support, L.H.

1шт.

Used On & ASN HBA0001480

1шт.

12

86571611

BRACKET

Flasher Support, R.H.

1шт.

12

86403064

BRACKET

Flasher Support, R.H.

1шт.

Used On & ASN HBA0001480

1шт.

13

844-6016

BOLT,Hvy Hex, M6 x 16mm, Cl 8.8

4шт.

14

86530983

SPACER

2шт.

15

225930

WASHER,11.91mm ID x 38.1mm OD x 3.43mm Thk

2шт.

16

120074

BOLT,Hex, M10 x 90, 8.8

2шт.

Выбрано товаров: 20