Запчасти Case IH DX34 (01.04) - CRANKSHAFT & PISTONS (01) - ENGINE

Схема запчастей Case IH DX34 - (01.04) - CRANKSHAFT & PISTONS (01) - ENGINE
29
21
10a
28
9
19
10
1
17
24
13
15
18
3
10a
12
7
14
4
16
6
25
12
7
26
10
6
23
2
7
27
20
5
10
30
6
11
22
17
10a
14
8
FIT
1:1
100%

Артикул

Название

Примечание

Количество

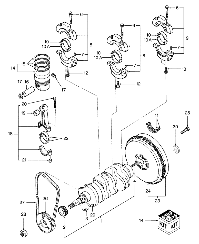
1

SBA115256580

CRANKSHAFT

DX31 Includes: Ref. 2, 4, & 29

1шт.

SBA115256950R

REMAN-CRANKSHAFT

DX35 , DX34 all are in( 3/06 - ) , Reman For New P/N SBA115256580

1шт.

SBA115256950C

CORE-CRANKSHAFT

Return Number

1шт.

SBA115256950R

REMAN-CRANKSHAFT

DX31 PIN # Z6DD00103 & ABOVE ( 1/06 - ) , Reman For New P/N SBA115256580

1шт.

SBA115256950C

CORE-CRANKSHAFT

Return Number

1шт.

1

SBA115256760

CRANKSHAFT

DX34, DX35, Includes: Ref. 2, 4 and 29

1шт.

1

SBA115257020R

REMAN-CRANKSHAFT

Reman For New P/N SBA115256760, DX34, DX35

1шт.

1

SBA115257020C

CORE-CRANKSHAFT

Return Part Number

1шт.

2

SBA115276200

GEAR

1шт.

3

SBA034100508

KEY

1шт.

4

SBA030300816

PIN

Spring

1шт.

5

SBA110156171

HOLDER

DX31 Includes: Ref. 6 & 7

1шт.

5

SBA110156370

BEARING CAP

DX34, DX35 Includes: Ref. 6 & 7

1шт.

6

SBA010109406

BOLT

6шт.

7

SBA030500612

DOWEL

6шт.

8

SBA110156181

HOLDER

DX31 Includes: Ref. 6 & 7

1шт.

8

SBA110156380

BEARING CAP

DX34, DX35 Includes: Ref. 6 & 7

1шт.

9

SBA110156191

HOLDER

DX31 Includes: Ref. 6 & 7

1шт.

9

SBA110156390

BEARING CAP

DX34, DX35 Includes: Ref. 6 & 7

1шт.

10

SBA198517232

BEARING LINER,Std., Upper

3шт.

Included in Long Block

1шт.

10

SBA198517236

BEARING LINER,.010" U/S, Upper

3шт.

Not Included in Long Block

1шт.

10

SBA198517239

BEARING LINER,.020" U/S, Upper

3шт.

Not Included in Long Block

1шт.

10a

SBA198517242

BEARING LINER,Std., Lower

0.020 U/S, Upper

1шт.

Not Included in Long Block

1шт.

10a

SBA198517246

BEARING LINER,.010" U/S, Lower

3шт.

Not Included in Long Block

1шт.

10a

SBA198517249

BEARING LINER,.020" U/S, Lower

3шт.

Not Included in Long Block

1шт.

11

SBA199266200

THRUST WASHER

2шт.

12

SBA011511070

BOLT,M10 x 70

2шт.

13

SBA010700865

BOLT,M8 x 65mm

2шт.

14

SBA115017541

PISTON & RINGS KIT

DX31

3шт.

Included in Long Block

1шт.

14

SBA115017491

PISTON & RINGS KIT

DX34, DX35

3шт.

Included in Long Block

1шт.

15

SBA115107970

SET OF RINGS

Contains a 3 MM width oil ring Standard Used w /SBA115017540 Piston Kit

3шт.

16

SBA115326220

PISTON PIN,33mm OD

3шт.

17

301642

SNAP RING,M28, Int

6шт.

18

SBA115026251

CONNECTING ROD

DX31 Includes: Ref. 19 - 21

3шт.

SBA115026251R

REMAN-CONNECTING ROD

DX31 PIN # Z6DD00103 & ABOVE (1/06-),DX34 ,DX35 AUSTRALIA Both (3/06-)

3шт.

SBA115026251C

CORE-ROD CONNECTING

Return Number

1шт.

18

SBA115026330

CONNECTING ROD

DX34, DX35 Includes: Ref. 19-21

3шт.

SBA115026330R

REMAN-CONNECTING ROD

DX34, DX35, Both 3 Cyl. (3/06)

3шт.

SBA115026330C

CORE-ROD CONNECTING

Return Number

1шт.

19

SBA198517260

BUSHING

3шт.

20

SBA115176140

BOLT

Connecting Rod

6шт.

21

SBA020109120

NUT

Rod

6шт.

22

SBA198517252

BEARING LINER,Std.

6шт.

Included in Long Block

1шт.

22

SBA198517256

BEARING LINER,.25mm

6шт.

Not Included in Long Block

1шт.

22

SBA198517259

BEARING LINER,Piston Rod, .020"

6шт.

Not Included in Long Block

1шт.

23

SBA115357071

ENGINE FLYWHEEL

w/Single Clutch, Includes: Ref. 24

1шт.

Not Included in Long Block

1шт.

23

SBA115357900

FLYWHEEL

w/Double Clutch, Includes: Ref. 24

1шт.

Not Included in Long Block

1шт.

24

SBA115376040

RING GEAR

1шт.

Not Included in Long Block

1шт.

25

SBA010109341

BOLT

6шт.

Not Included in Long Block

1шт.

26

SBA115397790

PULLEY

1шт.

27

86517954

V-BELT,0.50" W x 37.54" L

1шт.

Not Included in Long Block

1шт.

28

SBA020109086

NUT

1шт.

29

SBA030509020

PIN

Dowel

1шт.

30

SBA040116001

BALL BEARING

Pilot

1шт.

Not Included in Long Block

1шт.

Выбрано товаров: 71