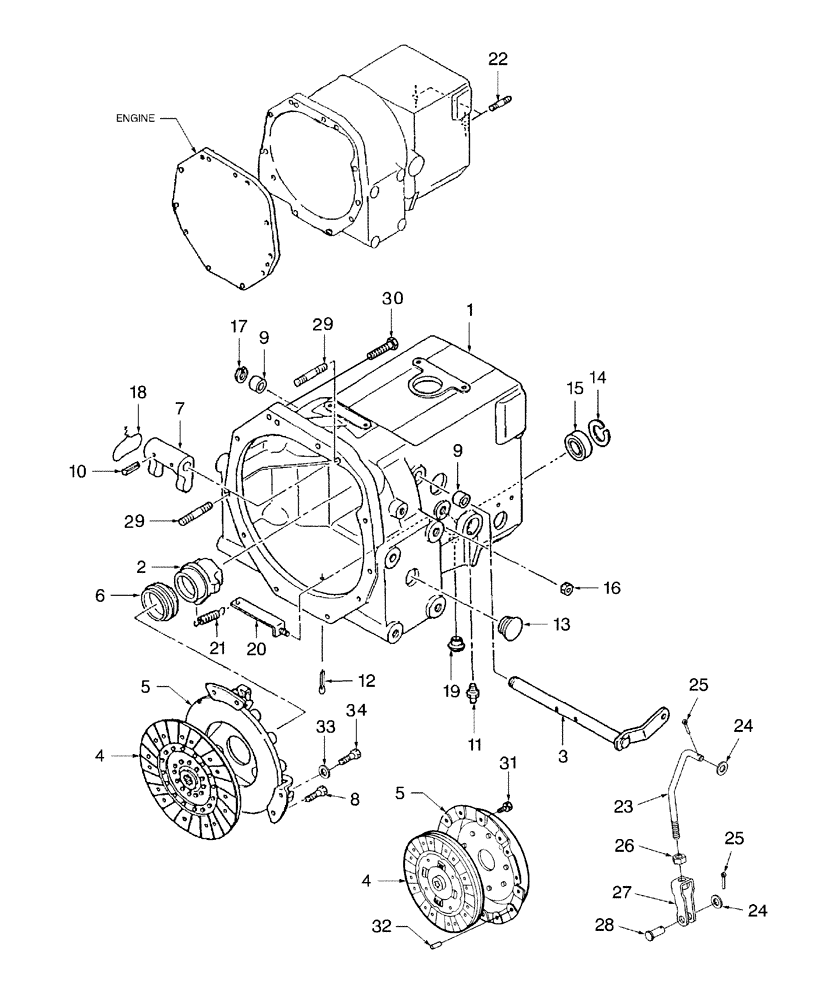
Запчасти Case IH DX34 (03.03) - CLUTCH & CLUTCH CASE, W/HST (03) - TRANSMISSION

Схема запчастей Case IH DX34 - (03.03) - CLUTCH & CLUTCH CASE, W/HST (03) - TRANSMISSION
27
25
12
23
28
6
29
24
13
17
11
4
3
9
10
20
5
34
1
19
9
25
18
5
31
16
4
21
7
24
26
30
32
15
33
14
2
22
29
8
FIT
1:1
100%

Артикул

Название

Примечание

Количество

1

SBA320111115

CLUTCH HOUSING

DX31

1шт.

1

SBA320111930

CLUTCH HOUSING

DX34, DX35

1шт.

2

SBA320310570

HUB

Release

1шт.

3

SBA320201010

SHAFT

Clutch

1шт.

4

SBA320400530

DISC

Single Clutch

1шт.

4

SBA320400530R

REMAN-CLUTCH DISC

Remanufactured, Clutch Plate

1шт.

4

SBA320400530C

CORE-CLUTCH DISC

Return Number

1шт.

5

SBA320450230

CLUTCH, PRESSURE PLA

Pressure

1шт.

5

SBA320450230R

REMAN-CLUTCH PLATE

Remanufactured, Clutch Plate, DX34, DX35, 18 Finger Diaphram

1шт.

5

SBA320450230C

CORE-CLUTCH PLATE

Return Number

1шт.

5

SBA320450231R

REMAN-CLUTCH PLATE

DX34, DX35 (CLASS 2), Australia, Both 3 Cylinder Compact Tractor, Pressure (3/06-), 15 Finger Diaphram, Reman for New P/N SBA320450230

1шт.

5

SBA320450231C

CORE-CLUTCH PLATE

Return Number

1шт.

6

SBA398560840

BEARING ASSY

Release

1шт.

7

SBA320260140

FORK

Clutch

1шт.

9

SBA398510010

DRIVE BUSHING

2шт.

10

SBA030300632

SLOTTED PIN,M6 x 32

2шт.

11

SBA060610000

LUBE NIPPLE,M6 x .075

2шт.

13

SBA398110760

COVER

Rubber, 33MM

1шт.

14

300645

SNAP RING,M42, Int

1шт.

15

86629499

BALL BEARING,20mm ID x 42mm OD x 12mm W

1шт.

16

SBA021500008

NUT,M8

1шт.

17

84021874

SNAP RING,M18, Ext

1шт.

18

SBA398230020

RETAINING WIRE

2шт.

19

SBA398460050

PLUG

Blank

1шт.

20

SBA320160150

HANGER

Spring

1шт.

21

SBA398210070

SPRING

1шт.

22

SBA012111030

STUD,M10 x 30

2шт.

23

86530918

ROD

W/9x3

1шт.

23

86526805

ROD

W/HST

1шт.

24

86511323

WASHER,10.5mm ID x 20mm OD x 2mm Thk

2шт.

25

80756

COTTER PIN,1/8" x 3/4"

2шт.

26

100016

NUT,M10 x 1.5, Cl 8

1шт.

27

86530920

CLEVIS,M10 x 1.5

1шт.

28

510390

CLEVIS PIN,8.33mm OD x 30.66mm L

1шт.

29

86533693

STUD,M10 x 47, Cl 8.8

2шт.

30

SBA010109607

BOLT,Hex, M10 x 1.5 x 35mm

w/HST

2шт.

31

SBA011510816

BOLT

M8 x 16

6шт.

32

SBA030500820

PIN

3шт.

Выбрано товаров: 38