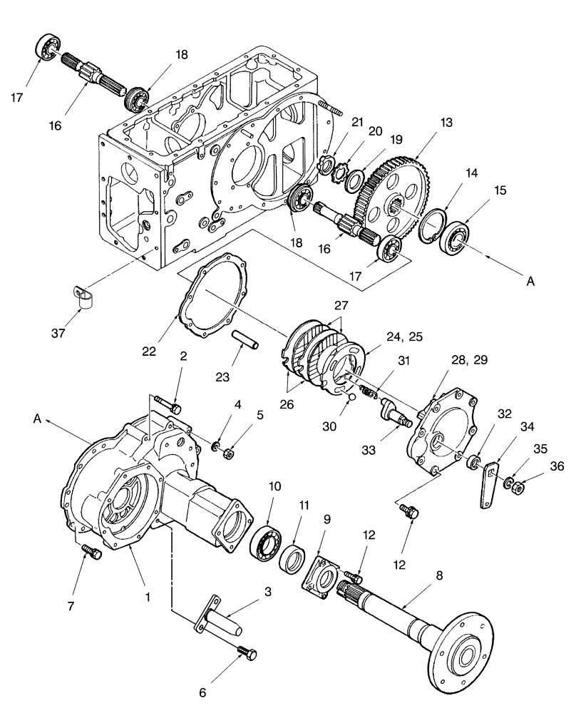
Запчасти Case IH DX34 (05.02) - BRAKE & WHEEL SHAFT CASE (05) - REAR AXLE

Схема запчастей Case IH DX34 - (05.02) - BRAKE & WHEEL SHAFT CASE (05) - REAR AXLE
14
22
18
28
21
34
29
25
11
1
a
24
a
5
3
15
31
2
23
17
16
12
7
10
4
16
20
9
19
18
30
26
6
8
36
32
33
12
17
35
13
37
27
FIT
1:1
100%

Артикул

Название

Примечание

Количество

1

SBA326344380

HOUSING

Wheel Shaft

2шт.

2

SBA011511080

BOLT

14шт.

3

SBA370900700

PIN

2шт.

4

892-11010

LOCK WASHER,M10

2шт.

5

SBA021010010

NUT,M10 x 1.25

2шт.

6

SBA011511230

BOLT,M12 x 30

8шт.

7

SBA011511025

CAPTIVE WASHER SCREW,Hex, M10 x 25, G5

10шт.

8

SBA326301670

SHAFT

Wheel

2шт.

9

SBA326360700

SEAL

Cover

2шт.

10

86516079

BALL BEARING,50mm ID x 80mm OD x 16mm W

2шт.

11

SBA399030060

SEAL KIT

2шт.

12

SBA011510825

CAPTIVE WASHER SCREW,Hex, M8 x 25, G5

24шт.

13

SBA326370590

GEAR

Final

2шт.

14

370021

SNAP RING,M85 x 3mm Thk, Internal

2шт.

15

37198

BALL BEARING,1.7717" ID x 3.3465" OD x 0.7487"

2шт.

16

SBA326211050

SHAFT

Differential

2шт.

17

SBA040109034

BALL BEARING,32mm ID x 65mm OD x 17mm W

2шт.

18

SBA040109055

BALL BEARING,32mm ID x 65mm OD x 17mm W

2шт.

19

SBA399210030

SPACER

2шт.

20

SBA028100400

LOCK WASHER

2шт.

21

SBA022700400

LOCK NUT

2шт.

22

SBA328990160

GASKET

2шт.

23

SBA328260140

PIN

Anchor

2шт.

24

SBA328560180

ACTUATOR

LH

1шт.

25

SBA328560220

ACTUATOR

RH

1шт.

26

SBA328560190

DISC

Stator

4шт.

27

SBA328110151

DISC

4шт.

28

SBA328200420

COVER

Brake, LH

1шт.

29

SBA328200440

COVER

Brake, RH

1шт.

30

SBA048109004

BALL

Steel

8шт.

31

SBA398213340

SPRING

6шт.

32

SBA050109015

SEAL

2шт.

33

SBA328310160

CAM

2шт.

34

SBA328320710

LEVER

2шт.

35

9847025

LOCK WASHER,21.2mm ID x 33.6mm OD x 6mm Thk

2шт.

36

100085

NUT,M20 x 1.5, Cl 8

2шт.

37

SBA399110300

CLAMP

1шт.

Выбрано товаров: 37