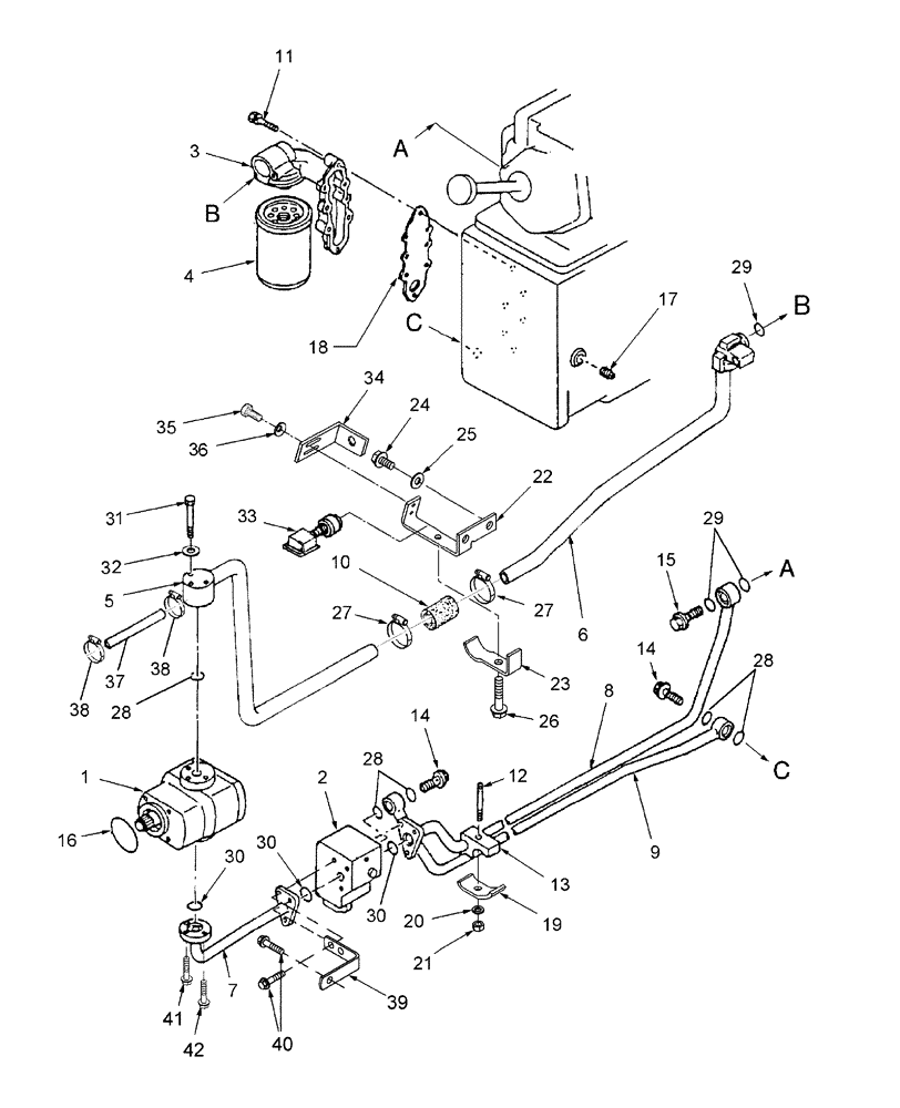
Запчасти Case IH DX34 (07.06) - HYDRAULIC PUMP & PIPING (07) - HYDRAULIC SYSTEM

Схема запчастей Case IH DX34 - (07.06) - HYDRAULIC PUMP & PIPING (07) - HYDRAULIC SYSTEM
10
13
14
32
12
6
19
8
14
39
28
29
11
27
35
17
7
36
27
21
28
38
30
31
3
18
41
5
4
24
28
20
25
29
26
23
38
33
30
15
9
30
22
16
37
40
42
34
2
FIT
1:1
100%

Артикул

Название

Примечание

Количество

1

SBA340451090

HYDRAULIC PUMP

1шт.

2

SBA340016660

CONTROL VALVE

Manifold Diverter Block Refer to fig. 07.10 for Breakdown

1шт.

3

SBA340750260

BODY

Oil Filter, SBA011310640 Bolt Used

1шт.

4

87300044

HYDRAULIC OIL FILTER

Oil

1шт.

5

SBA340550270

HYD TUBE

Pipe

1шт.

6

SBA340706590

TUBE

SBA011310640 Bolt Used

1шт.

7

SBA340706560

HYD TUBE

1шт.

8

SBA340706603

HYD TUBE

1шт.

9

SBA340706570

HYD TUBE

1шт.

10

SBA398111120

HOSE

Rubber

1шт.

11

SBA011510840

BOLT,M6 x 40mm

8шт.

12

SBA012110855

STUD,M8 x 55

1шт.

13

SBA398115860

SPACER

1шт.

14

SBA398480240

BANJO BOLT,3/8"

PF

2шт.

15

SBA398480250

BANJO BOLT,1/2"

1шт.

16

SBA052310700

O-RING

G70

1шт.

17

SBA064500040

PLUG

1шт.

18

SBA340990390

GASKET

1шт.

19

SBA399112180

CLAMP

HST Line

1шт.

20

492-11031

LOCK WASHER,5/16"

1шт.

21

9706690

NUT,M8 x 1.25, Cl 8

1шт.

22

86402609

BRACKET

HYD Vacuum

1шт.

23

86402608

CLAMP

HYD Vacuum

1шт.

24

86511841

BOLT,Flng, M8 x 1.25 x 16mm, Full Thd, Cl 8.8

2шт.

25

492-11031

LOCK WASHER,5/16"

3шт.

26

86511842

BOLT,M8 x 1.25 x 48.1mm OAL, Cl 8.8

1шт.

27

82012725

HOSE CLAMP,#44, M32-44

2шт.

28

SBA052100200

O-RING,2.4mm Thk x 19.8mm ID, 70 Duro

5шт.

29

SBA052310250

O-RING

3шт.

30

SBA052110200

O-RING,2.4mm Thk x 19.8mm ID, 90 Duro

5шт.

31

120056

BOLT,M6 x 1.0 x 54.15mm, Cl 8.8

3шт.

32

9824259

WASHER,6.4mm ID x 12mm OD x 1.6mm Thk

3шт.

33

86530877

SWITCH

Cruise Control Brake Release

1шт.

34

86402616

BRACKET

Cruise Control Brake Release

1шт.

35

385683

BOLT,M4 x 0.7 x 12.92mm, Cl 8.8

2шт.

36

322355

BELLEVILLE WASHER,M4 Bolt Size x 10mm OD x 0.9mm Thk

2шт.

37

SBA340615950

HOSE

Pipe

1шт.

38

SBA398750420

HOSE CLAMP

2шт.

39

83966322

BRACKET

Bracket, DX31

1шт.

39

87519393

BRACKET

Bracket, DX34, DX35

1шт.

40

9804258

BOLT,Hex, M8 x 1.25 x 20mm, Cl 8.8

4шт.

41

86517328

LOCK WASHER,6.1mm ID x 11.8mm OD x 1.7mm Thk

3шт.

42

43118

BOLT,Hex, M6 x 1.0 x 40mm, Cl 8.8

3шт.

Выбрано товаров: 43