Запчасти Case IH DX35 (01.06) - CRANKSHAFT & PISTONS (01) - ENGINE

Схема запчастей Case IH DX35 - (01.06) - CRANKSHAFT & PISTONS (01) - ENGINE
28
15
10a
8
10a
14
2
6
29
7
6
9
10
10
17
7
11
7
30
23
13
31
12
25
18
12
21
20
10
3
10a
16
5
27
1
17
26
24
4
6
14
19
22
FIT
1:1
100%

Артикул

Название

Примечание

Количество

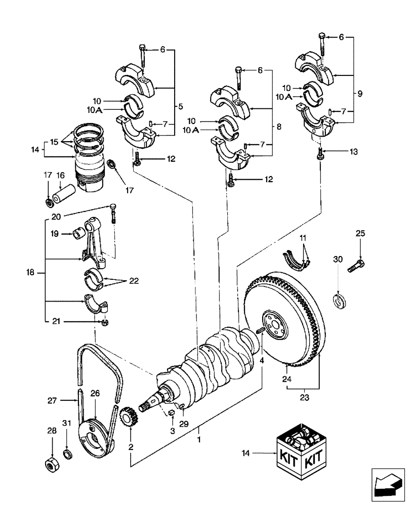
1

SBA115256760

CRANKSHAFT

Assy, Includes: Ref. 2, 4 and 29

1шт.

1

SBA115257020R

REMAN-CRANKSHAFT

Reman For New P/N SBA115256760, Assy

1шт.

1

SBA115257020C

CORE-CRANKSHAFT

Return Part Number

1шт.

2

SBA115276200

GEAR

1шт.

3

SBA048100008

BALL

Steel

1шт.

4

SBA030300816

PIN

Spring

1шт.

5

SBA110156370

BEARING CAP

Assy., Includes: Ref. 6 thru 7

1шт.

6

SBA010109406

BOLT

6шт.

7

SBA030509020

PIN

Dowel

6шт.

8

SBA110156380

BEARING CAP

Assy., Includes: Ref. 6 thru 7

1шт.

9

SBA110156390

BEARING CAP

Assy., Includes: Ref. 6 thru 7

1шт.

10

SBA198517230

LINER

Kit, Standard, Upper

3шт.

10a

SBA198517240

LINER

Kit Standard, Lower

3шт.

11

SBA199266200

THRUST WASHER

2шт.

12

SBA011511075

BOLT

M10 x 70

2шт.

13

SBA010700865

BOLT,M8 x 65mm

2шт.

14

SBA115017290

PISTON & RINGS KIT

Standard, Includes: Ref. 15

3шт.

15

SBA115104080

SET OF RINGS

Standard

3шт.

16

SBA115326220

PISTON PIN,33mm OD

3шт.

17

301642

SNAP RING,M28, Int

6шт.

18

SBA115026330

CONNECTING ROD

3шт.

SBA115026330R

REMAN-CONNECTING ROD

D35 PIN # HBA0005002 & ABOVE (12/00-8/01)

3шт.

SBA115026330C

CORE-ROD CONNECTING

Return Number

1шт.

19

SBA198517260

BUSHING

3шт.

20

SBA115176140

BOLT

6шт.

21

SBA020109120

NUT

6шт.

22

SBA198517250

LINER

Standard

6шт.

23

SBA115357770

ENGINE FLYWHEEL

Includes: Ref. 24

1шт.

24

SBA115376040

RING GEAR

1шт.

25

SBA010109341

BOLT

6шт.

26

SBA115397790

PULLEY

1шт.

27

86517954

V-BELT,0.50" W x 37.54" L

1шт.

28

SBA020109086

NUT

1шт.

29

SBA030509020

PIN

Dowel

1шт.

30

SBA040116001

BALL BEARING

Pilot

1шт.

31

86511328

WASHER,25mm ID x 44mm OD x 4mm Thk

1шт.

Выбрано товаров: 36