Запчасти Case IH DX35 (01.08) - ROCKER ARM (01) - ENGINE

Схема запчастей Case IH DX35 - (01.08) - ROCKER ARM (01) - ENGINE
13
7
11
6
1
8
17
3
14
16
13
17
15
3
2
10
13
2
14
13
2
4
17
3
12
9
5
7
17
8
FIT
1:1
100%

Артикул

Название

Примечание

Количество

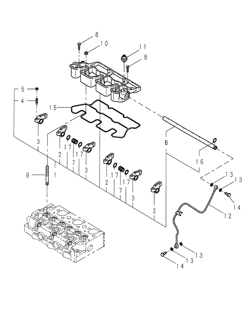
1

SBA120036930

ROCKER ARM

1шт.

2

SBA120356131

ROCKER ARM

Intake

3шт.

3

SBA120356141

ROCKER ARM

Exhaust

3шт.

4

SBA199486220

ADJUSTMENT SCREW

6шт.

5

SBA020109076

NUT

6шт.

6

SBA120316281

SHAFT

Rocker Arm

1шт.

7

SBA198217170

SPRING

2шт.

8

SBA011310635

CAPTIVE WASHER SCREW,Hex, M6 x 35, Cl 8.8

2шт.

9

SBA012109044

STUD

3шт.

10

SBA023100010

NUT

M10

3шт.

11

SBA185246060

SENDER UNIT

Engine Oil Pressure

1шт.

12

SBA140607280

RIGID TUBE

1шт.

12

SBA140607281

TUBE

1шт.

USED ON & ABOVE ENGINE SERIAL # 13309

1шт.

13

SBA140996260

SEAL

4шт.

14

SBA198486780

BANJO BOLT

2шт.

15

SBA120996140

GASKET

1шт.

16

SBA052109076

O-RING,2.4mm Thk x 10.8mm ID

1шт.

17

SBA199280300

SHIM,0.5mm Thk

4шт.

Выбрано товаров: 19