Запчасти Case IH DX35 (07.09.01) - MANIFOLD DIVERTER BLOCK - SBA340016600, SBA340016601, SBA340016620 & SBA340016621 (07) - HYDRAULIC SYSTEM

Схема запчастей Case IH DX35 - (07.09.01) - MANIFOLD DIVERTER BLOCK - SBA340016600, SBA340016601, SBA340016620 & SBA340016621 (07) - HYDRAULIC SYSTEM
20
7
14
13
8
6
19
5
7
20
11
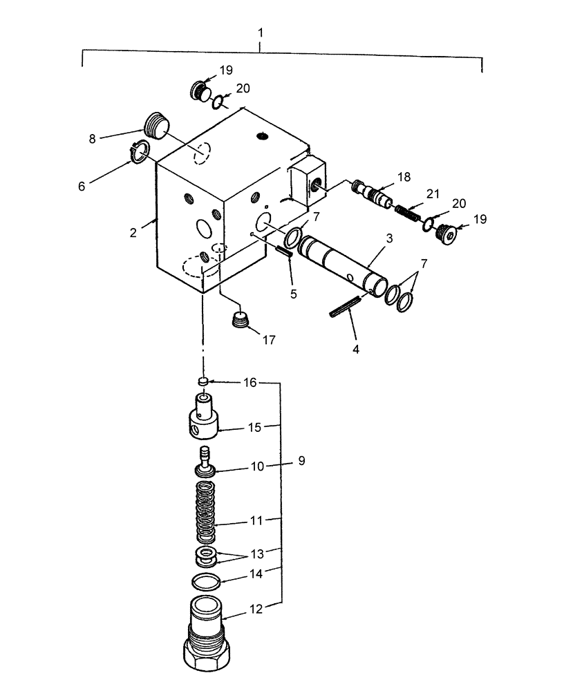
1
18
4
3
2
19
21
16
15
9
17
10
12
FIT
1:1
100%

Артикул

Название

Примечание

Количество

1

SBA340016600

HYDRAULIC VALVE

Block, Manifold Diverter, D35, DX35. Includes: Ref. 2-21

1шт.

1

SBA340016601

VALVE

Block, Manifold Diverter

1шт.

USED ON & ABOVE DRIVELINE # 3M61306

1шт.

1

SBA340016620

HYDRAULIC VALVE

Block, Manifold Diverter, D40, DX40 & D45, DX45 Includes: Ref. 2-21

1шт.

1

SBA340016621

VALVE

Block, Manifold Diverter, Dx40, DX40, D45, DX45 Includes: Ref. 2-21

1шт.

USED ON & ABOVE DRIVELINE #3M61306

1шт.

2

NSS

NOT SOLD SEPARAT

Body

1шт.

3

NSS

NOT SOLD SEPARAT

Spool

1шт.

4

SBA030300220

ROLL PIN

1шт.

5

SBA030300310

ROLL PIN

2шт.

6

SBA036100015

SNAP RING

1шт.

7

SBA052100110

O-RING,2.4mm Thk x 10.8mm ID

P10

3шт.

8

SBA064409005

PLUG,3/8"-18 NPTF

3шт.

9

SBA340293798

VALVE PRESSURE RELIE

D35, DX35 Includes: Ref. 10-16

1шт.

9

SBA340293786

VALVE

Relief Valve, D35, DX35 Includes: Ref. 10-16

1шт.

USED ON & ABOVE DRIVELINE # 3M61306

1шт.

USED WITH SBA340016601 MANIFOLD DIVERTER BLOCK VALVE

1шт.

9

SBA340293786

VALVE

Relief Valve. D40, DX40, D45, DX45 Includes: Ref. 10-16

1шт.

9

SBA340293828

VALVE

Relief Valve, D40, DX40, D45, Dx45 Includes: Ref. 10-16

1шт.

USED ON & ABOVE DRIVELINE # 3M61306

1шт.

USED WITH SBA340016621 MANIFOLD DIVERTER BLOCK VALVE

1шт.

10

NSS

NOT SOLD SEPARAT

Poppet

1шт.

11

NSS

NOT SOLD SEPARAT

Spring

1шт.

12

NSS

NOT SOLD SEPARAT

Plug

1шт.

13

SBA340293789

SHIM KIT

1шт.

14

SBA052400180

O-RING

S18

1шт.

15

NSS

NOT SOLD SEPARAT

Housing

1шт.

16

SBA340293799

PLUG

1шт.

17

SBA064400010

PLUG

Pipe Thread, 1/8"

1шт.

18

NSS

NOT SOLD SEPARAT

Diverter Spool

1шт.

19

NSS

NOT SOLD SEPARAT

Plug

2шт.

19

SBA340293827

PLUG

Plug G3/8

2шт.

USED ON & ABOVE DRIVELINE # 3M61306

1шт.

USED WITH SBA340016621 MANIFOLD DIVERTER BLOCK VALVE

1шт.

USED WITH SBA340016601 MANIFOLD DIVERTER BLOCK VALVE

1шт.

20

SBA052110140

O-RING

1шт.

21

NSS

NOT SOLD SEPARAT

Spring

1шт.

Выбрано товаров: 37