Запчасти Case IH DX40 (01.07) - TIMING GEAR CASE (01) - ENGINE

Схема запчастей Case IH DX40 - (01.07) - TIMING GEAR CASE (01) - ENGINE
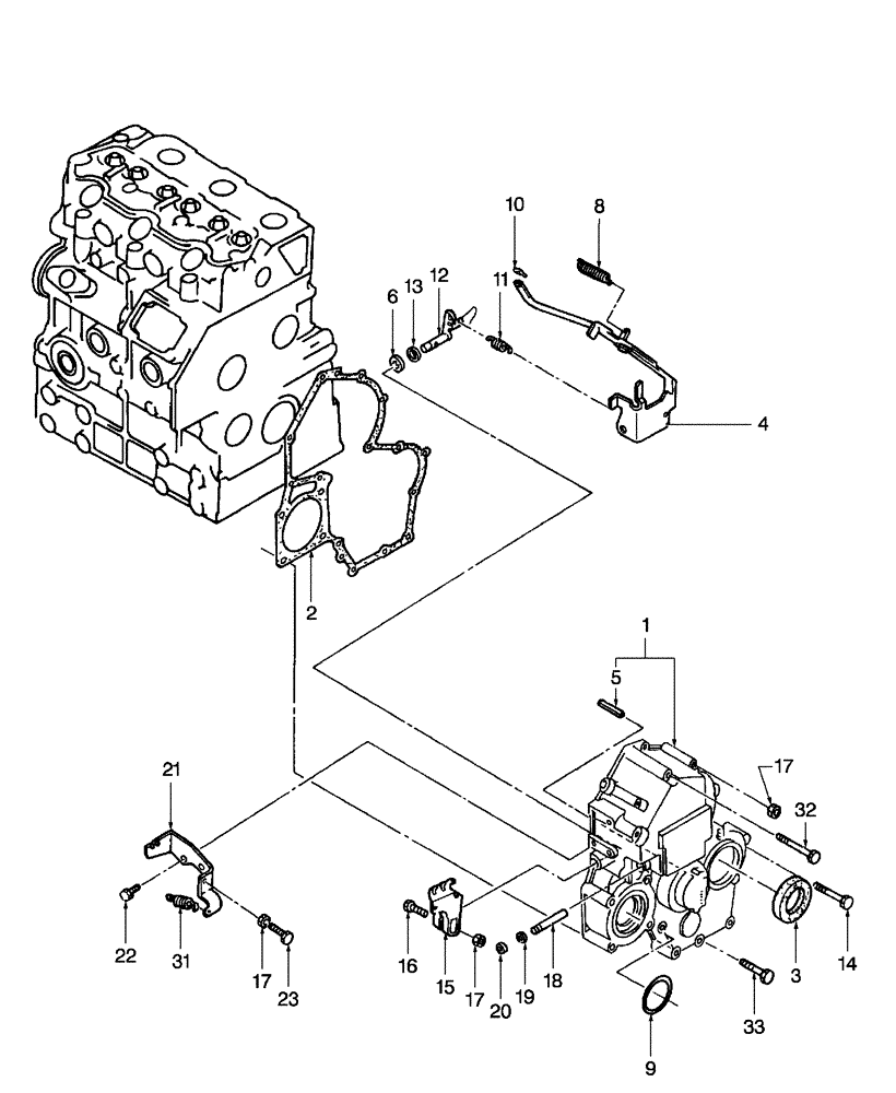
19
2
11
32
4
13
17
12
31
14
9
22
33
16
8
18
3
6
15
20
23
5
10
21
17
17
1
FIT
1:1
100%

Артикул

Название

Примечание

Количество

1

SBA165106520

CASE

Includes: Ref. 5

1шт.

2

SBA165996550

GASKET

1шт.

3

SBA198636160

SEAL,M35 x 55 x 11

Oil

1шт.

4

SBA125046370

LEVER

1шт.

DX40

1шт.

4

SBA125046380

LEVER

1шт.

DX45

1шт.

5

SBA030300414

PIN

Spring

1шт.

6

SBA036800008

SNAP RING

1шт.

8

SBA198217420

SPRING

Start

1шт.

9

SBA052300600

O-RING,G60

1шт.

10

SBA031100004

SPRING

1шт.

11

SBA198217320

SPRING

1шт.

12

SBA125156170

ARM

1шт.

13

SBA052100070

O-RING

1шт.

14

SBA011310660

BOLT

5шт.

15

SBA125416090

LEVER

1шт.

16

43117

SCREW,Hex, M6 x 1.0 x 30mm, Cl 8.8

1шт.

17

9804276

FLANGE NUT,Hex, M6 x 1, Cl 8

3шт.

18

SBA125116141

ROD

1шт.

19

SBA052100030

O-RING

1шт.

20

SBA036800005

SNAP RING

1шт.

21

SBA125976100

BRACKET

1шт.

22

SBA011310616

BOLT,M6 x 1 x 16, Cl 8.8

2шт.

23

SBA010109264

BOLT

1шт.

31

SBA398210070

SPRING

1шт.

32

SBA011310680

BOLT

M6 x 80

2шт.

33

SBA011310645

CAPTIVE WASHER SCREW,Hex, M6 x 45, Cl 8.8

6шт.

Выбрано товаров: 28