Запчасти Case IH DX40 (01.13.01) - FUEL INJECTION PUMP ASSEMBLY (01) - ENGINE

Схема запчастей Case IH DX40 - (01.13.01) - FUEL INJECTION PUMP ASSEMBLY (01) - ENGINE
8
21
15
1a
12
6
7
2
16
20
13
5
9
14
19
17
4
22
18
3
11
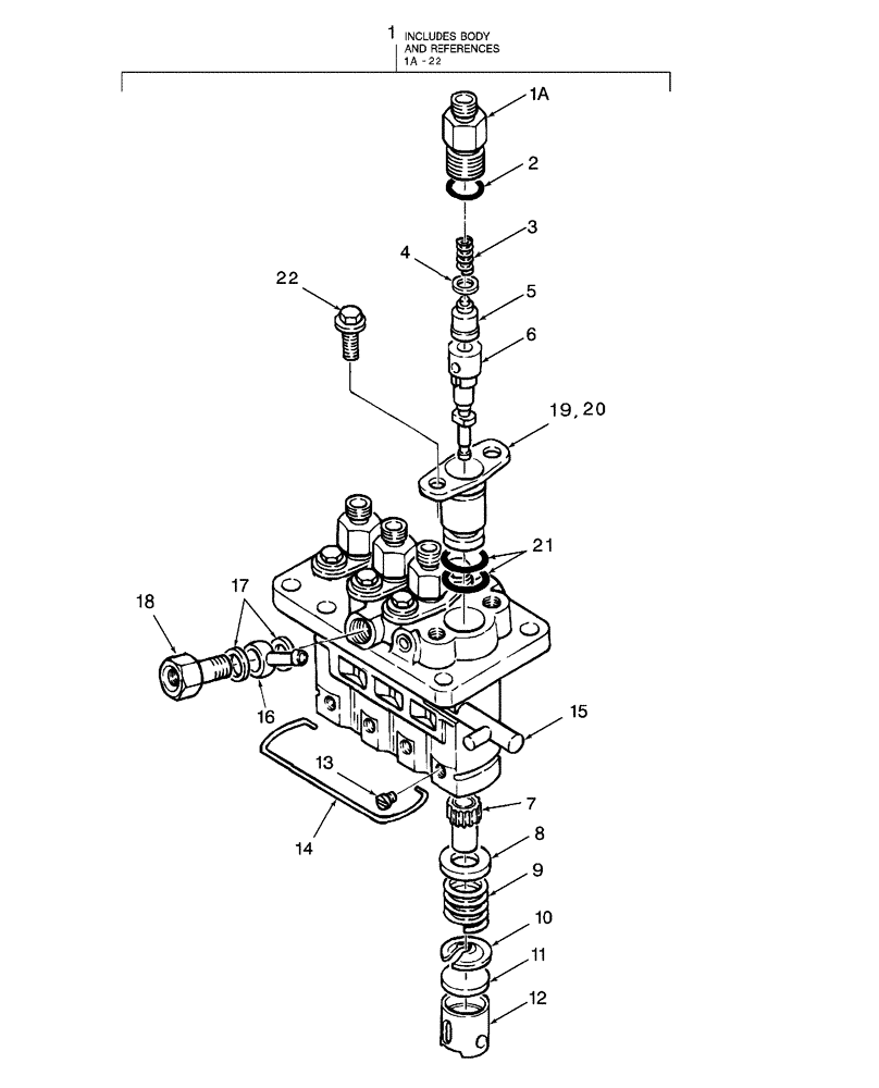
1
10
FIT
1:1
100%

Артикул

Название

Примечание

Количество

1

SBA131017690

FUEL INJECTION PUMP

Includes: Ref. 2 thru 22, DX40

1шт.

SBA131017691R

REMAN-FUEL INJ PUMP

DX40, DX45 both CASE IH 4 CYL COMPACT TRACTOR WITH CAB (7/06-), Reman for new P/N SBA131017690

1шт.

SBA131017691C

CORE-FUEL INJ PUMP

Return Number

1шт.

1

SBA131017740

FUEL INJECTION PUMP

Includes: Ref. 2 thru 22, DX45

1шт.

SBA131017741R

REMAN-FUEL INJ PUMP

DX40, DX45, Both (7/06-), Reman for New P/N SBA131017740

1шт.

SBA131017741C

CORE-FUEL INJ PUMP

Return Number

1шт.

1a

NSS

NOT SOLD SEPARAT

Holder

4шт.

2

NSS

NOT SOLD SEPARAT

O-Ring

4шт.

3

NSS

NOT SOLD SEPARAT

Spring

4шт.

4

NSS

NOT SOLD SEPARAT

Gasket

4шт.

5

NSS

NOT SOLD SEPARAT

Valve Assy., Delivery

4шт.

6

NSS

NOT SOLD SEPARAT

Plunger Assy.

4шт.

7

NSS

NOT SOLD SEPARAT

Sleeve Assy.

4шт.

8

NSS

NOT SOLD SEPARAT

Retainer, Spring

4шт.

9

NSS

NOT SOLD SEPARAT

Spring

4шт.

10

NSS

NOT SOLD SEPARAT

Retainer, Spring

4шт.

11

NSS

NOT SOLD SEPARAT

Plate

1шт.

12

NSS

NOT SOLD SEPARAT

Tappet Assy.

4шт.

13

NSS

NOT SOLD SEPARAT

Pin

4шт.

14

NSS

NOT SOLD SEPARAT

Ring, Snap

1шт.

15

NSS

NOT SOLD SEPARAT

Rack, Control

1шт.

16

NSS

NOT SOLD SEPARAT

Fitting, Banjo, Fits to SBA068209126, Hose Fig. 01.02 Ref.54

1шт.

17

NSS

NOT SOLD SEPARAT

Gasket

2шт.

18

NSS

NOT SOLD SEPARAT

Bolt

1шт.

19

NSS

NOT SOLD SEPARAT

Flange, Sleeve

3шт.

20

NSS

NOT SOLD SEPARAT

Flange, Sleeve

1шт.

21

NSS

NOT SOLD SEPARAT

O-Ring

8шт.

22

NSS

NOT SOLD SEPARAT

Bolt

8шт.

Выбрано товаров: 28