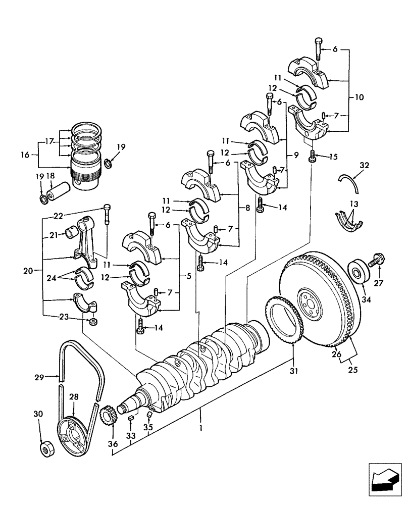
Запчасти Case IH DX40 (01.07) - CRANKSHAFT & PISTONS (01) - ENGINE

Схема запчастей Case IH DX40 - (01.07) - CRANKSHAFT & PISTONS (01) - ENGINE
14
11
13
10
14
22
16
19
7
12
32
14
9
29
5
18
23
11
26
25
31
11
11
12
21
1
36
12
6
33
7
15
34
20
7
6
24
17
8
6
35
12
7
30
6
27
28
19
FIT
1:1
100%

Артикул

Название

Примечание

Количество

1

SBA115256850

CRANKSHAFT

Includes: Ref. 30, 31, 33, 35 & 36 D40, DX40

1шт.

1

SBA115256850R

REMAN-CRANKSHAFT

D40 PIN # HBA0005005 & Above (12/00-), DX40 PIN # HBA0005006 & Above (12/00-8/03), Both Case IH Compact Tractor

1шт.

1

SBA115256850C

CORE-CRANKSHAFT

Return Number

1шт.

1

SBA115256840

CRANKSHAFT

Includes: Ref. 30, 31, 33, 35 & 36 D45, DX45

1шт.

1

SBA115256841R

REMAN-CRANKSHAFT

Reman For New P/N SBA115256840, D45 PIN # HBA0005005 & Above (12/00-), DX45 PIN # HBA0005007 & Above (12/00-11/03), Both Case IH Compact Tractor

1шт.

1

SBA115256841C

CORE-CRANKSHAFT

Return Number

1шт.

1

SBA115256841

CRANKSHAFT

Kit, Includes: Balancer Gear, Crankshaft Gear & Dowel Pins D45, DX45

1шт.

USED ON & ABOVE ENGINE SERIAL # 40029

1шт.

1

SBA115256841R

REMAN-CRANKSHAFT

D45 PIN # HBA0005005 & ABOVE (12/00-), DX45 PIN # HBA0005007 & ABOVE (12/00-11/03), Both CASE IH COMPACT TRACTOR, USED ON & ABOVE ENGINE SERIAL # 40029, Kit, Includes: Balancer Gear, Crankshaft Gear & Dowel Pins

1шт.

1

SBA115256841C

CORE-CRANKSHAFT

Return Number

1шт.

5

SBA110156250

HOLDER

Bearing, D40, DX40, Includes: Ref. 6 and 7

1шт.

5

SBA110156360

HOLDER

Assy. Bearing , D45, DX45, Includes: Ref. 6 and 7

1шт.

6

SBA010109406

BOLT

8шт.

7

SBA030500612

DOWEL

8шт.

8

SBA110156171

HOLDER

Bearing, D40, DX40, Includes: Ref. 6 and 7

1шт.

8

SBA110156370

BEARING CAP

Bearing, D45, DX45, Includes: Ref. 6 and 7

1шт.

9

SBA110156181

HOLDER

Bearing, D40, DX40, Includes: Ref. 6 and 7

1шт.

9

SBA110156380

BEARING CAP

Bearing, D45, DX45, Includes: Ref. 6 and 7

1шт.

10

SBA110156191

HOLDER

Assy. Bearing, D40, DX40, Includes: Ref. 6 and 7

1шт.

10

SBA110156390

BEARING CAP

Assy. Bearing, D45, DX45, Includes: Ref. 6 and 7

1шт.

11

SBA198517230

LINER

Bearing, Standard

4шт.

11

SBA198517234

LINER

Bearing, U.S, .010" or 0.25 mm

4шт.

11

SBA198517237

LINER

Bearing, U.S, .020" or 0.50 mm

4шт.

12

SBA198517240

LINER

Bearing, Standard

4шт.

12

SBA198517244

LINER

Bearing, U.S, .010" or 0.25 mm

4шт.

12

SBA198517247

LINER

Bearing, U.S, .020" or 0.50 mm

4шт.

13

SBA199266200

THRUST WASHER

2шт.

14

SBA011511070

BOLT,M10 x 70

3шт.

15

SBA010700860

BOLT

M8 x 60

2шт.

16

SBA115017400

PISTON & RINGS KIT

Standard, D40, DX40

4шт.

16

SBA115017310

PISTON & RINGS KIT

Standard, D45, DX45

4шт.

17

SBA115104080

SET OF RINGS

Standard

4шт.

18

SBA115326220

PISTON PIN,33mm OD

4шт.

19

301642

SNAP RING,M28, Int

8шт.

20

SBA115026251

CONNECTING ROD

D40, DX40, Includes: Ref. 21 thru 23

4шт.

SBA115026251R

REMAN-CONNECTING ROD

D40,D45 Both PIN # HBA0005005 & ABOVE (12/00-),DX40 PIN # HBA0005006 & ABOVE (12/00-8/03),DX45 PIN # HBA0005007 & ABOVE (12/00-11/033)

4шт.

SBA115026251C

CORE-ROD CONNECTING

Return Number

1шт.

20

SBA115026330

CONNECTING ROD

D45, DX45, Includes: Ref. 21 thru 23

4шт.

SBA115026330R

REMAN-CONNECTING ROD

D45, DX45, Both PIN # HBA0005005 & Above (12/00)

4шт.

SBA115026330C

CORE-ROD CONNECTING

Return Number

1шт.

21

SBA198517260

BUSHING

4шт.

22

SBA115176140

BOLT

Connecting Rod

8шт.

23

SBA020109120

NUT

8шт.

24

SBA198517250

LINER

Bearing, Standard

8шт.

24

SBA198517254

LINER

Bearing, U.S, .010" or 0.25 mm

8шт.

24

SBA198517257

LINER

Bearing, U.S, .020" or 0.50 mm

8шт.

25

SBA115357780

ENGINE FLYWHEEL

D40, DX40, Includes: Ref. 26

1шт.

25

SBA115357790

ENGINE FLYWHEEL

D45, DX45, Includes: Ref. 26

1шт.

26

SBA115376040

RING GEAR

D40, DX40

1шт.

26

SBA115376160

RING GEAR

D45, DX45

1шт.

27

SBA010109341

BOLT

6шт.

28

SBA115397960

PULLEY

Crankshaft

1шт.

29

301525A1

BELT,37.43” OAL

1шт.

30

SBA020109086

NUT

1шт.

31

SBA165416330

GEAR

Balancer, D40, DX40

1шт.

31

SBA165416450

GEAR

Balancer, D45, DX45

1шт.

USED BEFORE ENGINE SERIAL # 40029

1шт.

32

SBA199266210

THRUST WASHER

1шт.

33

SBA034100508

KEY

1шт.

34

SBA040116001

BALL BEARING

Pilot, Dual Clutch, 6001Z

1шт.

Pilot bearing to be located in engine flywheel

1шт.

35

SBA030509020

PIN

Dowel

1шт.

36

SBA115276270

GEAR

Crankshaft

1шт.

Выбрано товаров: 0