Запчасти Case IH DX45 (01.13) - FUEL INJECTION PUMP & LINES (01) - ENGINE

Схема запчастей Case IH DX45 - (01.13) - FUEL INJECTION PUMP & LINES (01) - ENGINE
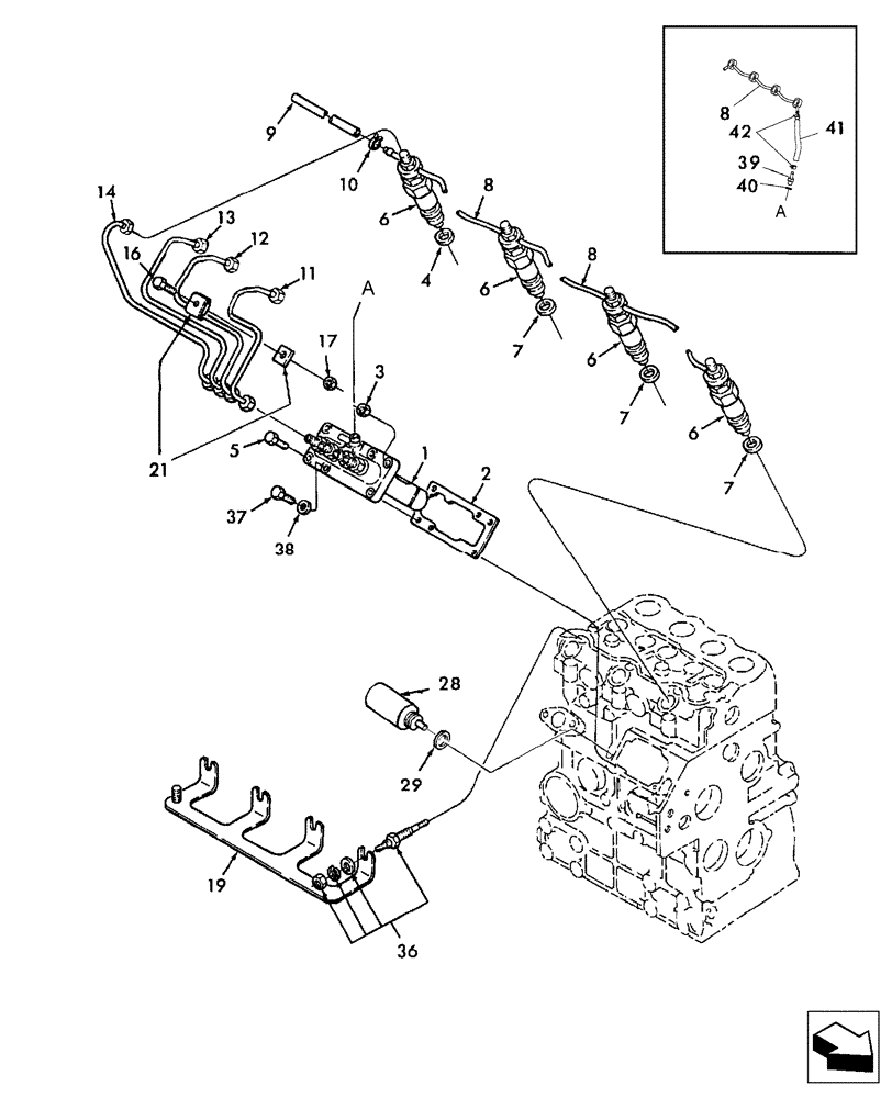
1
14
40
6
8
12
39
41
6
10
19
7
37
16
3
29
8
17
6
13
7
28
38
8
42
11
2
4
21
36
7
6
5
9
FIT
1:1
100%

Артикул

Название

Примечание

Количество

1

SBA131017690

FUEL INJECTION PUMP

DX40 Components Not Serviced Separately

1шт.

1

SBA131017740

FUEL INJECTION PUMP

DX45 Components Not Serviced Separately

1шт.

1

SBA131017741R

REMAN-FUEL INJ PUMP

DX40, DX45, Both (7/06-), Reman for New P/N SBA131017740

1шт.

1

SBA131017741C

CORE-FUEL INJ PUMP

Return Number

1шт.

2

SBA131426320

SHIM KIT

Includes: 0.2, 0.3, 0.4, & 0.5 Shims

1шт.

3

9804277

FLANGE NUT,Hex, M8 x 1.25, Cl 8

3шт.

4

SBA131426200

SEAL

1шт.

5

SBA011800820

BOLT

2шт.

6

SBA131406360

FUEL SYSTEM INJECTOR

4шт.

6

87298764

REMAN-FUEL INJECTOR

4шт.

6

87298765

CORE-FUEL INJECTOR

Return Number

4шт.

7

SBA131426200

SEAL

3шт.

8

SBA131606950

TUBE

Fuel Return Tube

1шт.

9

SBA068209030

FLEXIBLE HOSE

Rubber

1шт.

10

SBA067200078

HOSE CLAMP

2шт.

11

SBA131507601

TUBE

Injection, DX40

1шт.

11

SBA131507700

RIGID TUBE

Injection, DX45

1шт.

12

SBA131507611

TUBE

Injection, DX40

1шт.

12

SBA131507710

RIGID TUBE

Injection, DX45

1шт.

13

SBA131507620

RIGID TUBE

Injection, DX40

1шт.

13

SBA131507720

RIGID TUBE

Injection, DX45

1шт.

14

SBA131507630

RIGID TUBE

Injection, DX40

1шт.

14

SBA131507730

RIGID TUBE

Injection, DX45

1шт.

16

86977786

BOLT,Hex, M6 x 1 x 25mm, Cl 8.8

3шт.

17

9804276

FLANGE NUT,Hex, M6 x 1, Cl 8

3шт.

19

SBA185376150

BRACKET

1шт.

Not Included in Long Block

1шт.

21

SBA199106020

CLAMP

Complete

6шт.

28

SBA185206083

SOLENOID

Fuel Shutoff

1шт.

Not Included in Long Block

1шт.

29

SBA025100016

WASHER,16.4mm ID x 27mm OD x 2mm Thk

Seal

1шт.

36

SBA185366190

GLOW PLUG

4шт.

37

86512138

HEX SOC SCREW,M8 x 20mm, Cl 12.9

1шт.

38

SBA026200008

WASHER

Seal

1шт.

39

SBA198487920

HYD CONNECTOR

1шт.

40

SBA140996350

COPPER WASHER,8.36mm ID x 12.98mm OD x 1.02mm Thk

Gasket

1шт.

41

SBA068204090

RIGID TUBE

DX40

1шт.

41

SBA068204112

HOSE

DX45

1шт.

42

SBA067200078

HOSE CLAMP

2шт.

Выбрано товаров: 39