Запчасти Case IH DX48 (01.10.01) - FUEL INJECTION PUMP ASSEMBLY (01) - ENGINE

Схема запчастей Case IH DX48 - (01.10.01) - FUEL INJECTION PUMP ASSEMBLY (01) - ENGINE
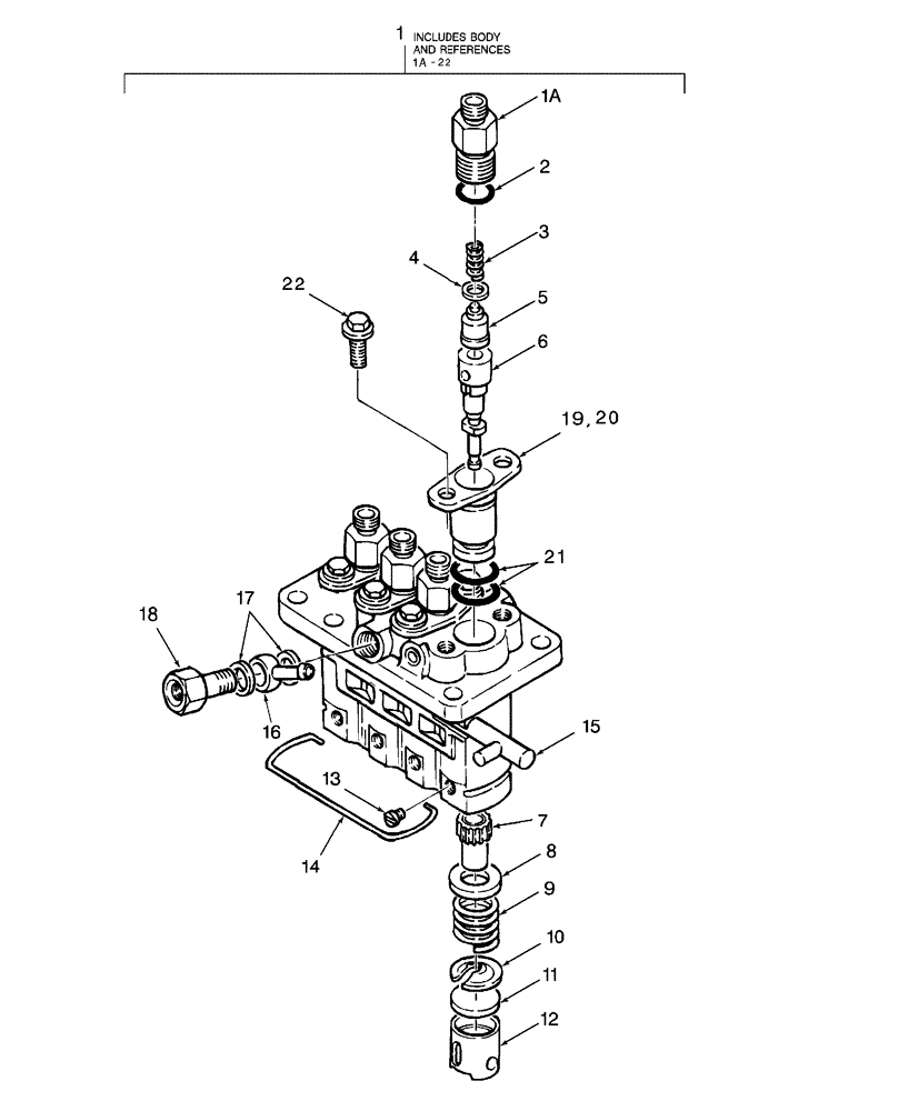
9
20
7
1a
10
18
4
14
1
16
17
13
6
22
2
3
19
11
21
12
15
5
8
FIT
1:1
100%

Артикул

Название

Примечание

Количество

1

SBA131017800

FUEL INJECTION PUMP

1шт.

SBA131017801R

REMAN-INJECTION PUMP

DX48 SN CV10001-CV10033, HDG500034-Z6NFA1001 & ABOVE, DX55 SN CX10004-CX10083, HDG600084-Z6NFB1001 & ABOVE all (11/03-) Reman for New P/N SBA131017800

1шт.

SBA131017801C

CORE-INJECTION PUMP

Return Number

1шт.

1a

SBA131196200

HOLDER

4шт.

2

SBA052109078

O-RING,2.4mm Thk x 9.8mm ID

4шт.

3

NSS

NOT SOLD SEPARAT

Spring

4шт.

4

SBA131186110

SEAL

4шт.

5

NSS

NOT SOLD SEPARAT

Valve Assy., Delivery

4шт.

6

NSS

NOT SOLD SEPARAT

Plunger Assy.

4шт.

7

NSS

NOT SOLD SEPARAT

Sleeve Assy.

4шт.

8

NSS

NOT SOLD SEPARAT

Retainer, Spring

4шт.

9

NSS

NOT SOLD SEPARAT

Spring

4шт.

10

NSS

NOT SOLD SEPARAT

Retainer, Spring

4шт.

11

NSS

NOT SOLD SEPARAT

Plate

1шт.

12

NSS

NOT SOLD SEPARAT

Tappet Assy.

4шт.

13

NSS

NOT SOLD SEPARAT

Pin

4шт.

14

NSS

NOT SOLD SEPARAT

Ring, Snap

1шт.

15

NSS

NOT SOLD SEPARAT

Rack, Control

1шт.

16

SBA131246010

FITTING

Fitting, Banjo

1шт.

17

SBA131296255

SEAL

2шт.

18

SBA131246170

BOLT

Eye

1шт.

19

NSS

NOT SOLD SEPARAT

Flange, Sleeve

3шт.

20

NSS

NOT SOLD SEPARAT

Flange, Sleeve

1шт.

21

SBA131227240

O-RING,18.8mm ID x 1.9mm Width

8шт.

22

SBA131136430

BOLT

8шт.

Выбрано товаров: 25