Запчасти Case IH DX48 (02.01.04) - BATTERY STAND HOLDER & HOOD LATCH - ON & ABOVE PIN HDG500156 DX48 & HDG600483 DX55 (02) - ENGINE EQUIPMENT

Схема запчастей Case IH DX48 - (02.01.04) - BATTERY STAND HOLDER & HOOD LATCH - ON & ABOVE PIN HDG500156 DX48 & HDG600483 DX55 (02) - ENGINE EQUIPMENT
7
25
2
13
4
14
20
26
24
11
17
6
4
14
26
23
16
13
9
8
12
6
3
5
15
14
13
10
1
FIT
1:1
100%

Артикул

Название

Примечание

Количество

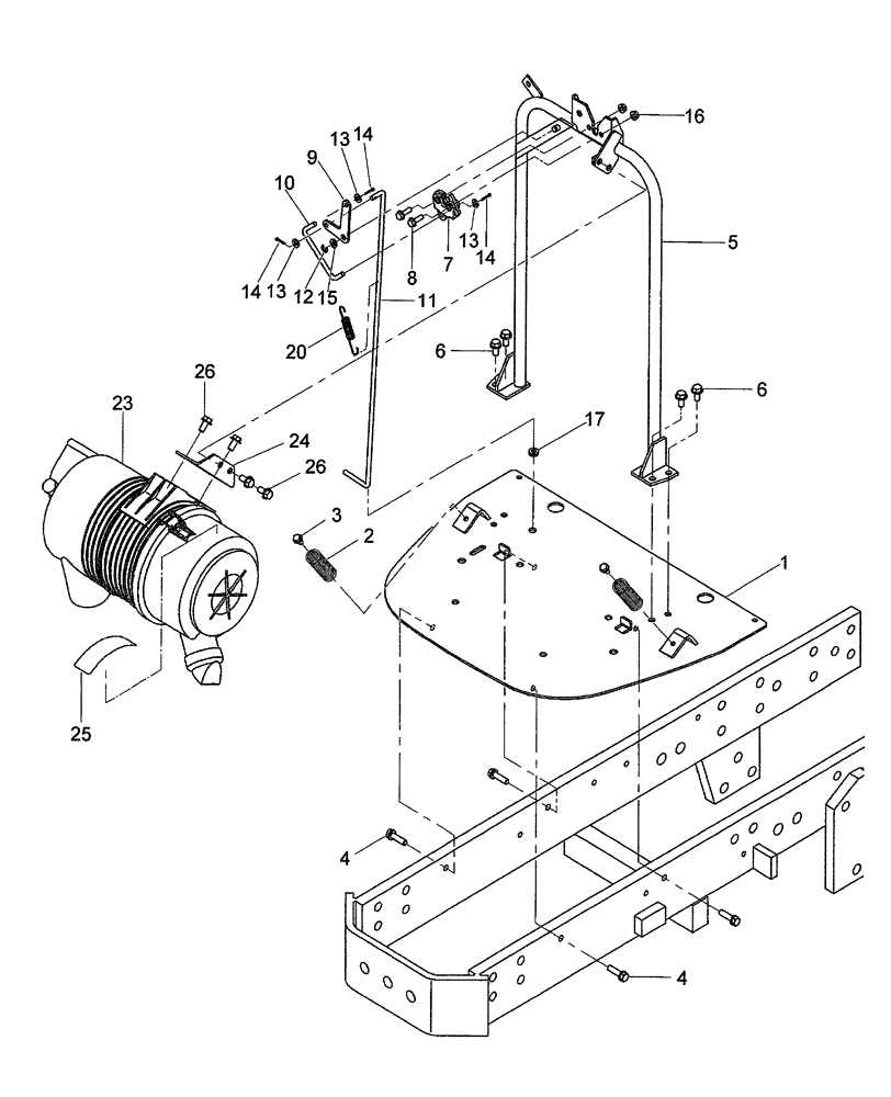
1

SBA389102270

PLATE

Battery Stand

1шт.

2

SBA398214941

SPRING

2шт.

3

SBA010800616

BOLT

M6 x 16

2шт.

4

SBA010800816

BOLT

M8 x 16

4шт.

5

SBA314601770

SUPPORT

BRACE

1шт.

6

SBA011510816

BOLT

M8 x 16

4шт.

7

SBA350200180

HANGER

Latch Mechanism

1шт.

8

SBA010800620

BOLT

M6 x 20

2шт.

9

SBA350210250

HANGER

1шт.

10

SBA350210260

HANGER

1шт.

11

SBA350210240

HANGER

1шт.

12

SBA036800006

SNAP RING

1шт.

13

9824259

WASHER,6.4mm ID x 12mm OD x 1.6mm Thk

3шт.

14

SBA030102020

COTTER PIN

3шт.

15

86511315

WASHER,8.4mm ID x 16mm OD x 1.8mm Thk

1шт.

16

SBA022400006

NUT

M6

2шт.

17

SBA398114510

RUBBER SEAL

1шт.

18

SBA389113160

COVER

1шт.

19

SBA010800616

BOLT

M6 x 16

2шт.

20

SBA398211830

SPRING

1шт.

22

SBA398121080

RUBBER SEAL

1шт.

23

SBA314500940

AIR CLEANER

AIR CLEANER

1шт.

24

SBA314610700

BRACKET

BRACKET

1шт.

25

SBA390199100

DECAL

DECAL, CIH

1шт.

USED BELOW PIN # Z6NFA1034 DX48, Z6NFB1015 DX55

1шт.

26

SBA011510816

BOLT

M8 x 16

4шт.

Выбрано товаров: 26