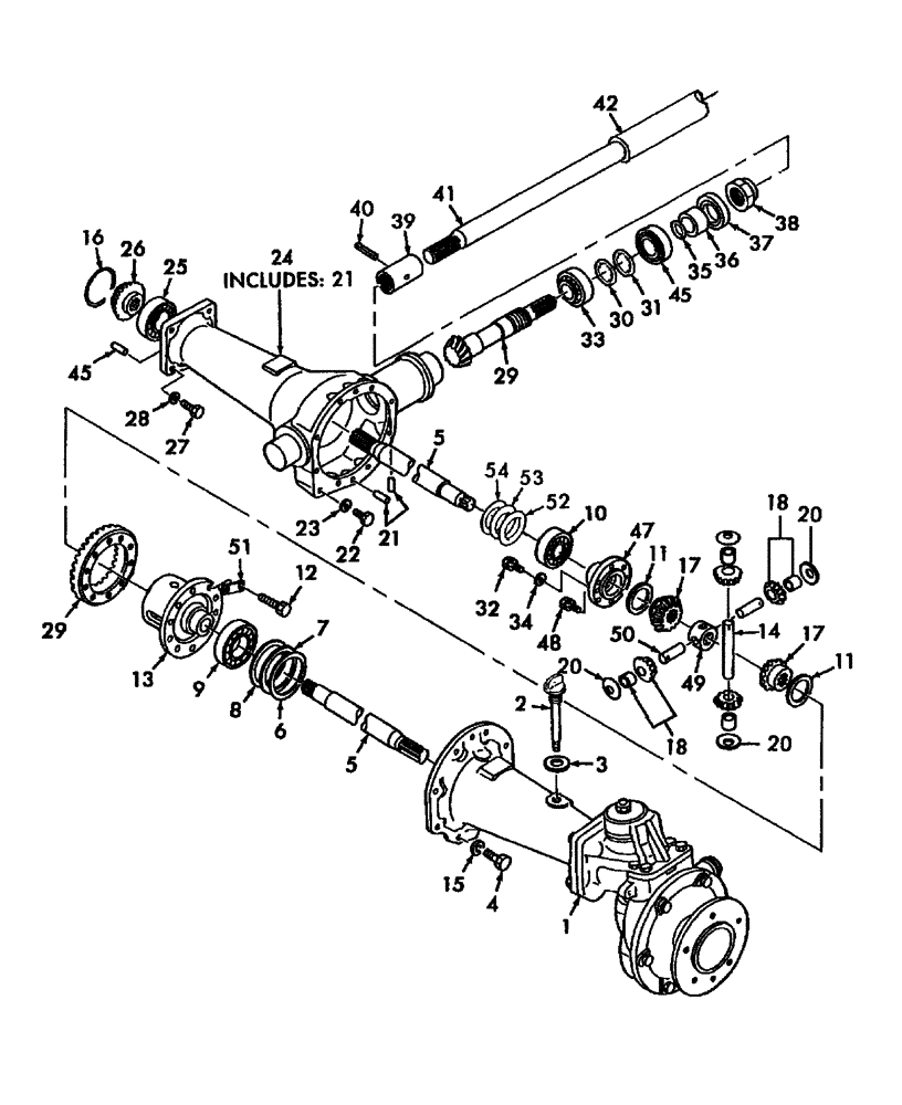
Запчасти Case IH DX48 (04.06) - FRONT DIFFERENTIAL GEARS W/FWD (04) - FRONT AXLE & STEERING

Схема запчастей Case IH DX48 - (04.06) - FRONT DIFFERENTIAL GEARS W/FWD (04) - FRONT AXLE & STEERING
21
23
28
33
45
11
39
40
45
21
38
15
20
18
48
41
49
1
30
37
27
36
6
5
51
4
9
32
11
20
34
31
42
17
26
3
12
50
2
35
8
29
22
29
52
5
20
7
47
18
14
24
10
17
54
16
25
13
53
FIT
1:1
100%

Артикул

Название

Примечание

Количество

1

SBA326345300

CASE

Wheel Shaft, L.H.

1шт.

2

SBA398400150

DIPSTICK

1шт.

2

SBA398400450

DIPSTICK

1шт.

USED ON & ABOVE PIN # HDG500151 DX48 & HDG600383 DX55

1шт.

3

SBA398990050

GASKET

1шт.

3

SBA025100020

SEALING WASHER,16.4mm ID x 27mm OD x 2mm Thk

1шт.

USED ON & ABOVE PIN # HDG500151 DX48 & HDG600383 DX55

1шт.

4

SBA010109305

BOLT

8шт.

5

SBA326211720

SHAFT

Differential

2шт.

6

SBA199280870

SHIM,0.1mm Thk

1шт.

7

SBA199280880

SHIM,0.2mm Thk

1шт.

8

SBA199280890

SHIM

0.5T

1шт.

9

SBA040306211

BEARING ASSY

1шт.

10

SBA040306011

BEARING ASSY

1шт.

11

SBA399261330

THRUST WASHER

2шт.

12

SBA010411022

BOLT

10шт.

13

SBA326110572

HOUSING

Differential

1шт.

14

SBA326130360

SHAFT

Pinion

1шт.

15

140030

LOCK WASHER,M14

M12

8шт.

16

SBA052301050

O-RING

2шт.

17

SBA326140260

GEAR

Differential

2шт.

18

SBA322030150

PLANETARY GEAR

4шт.

20

SBA399260270

THRUST WASHER

4шт.

21

SBA030501032

PIN

Dowel

2шт.

22

SBA010411212

DRAIN PLUG,M12 x 1.25

3шт.

23

SBA025100012

WASHER,12.4mm ID x 19mm OD x 2mm Thk

Seal

3шт.

24

SBA322018020

CASING

Wheel Shaft, R.H.

1шт.

25

86511837

BALL BEARING

2шт.

26

SBA326240730

PINION

Final

2шт.

27

385922

BOLT,Hex, M16 x 2 x 45mm, Cl 8.8

10шт.

28

86729275

LOCK WASHER,5/8 0.634 CST ZND

10шт.

29

SBA322051320

DRIVE PINION

Ring Gear 8 Teeth, Pinion 33 Teeth

1шт.

USED BELOW PIN # HDG500151 DX48 & HDG600449 DX55

1шт.

29

SBA322051440

DRIVE PINION

Ring Gear & Pinion

1шт.

30

SBA199280690

SHIM,0.1mm Thk

1шт.

31

SBA199280700

SHIM,0.2mm Thk

1шт.

32

SBA010109598

BOLT

3шт.

33

SBA042532207

BALL BEARING,35mm ID x 80mm OD x 22.75mm W

Taper Roller

1шт.

34

E630153S71

LOCK WASHER,M8

8шт.

35

SBA052300300

O-RING

1шт.

36

SBA399234050

COLLAR

1шт.

37

SBA050202350

SEAL

Oil

1шт.

38

SBA399370610

NUT

1шт.

39

SBA322611330

COUPLING

2шт.

40

300869

LOCK PIN,6mm OD x 40mm L, Slotted

2шт.

41

SBA322512990

DRIVE SHAFT

1шт.

42

SBA320171740

PIPE

1шт.

45

SBA042530207

BEARING ASSY

Taper Roller

1шт.

47

SBA326110560

HOUSING

Differential

1шт.

48

N602550S36

BOLT

M8 x 25

5шт.

49

SBA326170070

SHAFT

1шт.

50

SBA326130350

SHAFT

Pinion

2шт.

51

SBA399310300

PLATE

Lock

5шт.

52

SBA199280810

SHIM,0.1mm Thk

1шт.

53

SBA199280820

SHIM,0.2mm Thk

1шт.

54

SBA199280830

SHIM,0.5mm Thk

1шт.

Выбрано товаров: 56