Запчасти Case IH DX55 (02.01.01) - RADIATOR ASSEMBLY (02) - ENGINE EQUIPMENT

Схема запчастей Case IH DX55 - (02.01.01) - RADIATOR ASSEMBLY (02) - ENGINE EQUIPMENT
15
1
4
10
14
5
8
7
12
13
10
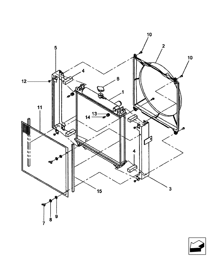
2
11
3
9
6
4
FIT
1:1
100%

Артикул

Название

Примечание

Количество

1

SBA310101200

RADIATOR

Includes: Ref. 2-15 Uses SBA310110230 Cap 0.9 Bar or 13 PSI

1шт.

1

SBA310101201

RADIATOR

Includes: Ref. 2-15 Uses SBA310110240 Cap 1.1 Bar or 16 PSI

1шт.

2

SBA310250250

SHROUD

1шт.

3

SBA310301120

SUPPORT

L

1шт.

4

SBA398136220

FOAM

4шт.

5

SBA310301130

SUPPORT

R

1шт.

6

SBA310110230

CAP COVER

0.9 Bar or 13 PSI

1шт.

Used with SBA310101200 Radiator

1шт.

6

SBA310110240

CAP COVER

1.1 Bar or 16 PSI

1шт.

Used with SBA310101201 Radiator

1шт.

7

SBA014110612

SPECIAL BOLT

Wing

2шт.

8

SBA027100006

WASHER

M6

2шт.

9

SBA026100006

WASHER

M6

2шт.

10

SBA011150620

BOLT

M6 x 20

4шт.

11

SBA310141040

SCREEN

1шт.

12

SBA011150612

BOLT

M6 x 12

4шт.

13

SBA310190480

GROMMET

Rubber

2шт.

14

SBA310190481

BUSHING

2шт.

15

SBA398136330

FOAM

2шт.

Выбрано товаров: 0