Запчасти Case IH DX55 (03.01.04) - CLUTCH PEDAL - SSS (03) - TRANSMISSION

Схема запчастей Case IH DX55 - (03.01.04) - CLUTCH PEDAL - SSS (03) - TRANSMISSION
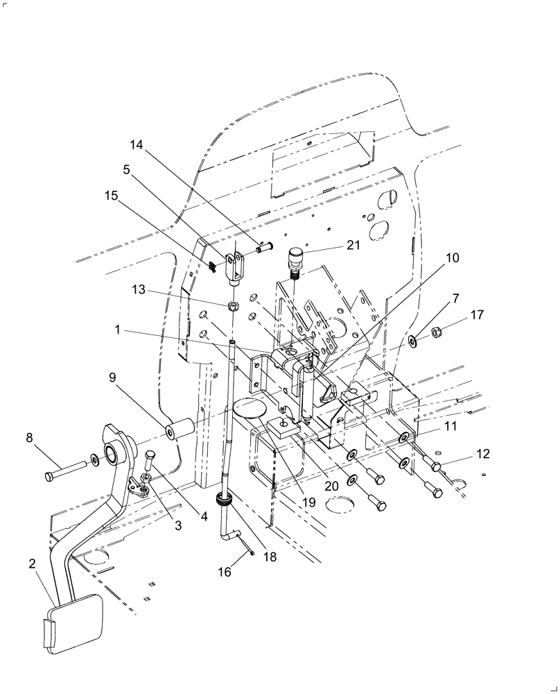
12
3
4
21
7
15
10
13
20
17
11
14
2
8
16
19
9
5
18
1
FIT
1:1
100%

Артикул

Название

Примечание

Количество

1

87651964

BRACKET, SUPPORTING

Clutch

1шт.

2

87660843

PEDAL

SSS

1шт.

3

100016

NUT,M10 x 1.5, Cl 8

1шт.

4

9706704

BOLT,Hex, M10 x 1.5 x 41.58mm, Cl 8.8

1шт.

5

236323A1

CLEVIS

1шт.

6

87635236

LINKAGE

Clutch

1шт.

7

895-15010

WASHER,11mm ID x 24mm OD x 2mm Thk

2шт.

8

BER120116

SCREW

1шт.

9

87653718

HUB

Clutch Pedal

1шт.

10

87635067

SPRING

Pedal

1шт.

11

86624184

WASHER,9mm ID x 16mm OD x 1.6mm Thk

4шт.

12

43127

BOLT,Hex, M8 x 1.25 x 25mm, Cl 8.8

4шт.

13

829-1410

NUT,M10 x 1.5, Cl 10.9

1шт.

14

192869A1

CLEVIS PIN

1шт.

15

193182A1

CLIP

1шт.

16

733-4032

COTTER PIN,M4 x 32

1шт.

17

100016

NUT,M10 x 1.5, Cl 8

Nut, M10

1шт.

18

87550538

GROMMET

Cab Sealing

1шт.

19

87448669

SEAL

1шт.

20

87656851

FOAM

2шт.

21

SBA385200891

SWITCH

Clutch Pedal

1шт.

Выбрано товаров: 21