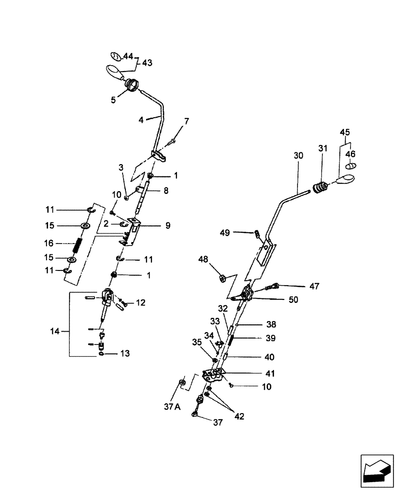
Запчасти Case IH DX55 (03.06) - COLUMN SHIFT - EHSS (03) - TRANSMISSION

Схема запчастей Case IH DX55 - (03.06) - COLUMN SHIFT - EHSS (03) - TRANSMISSION
12
8
47
31
37
13
35
34
44
15
46
33
11
1
11
45
3
41
50
7
49
9
10
30
4
11
48
40
32
38
39
14
10
2
43
42
5
16
1
37a
FIT
1:1
100%

Артикул

Название

Примечание

Количество

1

SBA398511430

BUSHING

2шт.

2

SBA036800019

SNAP RING

2шт.

3

SBA022600010

NUT

M10

1шт.

4

SBA324107820

LEVER

Change, Main

1шт.

5

SBA398121740

RUBBER

1шт.

7

SBA010109269

BOLT

1шт.

8

SBA324203300

ARM

Shift

1шт.

9

SBA334650560

SUPPORT

1шт.

10

SBA011510812

CAPTIVE WASHER SCREW,Hex, M8 x 12, G5

4шт.

11

SBA036800012

SNAP RING

2шт.

12

43234

BOLT,Hex, M8 x 1.25 x 25mm, Cl 10.9, Full Thd

1шт.

13

370001

SNAP RING,M22, External

1шт.

14

SBA324040500

LINK

1шт.

15

SBA026109092

WASHER

2шт.

16

SBA398212310

SPRING

1шт.

30

SBA324107840

LEVER

Change, Foward & Reverse

1шт.

31

SBA398119280

RUBBER

1шт.

32

SBA398511440

DRIVE BUSHING

2шт.

33

SBA324350790

ARM

Shift Link

1шт.

34

SBA399567800

PLATE

1шт.

35

SBA398511570

BUSHING

1шт.

37

SBA385202890

SWITCH

EHSS Shuttle

1шт.

37a

SBA020800018

NUT

M18

1шт.

38

V34014

BALL

Steel

2шт.

39

SBA398210460

SPRING

2шт.

40

SBA398511790

DRIVE BUSHING

1шт.

41

SBA324500760

GUIDE

Shift

1шт.

42

9706685

NUT,M12 x 1.75, Cl 8

2шт.

43

SBA398182050

GRIP

Main

1шт.

44

SBA390174240

DECAL

Gear Shift 1-4

1шт.

45

SBA398182060

GRIP

Forward & Reverse

1шт.

46

SBA390174230

DECAL

Forward & Reverse

1шт.

47

SBA010701040

BOLT

M10 x 40

1шт.

48

SBA022400010

NUT

Nut, M10

1шт.

49

SBA398214400

SPRING

1шт.

50

SBA324203041

ARM

1шт.

Выбрано товаров: 36