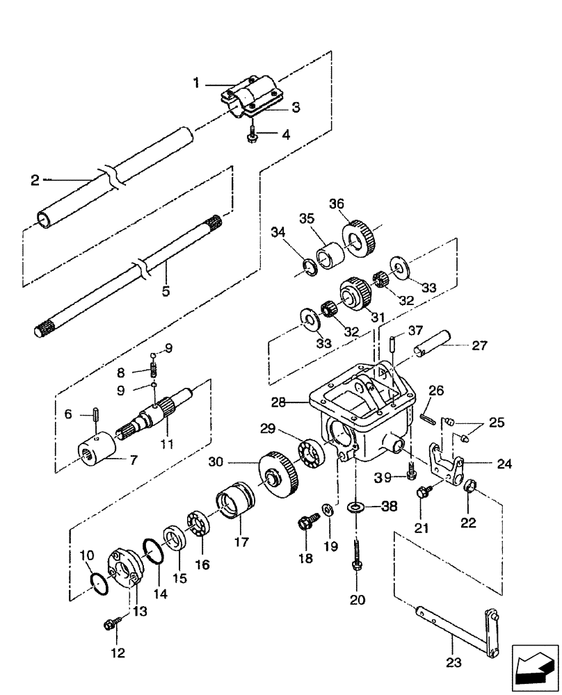
Запчасти Case IH DX55 (03.10) - FWD DROP BOX (03) - TRANSMISSION

Схема запчастей Case IH DX55 - (03.10) - FWD DROP BOX (03) - TRANSMISSION
9
38/
18
17
19
27
3
26
14
12
23
5
13
25
33
2
34
10
22
11
16
32
24
1
37
35
6
33
4
9
39
15
31
21
32
36
29
7
20
8
28
30
FIT
1:1
100%

Артикул

Название

Примечание

Количество

1

SBA378104020

GUARD

1шт.

2

SBA320171740

PIPE

1шт.

3

SBA378114820

GUARD

1шт.

4

SBA011510812

CAPTIVE WASHER SCREW,Hex, M8 x 12, G5

4шт.

5

SBA322512990

DRIVE SHAFT

1шт.

6

300869

LOCK PIN,6mm OD x 40mm L, Slotted

3шт.

7

SBA322611330

COUPLING

2шт.

8

SBA398210460

SPRING

1шт.

9

V34014

BALL

Steel

2шт.

10

SBA052300450

O-RING

1шт.

11

SBA322514210

DRIVEN SHAFT

1шт.

12

SBA011510820

CAPTIVE WASHER SCREW,Hex, M8 x 20, G5

3шт.

13

SBA322142200

COVER

Seal

1шт.

14

SBA052300550

O-RING

1шт.

15

SBA050202332

SEAL

1шт.

16

28042470

BALL BEARING,35mm ID x 62mm OD x 14mm W

1шт.

17

SBA322342201

GEAR

Slide, A

1шт.

18

SBA064600016

PLUG

M16

1шт.

19

SBA025100016

WASHER,16.4mm ID x 27mm OD x 2mm Thk

Seal

1шт.

20

SBA010700630

BOLT

2шт.

21

SBA010700630

BOLT

2шт.

22

SBA050203118

SEAL

Oil

1шт.

23

SBA324203000

ARM

Shift

1шт.

24

SBA324412630

SHIFTER FORK

1шт.

25

SBA399612131

PIN

2шт.

26

412660

PIN,6mm OD x 45mm L, Slotted

1шт.

27

SBA322560310

GEAR SHAFT

1шт.

28

SBA322118380

CASE

FWD Drop Box

1шт.

29

20996680

BALL BEARING,25mm ID x 62mm OD x 17mm W

1шт.

30

SBA322382930

GEAR

Counter, B

1шт.

31

SBA322372190

GEAR

Counter, A

1шт.

32

SBA042209017

NEEDLE BEARING

2шт.

33

SBA399261790

THRUST WASHER

2шт.

34

370006

SNAP RING,M40, Ext

1шт.

35

SBA399235800

COLLAR

1шт.

36

SBA322326500

GEAR

Fixing, A

1шт.

37

SBA030501025

BALL STUD,M10 x 25 L

BALL PIN

2шт.

38

140028

WASHER,10.2mm ID x 18.1mm OD x 2.2mm Thk

Spring

2шт.

39

SBA011511030

CAPTIVE WASHER SCREW,Hex, M10 x 30, G5

5шт.

Выбрано товаров: 39