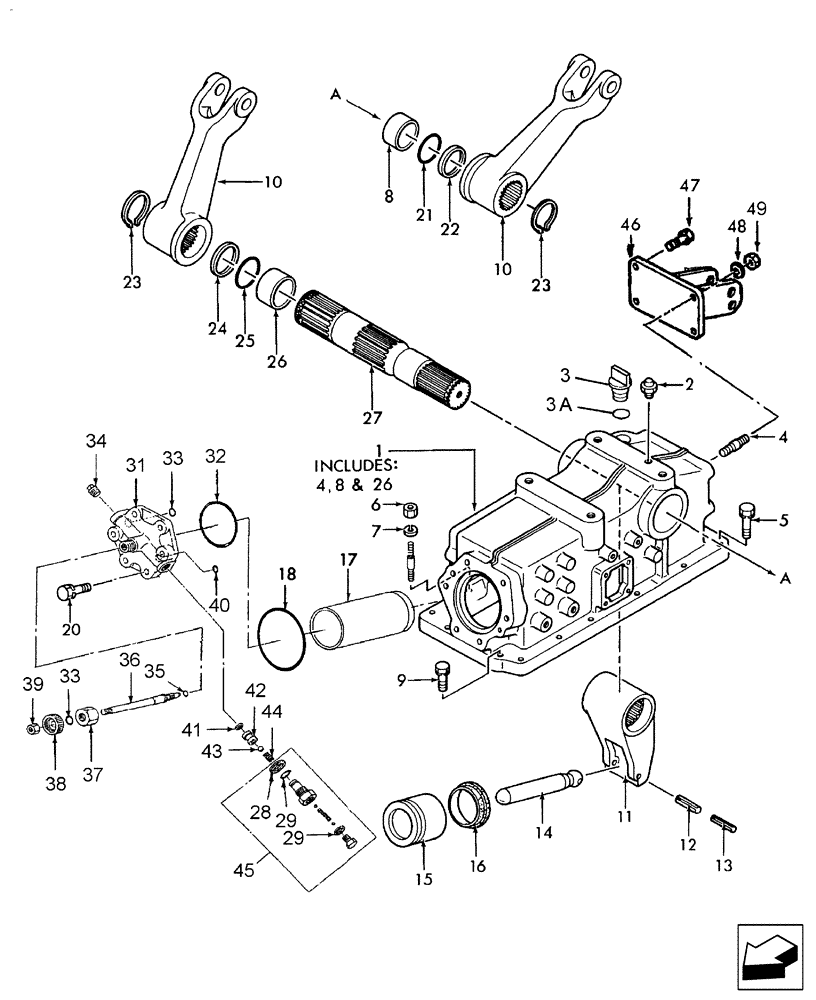
Запчасти Case IH DX55 (07.01) - LIFT COVER & ARMS (07) - HYDRAULIC SYSTEM

Схема запчастей Case IH DX55 - (07.01) - LIFT COVER & ARMS (07) - HYDRAULIC SYSTEM
35
23
9
12
20
26
10
17
14
7
45
15
42
21
31
16
48
36
44
22
32
41
6
1
34
13
11
33
8
47
38
4
39
43
46
3a
18
5
40
33
25
29
28
29
4
27
10
3
23
26
37
49
2
24
8
FIT
1:1
100%

Артикул

Название

Примечание

Количество

1

SBA344081430

CASING

Hyd

1шт.

2

SBA340710030

BREATHER

1шт.

3

SBA398430560

PLUG

Hydraulic Oil Filler

1шт.

3a

SBA052100280

O-RING

1шт.

4

SBA012111235

STUD

1шт.

5

SBA011511040

BOLT,M10 x 40

6шт.

6

SBA021010010

NUT,M10 x 1.25

3шт.

7

892-11010

LOCK WASHER,M10

3шт.

8

SBA398510550

DRIVE BUSHING

1шт.

9

SBA011511035

BOLT,M10 x 35

7шт.

10

SBA344110850

LIFT ARM

2шт.

11

SBA344810230

ARM

Hydraulic

1шт.

12

86977791

LOCK PIN,M8 x 45, Slotted

1шт.

13

SBA030300545

COILED PIN

Spring

1шт.

14

SBA344770053

ROD

Piston

1шт.

15

SBA344760300

PISTON

1шт.

16

SBA050309060

SEAL

Oil

1шт.

17

SBA344790370

LINER

Cylinder

1шт.

18

SBA052301050

O-RING

G105

1шт.

20

SBA011511240

BOLT,M12 x 40

6шт.

21

SBA052300550

O-RING

1шт.

22

SBA399211200

SPACER

1шт.

23

SBA036100055

SNAP RING

2шт.

24

SBA399211260

SPACER

1шт.

25

SBA052300600

O-RING,G60

1шт.

26

SBA398510950

DRIVE BUSHING

1шт.

27

SBA344830331

SHAFT

Hydraulic

1шт.

28

SBA398112140

SEAL

1шт.

29

SBA052109076

O-RING,2.4mm Thk x 10.8mm ID

1/2шт.

(1) Used W/SBA340015700 & (2) Used W/SBA340016560

1шт.

31

SBA344711420

CYLINDER HEAD

1шт.

32

SBA052310800

O-RING

1шт.

33

SBA052110120

O-RING

2шт.

34

SBA064500030

PLUG,3/8"

1шт.

35

SBA052110070

O-RING

1шт.

36

SBA340170650

HYDRAULIC VALVE

1шт.

37

SBA340190340

GUIDE

1шт.

38

SBA398180332

HANDLE GRIP

1шт.

39

100016

NUT,M10 x 1.5, Cl 8

1шт.

40

SBA052100080

O-RING

1шт.

41

SBA340990150

GASKET

1шт.

42

SBA340190130

GUIDE

1шт.

43

SBA048100011

BALL

Steel

1шт.

44

SBA398211860

SPRING

1шт.

45

SBA340016560

HYDRAULIC VALVE

Includes: Ref. 28 & 29

1шт.

46

SBA370300860

BRACKET

BRACKET, TOP LINK

1шт.

47

SBA011511235

BOLT,M12 x 35

5шт.

48

412123

LOCK WASHER,13.1mm ID x 21.1mm OD x 2.55mm Thk

1шт.

49

330327

NUT,M12 x 1.5, Cl 8

1шт.

Выбрано товаров: 49