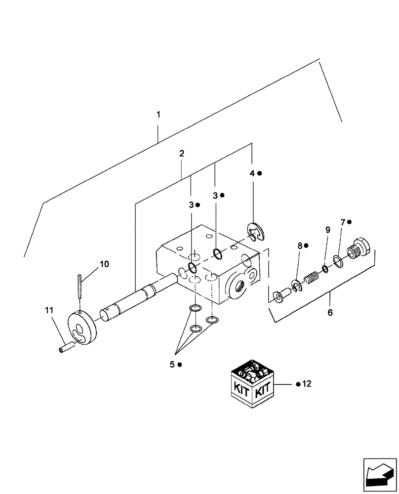
Запчасти Case IH DX55 (07.05) - SSS CONTROL VALVE (07) - HYDRAULIC SYSTEM

Схема запчастей Case IH DX55 - (07.05) - SSS CONTROL VALVE (07) - HYDRAULIC SYSTEM
10
9
1
3
12
2
8
7
11
4
6
3
5
FIT
1:1
100%

Артикул

Название

Примечание

Количество

1

SBA340016451

HYDRAULIC VALVE

PTO

1шт.

2

SBA340293765

REPAIR KIT

Valve

1шт.

3

NSS

NOT SOLD SEPARAT

O-Ring

2шт.

4

NSS

NOT SOLD SEPARAT

E-Ring

1шт.

5

NSS

NOT SOLD SEPARAT

O-Ring

3шт.

6

SBA340293764

REPAIR KIT

Relief Valve

1шт.

7

NSS

NOT SOLD SEPARAT

O-Ring

1шт.

8

NSS

NOT SOLD SEPARAT

E-Ring

1шт.

9

SBA340293803

SHIM

1шт.

10

SBA030300536

SPINDLE

Spring Pin

1шт.

11

SBA030300822

PIN

Spring

1шт.

12

SBA340293763

REPAIR KIT

1шт.

Выбрано товаров: 12