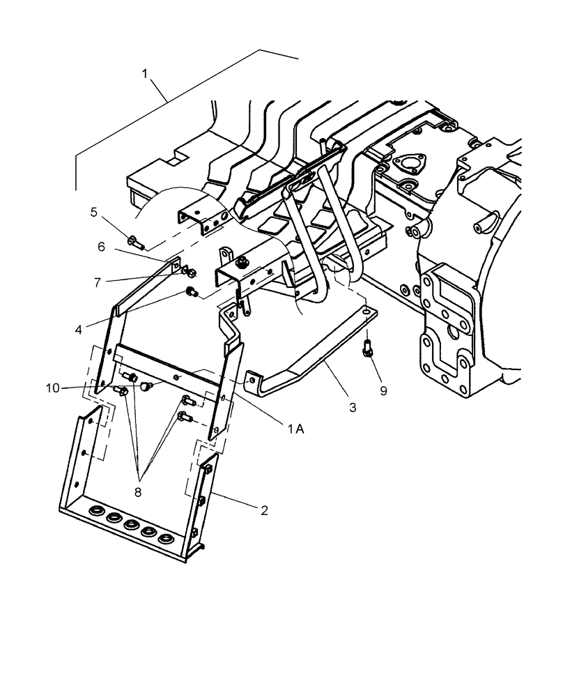
Запчасти Case IH DX55 (10.03) - STEP KIT - 718709076 (10) - OPERATORS PLATFORM/CAB

Схема запчастей Case IH DX55 - (10.03) - STEP KIT - 718709076 (10) - OPERATORS PLATFORM/CAB
2
1a
10
7
4
8
1
9
3
5
6
FIT
1:1
100%

Артикул

Название

Примечание

Количество

1

718709076

DIA KIT, ADD PROD

Right Hand Step Includes: Ref. 1A-10

1шт.

1a

SBA355605600

STEP

1шт.

2

SBA355605540

STEP

1шт.

3

SBA355520870

SUPPORT

1шт.

4

SBA011510816

BOLT

M8 x 16

1шт.

5

43127

BOLT,Hex, M8 x 1.25 x 25mm, Cl 8.8

1шт.

6

E630153S71

LOCK WASHER,M8

1шт.

7

9706690

NUT,M8 x 1.25, Cl 8

1шт.

8

SBA010800816

BOLT

M8 x 16

4шт.

9

SBA011511025

CAPTIVE WASHER SCREW,Hex, M10 x 25, G5

1шт.

10

SBA011510820

CAPTIVE WASHER SCREW,Hex, M8 x 20, G5

1шт.

Выбрано товаров: 11