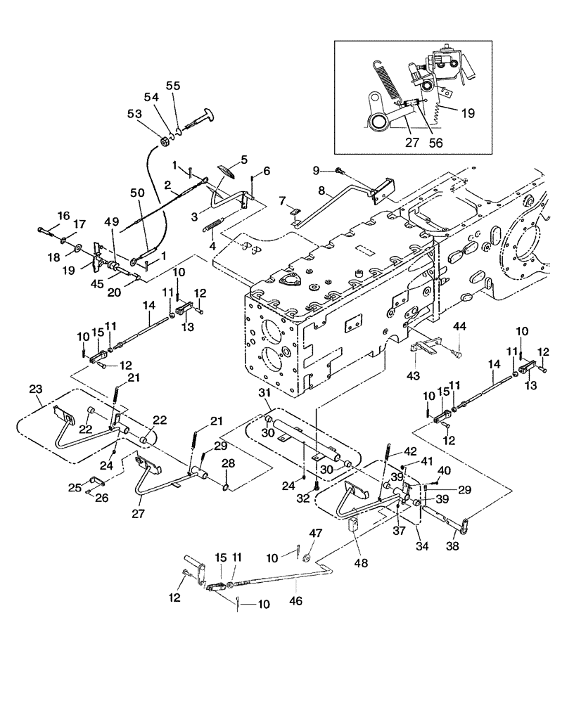
Запчасти Case IH DX55 (03.01.01) - PEDAL & BRAKE LOCK - SSS (03) - TRANSMISSION

Схема запчастей Case IH DX55 - (03.01.01) - PEDAL & BRAKE LOCK - SSS (03) - TRANSMISSION
43
2
10
1
38
12
32
50
19
29
15
21
24
16
31
53
23
28
4
13
22
25
3
55
10
12
18
15
11
7
5
8
11
21
12
15
12
10
9
6
1
47
40
11
27
20
19
30
56
10
49
44
22
29
39
14
13
39
26
17
46
11
41
11
54
34
1
30
48
27
12
45
37
24
14
42
10
FIT
1:1
100%

Артикул

Название

Примечание

Количество

1

SBA030102020

COTTER PIN

3шт.

2

SBA312070760

WIRE

Foot Throttle Cable

1шт.

3

SBA312600540

PEDAL

Accelerator

1шт.

4

SBA398211830

SPRING

1шт.

5

SBA398119901

RUBBER PEDAL PAD

Replaced by SBA398119902 Rubber Pedal & SBA398122990 Rubber

1шт.

5

SBA398119902

RUBBER PEDAL PAD

Rubber, Pedal

1шт.

5a

SBA398122990

RUBBER PAD

Rubber

1шт.

Not Illustrated

1шт.

Fits Between Ref. 3 & 5

1шт.

6

SBA030102520

COTTER PIN

1шт.

7

SBA398114050

COVER

1шт.

8

SBA326501280

PEDAL

Difflock

1шт.

9

SBA011511020

BOLT,M10 x 20

2шт.

10

SBA030103225

COTTER PIN,M3 x 25 L

4шт.

11

100016

NUT,M10 x 1.5, Cl 8

2шт.

12

SBA031311020

PIN

4шт.

13

SBA358550100

CLEVIS

Fork Joint

2шт.

14

SBA358510740

ROD

2шт.

15

SBA358550110

CLEVIS

Fork Joint

2шт.

16

120075

BOLT,M10 x 1.5 x 106.58mm, Cl 8.8

1шт.

17

140028

WASHER,10.2mm ID x 18.1mm OD x 2.2mm Thk

1шт.

18

SBA026109023

WASHER

1шт.

19

SBA358300802

LOCK

Brake

1шт.

20

SBA398212640

SPRING

1шт.

21

SBA398210290

SPRING

2шт.

22

SBA398511460

DRIVE BUSHING

1шт.

23

SBA358012330

PEDAL ASSY.

R, Note: Rubber pad is NSS.

1шт.

24

SBA060610000

LUBE NIPPLE,M6 x .075

2шт.

25

SBA399581460

LEVER

1шт.

26

SBA030300822

PIN

Spring

1шт.

27

SBA358105160

PEDAL

L

1шт.

28

SBA199280490

SHIM,0.5mm Thk

(.020")

1шт.

29

SBA030300840

ROLL PIN

2шт.

30

SBA398511460

DRIVE BUSHING

2шт.

31

SBA358020740

SUPPORT ASSY.

1шт.

32

SBA011511025

CAPTIVE WASHER SCREW,Hex, M10 x 25, G5

4шт.

34

SBA358012390

PEDAL ASSY.

1шт.

35

9824259

WASHER,6.4mm ID x 12mm OD x 1.6mm Thk

1шт.

36

SBA031310615

PIN

1шт.

37

SBA060610000

LUBE NIPPLE,M6 x .075

1шт.

38

SBA358200960

SHAFT

Pedal

1шт.

39

SBA398511460

DRIVE BUSHING

2шт.

40

43139

BOLT,M10 x 1.5 x 25mm, Cl 8.8

1шт.

41

100016

NUT,M10 x 1.5, Cl 8

1шт.

42

SBA398210290

SPRING

2шт.

43

SBA358160290

STOP

1шт.

44

SBA011510820

CAPTIVE WASHER SCREW,Hex, M8 x 20, G5

2шт.

45

SBA399233220

COLLAR

1шт.

46

SBA358510561

ROD

Clutch

1шт.

47

86511323

WASHER,10.5mm ID x 20mm OD x 2mm Thk

1шт.

48

SBA395700081

SPACER

Pedal

1шт.

49

SBA398216200

SPRING

1шт.

50

SBA312070840

CABLE

1шт.

53

SBA020800014

NUT,M14 x 1.5

2шт.

54

SBA027100014

SPRING

M14

1шт.

55

SBA026100014

WASHER

M14

2шт.

56

SBA398216251

SPRING

Spring

1шт.

Выбрано товаров: 57