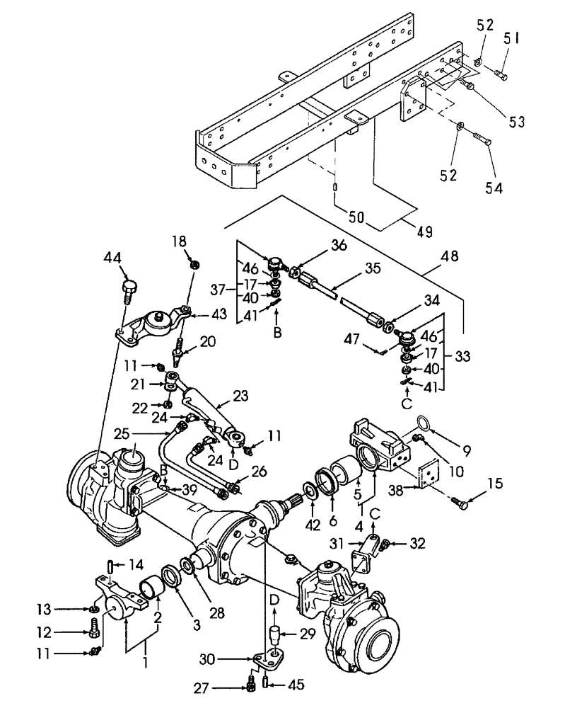
Запчасти Case IH DX55 (04.01) - FRONT AXLE & STEERING W/FWD (04) - FRONT AXLE & STEERING

Схема запчастей Case IH DX55 - (04.01) - FRONT AXLE & STEERING W/FWD (04) - FRONT AXLE & STEERING
48
53
39
52
38
43
10
27
20
47
25
54
40
44
28
41
33
45
21
50
42
17
18
23
29
24
34
40
37
52
12
5
11
26
6
9
4
30
11
46
22
15
35
36
14
3
11
2
13
1
49
17
41
31
51
32
46
24
FIT
1:1
100%

Артикул

Название

Примечание

Количество

1

SBA322018010

CASING

1шт.

2

SBA398510990

BUSHING

1шт.

3

SBA050309056

SEAL

Oil

1шт.

4

SBA322018100

CASING

1шт.

5

SBA398510190

BUSHING

1шт.

6

SBA050309064

SEAL

Oil

1шт.

9

SBA052300450

O-RING

1шт.

10

80717

LUBE NIPPLE,45 Degree, 1/8" NPT x 7/8" lg

1шт.

11

SBA060620000

LUBE NIPPLE

3шт.

12

385922

BOLT,Hex, M16 x 2 x 45mm, Cl 8.8

2шт.

13

86729275

LOCK WASHER,5/8 0.634 CST ZND

3шт.

14

SBA030501025

BALL STUD,M10 x 25 L

BALL PIN

1шт.

15

SBA010109305

BOLT

6шт.

17

SBA334810050

CUP

Dust Cover

2шт.

18

SBA022509001

NUT,U, M20 x 1.5. Cl 8

1шт.

20

SBA399612081

PIN

1шт.

21

SBA399210710

WASHER

1шт.

22

SBA022409003

NUT,U, M16 x 1.5, Cl 8

1шт.

23

SBA344953140

STEERING CYLINDER

Hydraulic Refer to Fig. 04.01.01 for components

1шт.

23

SBA344953141R

REMAN-HYD CYLINDER

DX55 PIN # Z7NFS1037 & ABOVE, DX60 PIN # Z6NFF1001, Both 4 CYL COMPACT TRACTOR W/ROPS, Hydraulic (2/07-), Reman for New PN SBA344953140

1шт.

23

SBA344953141C

CORE-HYD CYLINDER

Return Number

1шт.

24

SBA340670290

ADAPTER

2шт.

25

SBA340690050

FLEXIBLE HOSE

Oil

1шт.

26

SBA340690160

HOSE

Oil

1шт.

27

SBA011511230

BOLT,M12 x 30

2шт.

28

SBA399261980

THRUST WASHER

1шт.

29

SBA399612110

PIN

1шт.

30

SBA334660690

PLATE

1шт.

31

SBA334600631

STEERING KNUCKLE

Arm, L.H.

1шт.

32

SBA011511235

BOLT,M12 x 35

12шт.

33

SBA334800601

TIE-ROD

TIE ROD L.H.

1шт.

34

SBA020109042

NUT

L.H. Threads

1шт.

35

SBA334704241

LINK

1шт.

36

320771

NUT,Thin, M20 x 1.5, Cl 04

1шт.

37

SBA334800611

TIE-ROD

TIE ROD R.H.

1шт.

38

SBA330012130

SUPPORT

Front Axle

1шт.

39

SBA334600651

STEERING KNUCKLE

Arm, R.H.

1шт.

40

SBA334810060

NUT

Castle

2шт.

41

SBA030104030

COTTER PIN

2шт.

42

SBA399262000

THRUST WASHER

1шт.

43

SBA334525280

ARM

R.H.

1шт.

44

SBA010109368

BOLT

R.H.

4шт.

45

SBA030501032

PIN

1шт.

46

SBA036100055

SNAP RING

2шт.

47

SBA060610000

LUBE NIPPLE,M6 x .075

2шт.

48

SBA334074010

LIFT LINK

Link Assy

1шт.

49

SBA330012150

SUPPORT

Front Axle

1шт.

50

SBA030501025

BALL STUD,M10 x 25 L

BALL PIN

2шт.

51

SBA010109552

BOLT

2шт.

52

80280248

LOCK WASHER

8шт.

53

SBA010109305

BOLT

12шт.

54

SBA010431465

BOLT

4шт.

Выбрано товаров: 52