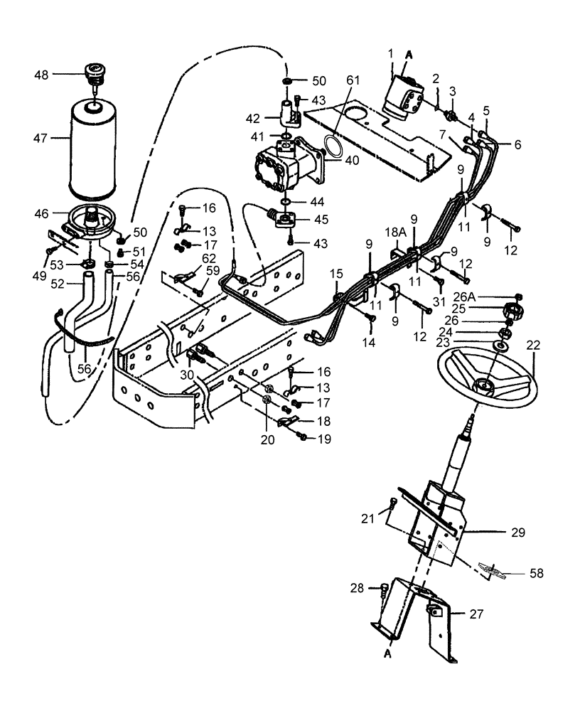
Запчасти Case IH DX55 (04.02) - STEERING COLUMN, GEARBOX & PIPING (04) - FRONT AXLE & STEERING

Схема запчастей Case IH DX55 - (04.02) - STEERING COLUMN, GEARBOX & PIPING (04) - FRONT AXLE & STEERING
23
43
9
20
6
50
7
48
4
13
16
56
9
27
25
21
46
29
1
58
18a
9
9
53
43
18
13
52
16
17
28
26a
40
24
2
22
17
50
9
14
12
26
42
45
11
44
51
5
41
12
9
15
61
3
59
11
19
31
30
12
54
56
62
49
47
11
FIT
1:1
100%

Артикул

Название

Примечание

Количество

1

SBA334011240

STEERING ASSY

1шт.

2

SBA052100140

O-RING

3шт.

3

SBA340671220

ADAPTER

3шт.

4

SBA340550360

PIPE

Oil, Return, Serial Range: Line-Tank

1шт.

5

SBA340709630

PIPE

Oil, Left Turn Line

1шт.

6

SBA340709640

PIPE

Oil, Right Turn Line

1шт.

7

SBA340550370

PIPE

Oil, Pressure Line

1шт.

9

SBA399112130

CLAMP

6шт.

11

SBA398115630

CLAMP

3шт.

12

SBA011310650

BOLT

M6 x 50

3шт.

13

SBA399112750

CLAMP

2шт.

14

SBA011510820

CAPTIVE WASHER SCREW,Hex, M8 x 20, G5

1шт.

18

SBA399113471

CLAMP

CLAMP

2шт.

15

SBA399113540

CLAMP

1шт.

16

SBA011310612

CAPTIVE WASHER SCREW,Hex, M6 x 12, Cl 8.8

2шт.

17

SBA198516390

RUBBER BUSHING

4шт.

18a

SBA399102210

CLAMP

1шт.

19

SBA011510816

BOLT

M8 x 16

2шт.

20

86508817

NUT,M14, Cl 8

2шт.

21

SBA011611025

BOLT

M10 x 25

4шт.

22

SBA334310210

STEERING WHEEL

1шт.

23

80280248

LOCK WASHER

1шт.

24

SBA020800014

NUT,M14 x 1.5

1шт.

25

SBA334320171

CAP

1шт.

26

SBA020109125

NUT,M8, LH Thd

1шт.

26a

SBA022409009

NUT

M8 U-nut

1шт.

27

SBA334451090

PLATE

Set

1шт.

28

SBA011810816

BOLT

M8 x 16

4шт.

29

SBA334040440

STEERING COLUMN

1шт.

30

SBA340671381

ADAPTER

2шт.

40

SBA340451020

HYDRAULIC PUMP

8.8CC Power Steering

1шт.

SBA340451020R

REMAN-HYD PUMP

DX55 PIN # Z7NFS1037 & ABOVE, DX60 PIN # Z6NFF1001 ALL W/ROPS (2/07-)

1шт.

SBA340451020C

CORE-HYDRAULIC PUMP

Return Number

1шт.

41

SBA052100200

O-RING,2.4mm Thk x 19.8mm ID, 70 Duro

1шт.

42

SBA340621610

FLANGE

1шт.

43

SBA011310625

CAPTIVE WASHER SCREW,Hex, M6 x 25, Cl 8.8

5шт.

44

SBA052110200

O-RING,2.4mm Thk x 19.8mm ID, 90 Duro

1шт.

45

SBA340620850

FLANGE

1шт.

46

SBA340621060

PLATE

1шт.

47

SBA360101470

FILTER ASSY

Power Steering

1шт.

48

SBA398430520

DIPSTICK

1шт.

48

SBA398430521

DIPSTICK

1шт.

USED ON & ABOVE PIN Z8NFP1009-DX55 W/SSS,Z8NFS1015-DX55 W/EHSS,Z8NFE1001-DX60 W/SSS,Z8NFF1002-DX60 W/EHSS

1шт.

49

SBA011510820

CAPTIVE WASHER SCREW,Hex, M8 x 20, G5

2шт.

50

SBA025100008

SEALING WASHER,7.3mm ID x 14mm OD x 1.8mm Thk

M8

1шт.

51

SBA010800812

BOLT

M8 x 12

1шт.

52

SBA340693000

HOSE

Oil

1шт.

53

SBA398750420

HOSE CLAMP

2шт.

54

SBA398750430

BAND

2шт.

55

SBA340693190

RIGID TUBE

1шт.

56

SBA360771290

TUBE

1шт.

57

PL

PROCURE LOCALLY

Band

1шт.

59

SBA011510835

BOLT

M8 x 35

1шт.

61

SBA052300600

O-RING,G60

1шт.

62

SBA399102260

CLAMP

1шт.

Выбрано товаров: 55