Запчасти Case IH DX55 (04.03.03) - MANIFOLD DIVERTER BLOCK - EHSS - SBA340016440 (04) - FRONT AXLE & STEERING

Схема запчастей Case IH DX55 - (04.03.03) - MANIFOLD DIVERTER BLOCK - EHSS - SBA340016440 (04) - FRONT AXLE & STEERING
15
3
5
7
6
4
10
8
1
11
9
2
6
14
6
13
12
FIT
1:1
100%

Артикул

Название

Примечание

Количество

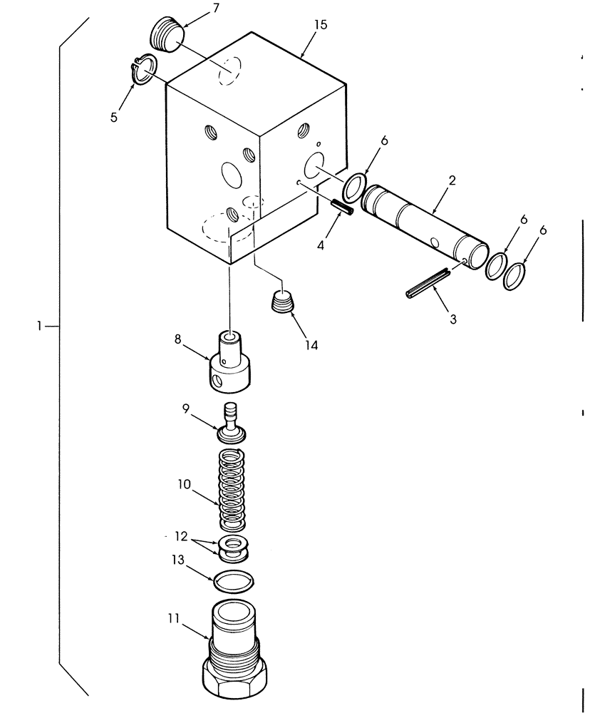
1

SBA340016440

VALVE

Diverter Manifold Block Includes: Ref. 2 - 23

1шт.

2

NSS

NOT SOLD SEPARAT

Spool

1шт.

3

SBA030300220

ROLL PIN

1шт.

4

SBA030300310

ROLL PIN

2шт.

5

SBA036100013

SNAP RING

1шт.

6

SBA052100100

O-RING

P10

3шт.

7

SBA064409005

PLUG,3/8"-18 NPTF

3шт.

8

SBA340293539

SUMP

Housing, Relief

1шт.

9

SBA340293540

HYDRAULIC VALVE

Poppet

1шт.

10

SBA340293541

SPRING

1шт.

11

SBA340293332

PLUG

1шт.

12

SBA340293230

KIT

1шт.

13

SBA052400180

O-RING

O-Ring, S18

1шт.

14

SBA064409006

PLUG,1/8" NPT

1шт.

15

NSS

NOT SOLD SEPARAT

Body

1шт.

Выбрано товаров: 15