Запчасти Case IH DX55 (04.05) - POWER STEERING CASE (04) - FRONT AXLE & STEERING

Схема запчастей Case IH DX55 - (04.05) - POWER STEERING CASE (04) - FRONT AXLE & STEERING
9
2
21
6
8
14
22
7
17
16
20
9
12a
23
19
10
12a
18
3
15
11
12
4
6
5
13
1a
1
FIT
1:1
100%

Артикул

Название

Примечание

Количество

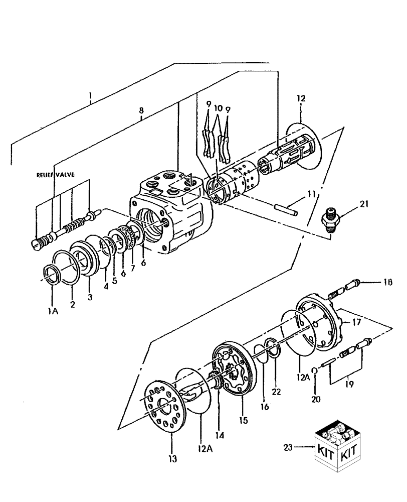
1

SBA334011240

STEERING ASSY

1шт.

1a

NSS

NOT SOLD SEPARAT

Dust Seal

1шт.

2

NSS

NOT SOLD SEPARAT

Retaining

1шт.

3

NSS

NOT SOLD SEPARAT

Bushing, Seal Gland

1шт.

4

NSS

NOT SOLD SEPARAT

O-Ring

1шт.

5

NSS

NOT SOLD SEPARAT

Oil Seal

1шт.

6

NSS

NOT SOLD SEPARAT

Bearing, Race

2шт.

7

NSS

NOT SOLD SEPARAT

Thrust Needle

1шт.

8

NSS

NOT SOLD SEPARAT

Connector

1шт.

9

NSS

NOT SOLD SEPARAT

Spring, Centering

4шт.

10

NSS

NOT SOLD SEPARAT

Spring, Flat

2шт.

11

NSS

NOT SOLD SEPARAT

Pin

1шт.

12

NSS

NOT SOLD SEPARAT

O-Ring

1шт.

12a

NSS

NOT SOLD SEPARAT

O-Ring

2шт.

13

NSS

NOT SOLD SEPARAT

Spacer

1шт.

14

NSS

NOT SOLD SEPARAT

Drive

1шт.

15

NSS

NOT SOLD SEPARAT

Gerotor Set

1шт.

16

NSS

NOT SOLD SEPARAT

O-Ring

1шт.

17

NSS

NOT SOLD SEPARAT

End Cap

1шт.

18

NSS

NOT SOLD SEPARAT

Screw

6шт.

19

NSS

NOT SOLD SEPARAT

Screw

1шт.

20

NSS

NOT SOLD SEPARAT

Retainer Screw Assy

1шт.

21

SBA334293134

HYD CONNECTOR

1шт.

22

NSS

NOT SOLD SEPARAT

Plug

1шт.

23

SBA334293128

SEAL KIT

1шт.

Выбрано товаров: 0