Запчасти Case IH DX55 (01.04) - CRANKSHAFT & PISTONS (01) - ENGINE

Схема запчастей Case IH DX55 - (01.04) - CRANKSHAFT & PISTONS (01) - ENGINE
7
29
35
28
18
13
19
31
23
12
11
9
7
14
15
11
8
19
33
12
36
1
25
30
27
32
22
6
10
6
24
11
14
14
21
6
6
11
16
7
26
12
12
17
20
5
FIT
1:1
100%

Артикул

Название

Примечание

Количество

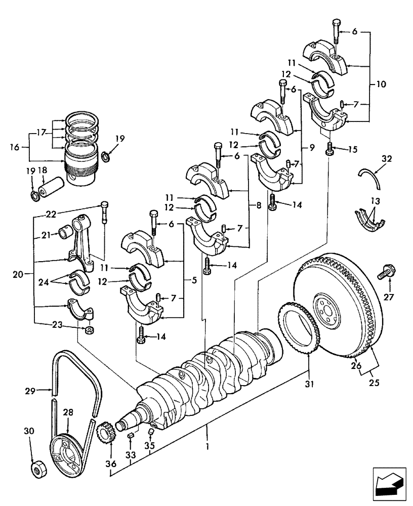
1

SBA115256840

CRANKSHAFT

Includes: Ref. 30, 31, 33, 35 & 36

1шт.

1

SBA115256841R

REMAN-CRANKSHAFT

DX55 EHSS COMPACT TRACTOR - SN CX10004-CX10083, HDG600084-Z6NFC1001 & ABOVE (10/03-), Reman for New PN SBA115256840

1шт.

1

SBA115256841C

CORE-CRANKSHAFT

Return Number

1шт.

1

SBA115256841

CRANKSHAFT

Kit, Includes: Balancer Gear, Crankshaft Gear & Dowel Pins

1шт.

USED ON & ABOVE PIN # HDG600424

1шт.

1

SBA115256841R

REMAN-CRANKSHAFT

DX55 EHSS COMPACT TRACTOR - SN CX10004-CX10083, HDG600084-Z6NFC1001 & ABOVE, USED ON & ABOVE PIN # HDG600424, Kit, Includes: Balancer Gear, Crankshaft Gear & Dowel Pins (10/03-)

1шт.

1

SBA115256841C

CORE-CRANKSHAFT

Return Number

1шт.

5

SBA110156360

HOLDER

Bearing

1шт.

6

SBA010109406

BOLT

8шт.

7

SBA030500612

DOWEL

8шт.

8

SBA110156370

BEARING CAP

Bearing

1шт.

9

SBA110156380

BEARING CAP

Bearing

1шт.

10

SBA110156390

BEARING CAP

Bearing

1шт.

11

SBA198517230

LINER

Bearing, Standard, Upper

4шт.

12

SBA198517240

LINER

Bearing, Standard, Lower

4шт.

13

SBA199266200

THRUST WASHER

2шт.

14

SBA011511070

BOLT,M10 x 70

3шт.

15

SBA010700860

BOLT

M8 x 60

2шт.

16

SBA115017581

PISTON & RINGS KIT

4шт.

17

SBA115104021

PISTON RINGS KIT

4шт.

18

SBA115326220

PISTON PIN,33mm OD

4шт.

19

301642

SNAP RING,M28, Int

8шт.

20

SBA115026330

CONNECTING ROD

4шт.

SBA115026330R

REMAN-CONNECTING ROD

DX55 EHSS SN CX10004-CX10083, HDG600084-Z6NFC1001 & Above (10/03)

4шт.

SBA115026330C

CORE-ROD CONNECTING

Return Number

1шт.

21

SBA198517260

BUSHING

4шт.

22

SBA115176140

BOLT

Connecting Rod

8шт.

23

SBA020109120

NUT

8шт.

24

SBA198517250

LINER

Bearing, Standard, Serial Range: -24 8 SBA198517252 B

8шт.

25

SBA115357960

FLYWHEEL

1шт.

Not Included in Long Block

1шт.

26

SBA115376160

RING GEAR

1шт.

Not Included in Long Block

1шт.

27

SBA010109341

BOLT

6шт.

Not Included in Long Block

1шт.

28

SBA115397960

PULLEY

Crankshaft

1шт.

29

86517954

V-BELT,0.50" W x 37.54" L

Fan

1шт.

Not Included in Long Block

1шт.

30

SBA020109086

NUT

1шт.

31

SBA165416450

GEAR

Balancer

1шт.

USED BELOW PIN # HDG600424

1шт.

32

SBA199266210

THRUST WASHER

1шт.

33

SBA034100508

KEY

1шт.

35

SBA030509020

PIN

Dowel

1шт.

36

SBA115276270

GEAR

Crankshaft

1шт.

Выбрано товаров: 45