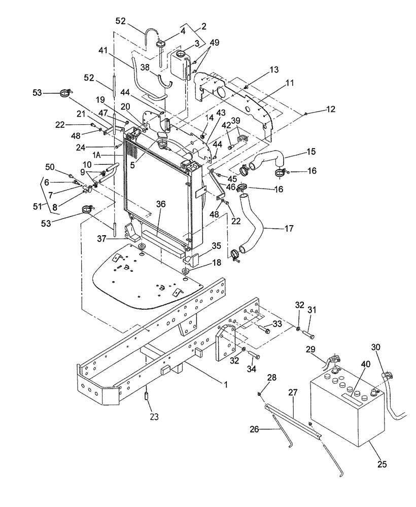
Запчасти Case IH DX55 (02.01.01) - RADIATOR & BATTERY - ON & ABOVE PIN HDG600483 (02) - ENGINE EQUIPMENT

Схема запчастей Case IH DX55 - (02.01.01) - RADIATOR & BATTERY - ON & ABOVE PIN HDG600483 (02) - ENGINE EQUIPMENT
43
27
21
16
37
18
5
42
6
16
12
25
19
14
22
52
34
20
9
39
2
33
41
26
1
25
52
48
32
38
44
23
17
4
13
3
51
31
1a
15
47
40
30
10
50
28
36
48
46
11
29
49
7
53
32
24
8
45
22
44
53
FIT
1:1
100%

Артикул

Название

Примечание

Количество

1

SBA330012140

SUPPORT

Front Axle

1шт.

1a

SBA310101130

RADIATOR

1шт.

2

SBA310550110

TANK

Reserve Tank

1шт.

3

SBA310560050

RESERVOIR

Tank

1шт.

4

SBA310110190

CAP COVER

Tank

1шт.

5

SBA310110230

CAP COVER

Radiator

1шт.

6

SBA310130270

DRAIN PLUG

Plug, Drain

1шт.

7

SBA052100040

O-RING

1шт.

8

SBA310750060

DRAINCOCK/TAP SUPPLY

Cock, Drain

1шт.

9

SBA067100015

HOSE CLAMP

2шт.

10

SBA360770160

RIGID TUBE

Hose

1шт.

11

SBA398122340

RUBBER SEAL

Rubber

1шт.

12

SBA398340340

CLIP

2шт.

13

SBA398340240

CLIP

9шт.

14

SBA398113730

SUPPORT

1шт.

15

SBA310161830

HOSE

Hose, Radiator

1шт.

16

SBA067100043

BAND

Hose

4шт.

17

SBA310161890

HOSE

Hose, Radiator

1шт.

18

SBA398119670

RUBBER BUSHING

2шт.

19

SBA026109009

WASHER

1шт.

20

SBA022400006

NUT

M6

2шт.

21

SBA310311470

BRACKET, SUPPORTING

Stay, RH Radiator

1шт.

22

SBA011510820

CAPTIVE WASHER SCREW,Hex, M8 x 20, G5

2шт.

23

SBA030501025

BALL STUD,M10 x 25 L

BALL PIN

1шт.

24

SBA010800630

BOLT

M6 x 30

1шт.

25

B2772W

WET BATTERY

United States

1шт.

25

CB2772W

WET BATTERY

Canada

1шт.

26

SBA389320140

ROD

Battery

2шт.

27

SBA389310011

BRACKET

Battery

1шт.

28

9804276

FLANGE NUT,Hex, M6 x 1, Cl 8

2шт.

29

SBA385650450

CABLE

1шт.

30

SBA385650800

CABLE

1шт.

31

SBA010109552

BOLT

2шт.

32

SBA027100014

SPRING

Washer

8шт.

33

SBA010109305

BOLT

12шт.

34

SBA010431465

BOLT

4шт.

35

SBA398136250

SEAL

PADDING

1шт.

36

SBA398136300

SEAL

PADDING

1шт.

37

SBA398136310

SEAL

PADDING

1шт.

38

SBA398121020

RUBBER

1шт.

39

SBA310311460

BRACKET, SUPPORTING

STAY, LH

1шт.

40

SBA390198870

DECAL

CAUTION PLATE

1шт.

41

SBA068109125

TUBE

Vinyl

1шт.

42

SBA011511025

CAPTIVE WASHER SCREW,Hex, M10 x 25, G5

1шт.

43

SBA310353630

BAFFLE

PLATE, BAFFLE

1шт.

44

SBA010800612

BOLT

M6 x 12

2шт.

45

SBA011510816

BOLT

M8 x 16

1шт.

46

SBA310311450

BRACKET, SUPPORTING

STAY, LH

1шт.

47

SBA011510812

CAPTIVE WASHER SCREW,Hex, M8 x 12, G5

1шт.

48

SBA026100008

WASHER

M8

2шт.

49

SBA010800612

BOLT

M6 x 12

2шт.

50

SBA010800816

BOLT

M8 x 16

1шт.

51

SBA310130260

DRAINCOCK/TAP SUPPLY

DRAIN COCK

1шт.

52

SBA068105710

HOSE

1шт.

USED BELOW PIN # HDG600734

1шт.

53

SBA398750220

CABLE TIE

CABLE STRAP

2шт.

USED BELOW PIN # HDG600734

1шт.

Выбрано товаров: 57