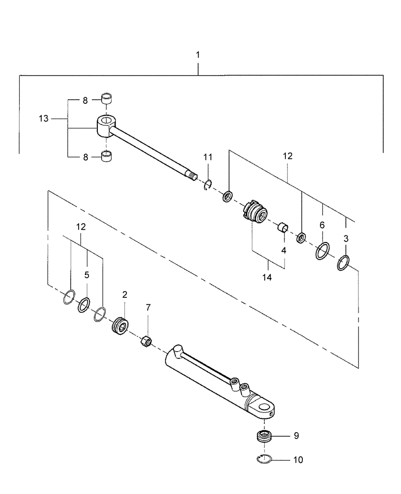
Запчасти Case IH DX55 (04.01.01) - FRONT AXLE & STEERING W/2WD (04) - FRONT AXLE & STEERING

Схема запчастей Case IH DX55 - (04.01.01) - FRONT AXLE & STEERING W/2WD (04) - FRONT AXLE & STEERING
3
8
8
1
12
4
11
5
10
13
9
2
14
12
7
6
FIT
1:1
100%

Артикул

Название

Примечание

Количество

1

SBA344953240

CYLINDER ASSY.

1шт.

2

NSS

NOT SOLD SEPARAT

PISTON

1шт.

3

NSS

NOT SOLD SEPARAT

O-RING

1шт.

4

SBA344960430

BUSHING

1шт.

5

NSS

NOT SOLD SEPARAT

O-RING

1шт.

6

NSS

NOT SOLD SEPARAT

O-RING

1шт.

7

SBA020910014

NUT

M14

1шт.

8

SBA344960433

BUSHING

ID .8770"/OD .9915

2шт.

9

SBA344960436

BEARING

Bushing

1шт.

10

SBA036500035

SNAP RING

1шт.

11

SBA344960438

SNAP RING

1шт.

12

SBA344960442

REPAIR KIT

Seal

1шт.

13

NSS

NOT SOLD SEPARAT

ROD

1шт.

14

SBA344960454

KIT

Head

1шт.

Выбрано товаров: 14